TOP
|
特許
|
意匠
|
商標
特許ウォッチ
Twitter
他の特許を見る
10個以上の画像は省略されています。
公開番号
2025144369
公報種別
公開特許公報(A)
公開日
2025-10-02
出願番号
2024044114
出願日
2024-03-19
発明の名称
電子装置
出願人
株式会社東芝
,
東芝デバイス&ストレージ株式会社
代理人
弁理士法人iX
主分類
H01J
37/147 20060101AFI20250925BHJP(基本的電気素子)
要約
【課題】絶縁層による貫通孔内の電界への影響を抑制できる電子装置を提供する。
【解決手段】実施形態によれば、電子装置は、基板と、絶縁層と、導電膜部と、延出部と、を含む。前記基板は、第1方向に延びる第1貫通孔が設けられる。前記絶縁層は、前記基板と積層され、第2貫通孔が設けられる。前記第2貫通孔は、前記第1方向において第1貫通孔と並び、前記第1貫通孔と連通し、前記第1方向に沿って見た場合に前記第1貫通孔に包含される。前記導電膜部は、前記第2貫通孔の内面に設けられる。前記延出部は、前記導電膜部から連続して第1貫通孔内に延び、前記基板及び前記絶縁層から離れ、導電性である。
【選択図】図1
特許請求の範囲
【請求項1】
第1方向に延びる第1貫通孔が設けられた基板と、
前記基板と積層され第2貫通孔が設けられた絶縁層であって、前記第2貫通孔は、前記第1貫通孔と連通し、前記第1方向に沿って見た場合に前記第1貫通孔に包含される、絶縁層と、
前記第2貫通孔の内面に設けられた導電膜部と、
前記導電膜部から連続して第1貫通孔内に延び、前記基板及び前記絶縁層から離れた導電性の延出部と、
を備えた電子装置。
続きを表示(約 1,200 文字)
【請求項2】
前記絶縁層は、前記基板側の第1面を有し、
前記第1面は、前記第1貫通孔内に露出する露出面を含み、
前記第1貫通孔の内面は、前記第1方向に沿って見た場合に前記第1貫通孔の中心と第2方向において離れた第1内面領域を含み、
前記延出部は、前記第1方向に沿って見た場合に前記第1内面領域と前記第1貫通孔の前記中心との間に位置する第1部分を含み、
前記露出面は、前記第2方向において前記第1部分と前記第1内面領域との間に位置する第1露出領域を含む、請求項1に記載の電子装置。
【請求項3】
前記第1方向に沿った断面において、前記第1部分が前記第1貫通孔内に延出する方向は、前記第1方向に対して傾斜する、請求項2に記載の電子装置。
【請求項4】
前記導電膜部は、第1膜部を含み、
前記第1部分は、前記第1膜部から連続して前記第1貫通孔内に延出し、
前記第1方向に沿った断面において、前記第1部分が前記第1膜部から前記第1貫通孔内に延出する方向は、前記第1膜部が延在する方向とは異なる、請求項2または3に記載の電子装置。
【請求項5】
前記第1方向に平行な直線と、前記第1膜部が延在する前記方向と、の成す角度は、前記直線と、前記第1部分が延出する前記方向と、の成す角度よりも大きい、請求項4に記載の電子装置。
【請求項6】
前記第1部分の前記第1方向に沿った長さは、前記第1露出領域の前記第2方向に沿った長さと同じ、または、前記第1露出領域の前記第2方向に沿った前記長さよりも長い、請求項2または3に記載の電子装置。
【請求項7】
前記第1部分の前記第1方向に沿った長さは、前記第1露出領域の前記第2方向に沿った長さよりも短い、請求項2または3に記載の電子装置。
【請求項8】
前記第1部分の厚さは、前記第1露出領域の前記第2方向に沿った長さよりも薄い、請求項2または3に記載の電子装置。
【請求項9】
前記第1方向に沿って見た場合に、前記第1貫通孔の中心は、前記第2貫通孔の中心と一致しない、請求項1~3のいずれか1つに記載の電子装置。
【請求項10】
前記第1貫通孔の内面は、前記第1内面領域から前記第2方向において離れた第2内面領域を含み、
前記延出部は、前記第1方向に沿って見た場合に前記第2内面領域と前記第1貫通孔の前記中心との間に位置する第2部分を含み、
前記露出面は、前記第2方向において前記第2部分と前記第2内面領域との間に位置する第2露出領域を含み、
前記第1露出領域の前記第2方向における長さは、前記第2露出領域の前記第2方向における長さと異なる、請求項2または3に記載の電子装置。
(【請求項11】以降は省略されています)
発明の詳細な説明
【技術分野】
【0001】
本発明の実施形態は、電子装置に関する。
続きを表示(約 1,900 文字)
【背景技術】
【0002】
貫通孔が設けられた絶縁層を有する電子装置がある。例えば、電子装置は、貫通孔内を通過する電子線の制御に用いられる。こうした電子装置において、絶縁層による貫通孔内の電界への影響を抑制することが望まれる。
【先行技術文献】
【特許文献】
【0003】
特開2021-068505号公報
【発明の概要】
【発明が解決しようとする課題】
【0004】
本発明の実施形態は、絶縁層による貫通孔内の電界への影響を抑制できる電子装置を提供する。
【課題を解決するための手段】
【0005】
本発明の実施形態によれば、電子装置は、基板と、絶縁層と、導電膜部と、延出部と、を含む。前記基板は、第1方向に延びる第1貫通孔が設けられる。前記絶縁層は、前記基板と積層され、第2貫通孔が設けられる。前記第2貫通孔は、前記第1貫通孔と連通し、前記第1方向に沿って見た場合に前記第1貫通孔に包含される。前記導電膜部は、前記第2貫通孔の内面に設けられる。前記延出部は、前記導電膜部から連続して第1貫通孔内に延び、前記基板及び前記絶縁層から離れ、導電性である。
【図面の簡単な説明】
【0006】
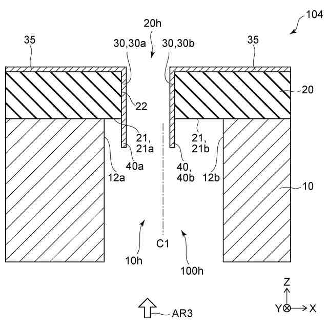
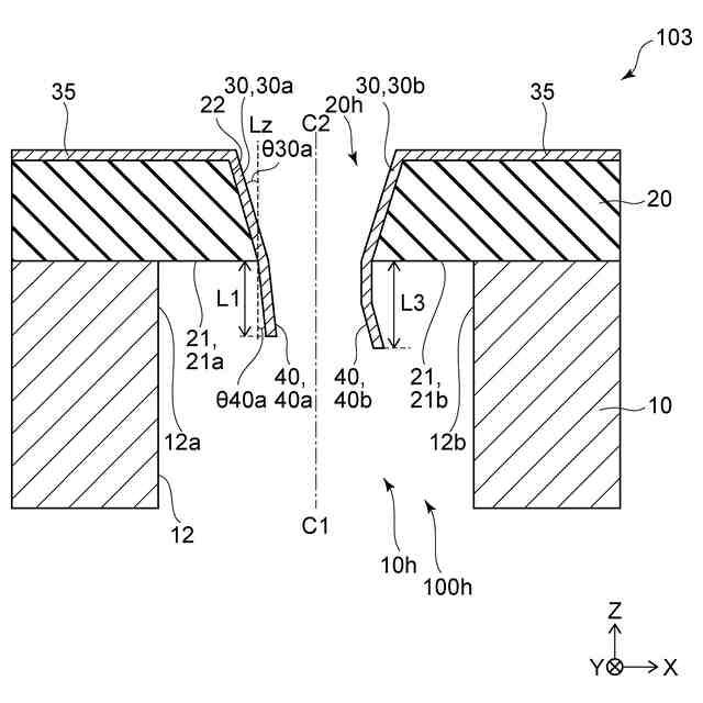
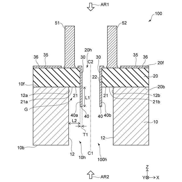
図1は、実施形態に係る電子装置を例示する模式的断面図である。
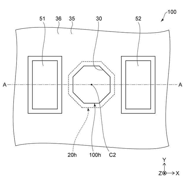
図2は、実施形態に係る電子装置を例示する模式的平面図である。
図3は、実施形態に係る電子装置を例示する模式的平面図である。
図4は、実施形態に係る電子装置を例示する模式的断面図である。
図5は、実施形態に係る電子装置を例示する模式的断面図である。
図6は、貫通孔内の電位のシミュレーション結果を例示するグラフ図である。
図7は、実施形態に係る電子装置を例示する模式的断面図である。
図8は、実施形態に係る電子装置を例示する模式的断面図である。
図9は、実施形態に係る電子装置を例示する模式的平面図である。
図10(a)~図10(d)は、実施形態に係る電子装置の製造工程を例示する模式的断面図である。
図11(a)~図11(d)は、実施形態に係る電子装置の製造工程を例示する模式的断面図である。
図12(a)及び図12(b)は、実施形態に係る電子装置の製造工程を例示する模式的断面図である。
図13(a)~図13(f)は、実施形態に係る電子装置の電極部の製造方法を例示する模式的断面図である。
図14(a)~図14(c)は、実施形態に係る電子装置の電極部の製造方法を例示する模式的断面図である。
図15は、実施形態に係る電子装置を例示する模式的断面図である。
【発明を実施するための形態】
【0007】
以下に、本発明の各実施の形態について図面を参照しつつ説明する。
図面は模式的または概念的なものであり、各部分の厚さと幅との関係、部分間の大きさの比率などは、必ずしも現実のものと同一とは限らない。同じ部分を表す場合であっても、図面により互いの寸法や比率が異なって表される場合もある。
本願明細書と各図において、既出の図に関して前述したものと同様の要素には同一の符号を付して詳細な説明は適宜省略する。
【0008】
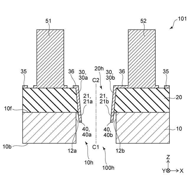
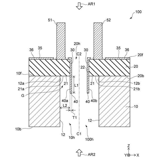
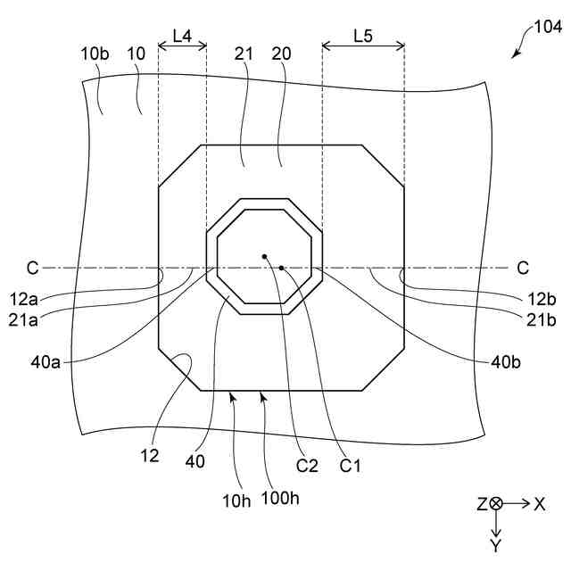
図1は、実施形態に係る電子装置を例示する模式的断面図である。
図2及び図3は、実施形態に係る電子装置を例示する模式的平面図である。
図2は、実施形態に係る電子装置100を、上方から見た図、すなわち図1に示す矢印AR1に沿って見た図である。図3は、電子装置100を、下方から見た図、すなわち図1に示す矢印AR2に沿って見た図である。図1は、電子装置100のZ方向に沿った断面を表している。図1は、図2に表したA-A線における断面、または、図3に表したB-B線における断面に対応する。
【0009】
図1に表したように、電子装置100は、基板10と、絶縁層20と、導電膜部30と、延出部40と、を有する。
【0010】
基板10は、基板表面10fと、基板表面10fの反対側の基板裏面10bと、を有する。基板10には、Z方向(第1方向)に延びる第1貫通孔10hが設けられている。第1貫通孔10hは、基板表面10fから基板裏面10bまで延在し、基板10をZ方向に貫通している。例えば、基板10は、導電性を有する。基板10の電気抵抗率は、絶縁層20の電気抵抗率よりも低い。
(【0011】以降は省略されています)
この特許をJ-PlatPat(特許庁公式サイト)で参照する
関連特許
株式会社東芝
端子台
1か月前
株式会社東芝
電子源
3日前
株式会社東芝
電子回路
1か月前
株式会社東芝
電子装置
1か月前
株式会社東芝
除去装置
1か月前
株式会社東芝
半導体装置
1か月前
株式会社東芝
半導体装置
4日前
株式会社東芝
半導体装置
4日前
株式会社東芝
半導体装置
1か月前
株式会社東芝
真空バルブ
4日前
株式会社東芝
半導体装置
1か月前
株式会社東芝
半導体装置
3日前
株式会社東芝
半導体装置
1か月前
株式会社東芝
半導体装置
1か月前
株式会社東芝
高周波回路
1か月前
株式会社東芝
半導体装置
1か月前
株式会社東芝
半導体装置
1か月前
株式会社東芝
半導体装置
10日前
株式会社東芝
半導体装置
1か月前
株式会社東芝
真空バルブ
1か月前
株式会社東芝
半導体装置
1か月前
株式会社東芝
半導体装置
1か月前
株式会社東芝
半導体装置
1か月前
株式会社東芝
半導体装置
3日前
株式会社東芝
真空バルブ
1か月前
株式会社東芝
半導体装置
1か月前
株式会社東芝
半導体装置
18日前
株式会社東芝
半導体装置
1か月前
株式会社東芝
半導体装置
1か月前
株式会社東芝
半導体装置
1か月前
株式会社東芝
補修システム
1か月前
株式会社東芝
ディスク装置
1か月前
株式会社東芝
光電流センサ
4日前
株式会社東芝
超電導コイル
1か月前
株式会社東芝
コントローラ
1か月前
株式会社東芝
電気化学装置
3日前
続きを見る
他の特許を見る