TOP
|
特許
|
意匠
|
商標
特許ウォッチ
Twitter
他の特許を見る
公開番号
2025155255
公報種別
公開特許公報(A)
公開日
2025-10-14
出願番号
2024058971
出願日
2024-04-01
発明の名称
半導体装置
出願人
株式会社東芝
,
東芝デバイス&ストレージ株式会社
代理人
弁理士法人iX
主分類
H10D
30/66 20250101AFI20251006BHJP()
要約
【課題】耐圧を向上できる半導体装置を提供すること。
【解決手段】半導体装置1は、上部電極31と、下部電極32と、半導体層10と、複数のトレンチ構造部(複数のゲートトレンチ部40、第1終端トレンチ部50A)と、を備える。複数のゲートトレンチ部40のそれぞれは、第1方向Xにおいてセルメサ部21に隣接する。第1終端トレンチ部50Aは、第1方向Xにおいて終端メサ部22に隣接し、第2方向Yに延びる。第1終端トレンチ部50Aの第1方向の幅は、ゲートトレンチ部40の第1方向の幅よりも大きい。第1終端トレンチ部50Aの下端は、ゲートトレンチ部40の下端よりも下方に位置する。
【選択図】図2
特許請求の範囲
【請求項1】
上部電極と、
下部電極と、
前記上部電極と前記下部電極との間に位置する半導体層であって、第1方向に並び、前記第1方向に直交する第2方向に延びる複数のメサ部を有する半導体層と、
前記第1方向において前記メサ部に隣接し、前記第2方向に延びる複数のトレンチ構造部と、
を備え、
前記複数のメサ部は、
第1導電型の第1半導体層と、前記第1半導体層上に設けられた第2導電型の第2半導体層と、前記第2半導体層上に設けられ、前記第1半導体層よりも第1導電型不純物濃度が高く、前記上部電極に接する第1導電型の第3半導体層と、をそれぞれが有する複数のセルメサ部と、
前記第1方向において前記複数のメサ部の端に位置し、前記第1半導体層と、前記第1半導体層上に設けられ、前記上部電極に接する第2導電型の第4半導体層とを有し、前記第3半導体層を有さない終端メサ部と、
を有し、
前記複数のトレンチ構造部は、
前記第1方向において前記セルメサ部に隣接し、ゲート電極と、前記ゲート電極と前記セルメサ部との間に設けられた第1絶縁膜と、をそれぞれが有する複数のゲートトレンチ部と、
前記第1方向において、前記複数のトレンチ構造部の端に位置し、前記終端メサ部に隣接し、導電部材と、前記導電部材と前記終端メサ部との間に設けられた第2絶縁膜と、を有する第1終端トレンチ部と、
を有し、
前記第1終端トレンチ部の前記第1方向の幅は、前記ゲートトレンチ部の前記第1方向の幅よりも大きく、
前記第1終端トレンチ部の下端は、前記ゲートトレンチ部の下端よりも下方に位置する、半導体装置。
続きを表示(約 1,100 文字)
【請求項2】
前記導電部材の前記第1方向の幅は、前記ゲート電極の前記第1方向の幅よりも大きく、
前記導電部材の下端は、前記ゲート電極の下端よりも下方に位置する、請求項1に記載の半導体装置。
【請求項3】
前記第1終端トレンチ部に連続して前記第2方向に延びる第2終端トレンチ部をさらに備え、
前記第2終端トレンチ部の前記第2方向の幅は、前記ゲートトレンチ部の前記第1方向の幅よりも大きく、
前記第2終端トレンチ部の下端は、前記ゲートトレンチ部の前記下端よりも下方に位置する、請求項1または2に記載の半導体装置。
【請求項4】
上部電極と、
下部電極と、
前記上部電極と前記下部電極との間に位置する半導体層であって、第1方向に並び、前記第1方向に直交する第2方向に延びる複数のメサ部を有する半導体層と、
前記第1方向において前記メサ部に隣接し、前記第2方向に延びる複数のトレンチ構造部と、
を備え、
前記複数のメサ部は、
第1導電型の第1半導体層と、前記第1半導体層上に設けられた第2導電型の第2半導体層と、前記第2半導体層上に設けられ、前記第1半導体層よりも第1導電型不純物濃度が高く、前記上部電極に接する第1導電型の第3半導体層と、をそれぞれが有する複数のセルメサ部と、
前記第1方向において前記複数のメサ部の端に位置し、前記第1半導体層と、前記第1半導体層上に設けられ、前記上部電極に接する第2導電型の第4半導体層とを有し、前記第3半導体層を有さない終端メサ部と、
を有し、
前記複数のトレンチ構造部は、
前記第1方向において前記セルメサ部に隣接し、ゲート電極と、前記ゲート電極と前記セルメサ部との間に設けられた第1絶縁膜と、をそれぞれが有する複数のゲートトレンチ部と、
前記第1方向において、前記複数のトレンチ構造部の端に位置し、前記終端メサ部に隣接し、導電部材と、前記導電部材と前記終端メサ部との間に設けられた第2絶縁膜と、を有する第1終端トレンチ部と、
を有し、
前記第1終端トレンチ部の下端は、前記ゲートトレンチ部の下端よりも上方に位置し、且つ、前記終端メサ部における前記第4半導体層と前記第1半導体層との接合部よりも下方に位置する、半導体装置。
【請求項5】
前記導電部材の下端は、前記ゲート電極の下端よりも上方に位置し、且つ、前記第4半導体層と前記第1半導体層との前記接合部よりも下方に位置する、請求項4に記載の半導体装置。
【請求項6】
前記第1終端トレンチ部の前記第1方向の幅は、前記ゲートトレンチ部の前記第1方向の幅以下である、請求項4または5に記載の半導体装置。
発明の詳細な説明
【技術分野】
【0001】
実施形態は、半導体装置に関する。
続きを表示(約 2,000 文字)
【背景技術】
【0002】
縦型のパワーデバイスにおいてトレンチゲート構造が広く用いられている。
【先行技術文献】
【特許文献】
【0003】
特許第6208612号公報
特許第6127069号公報
【発明の概要】
【発明が解決しようとする課題】
【0004】
実施形態は、耐圧を向上できる半導体装置を提供する。
【課題を解決するための手段】
【0005】
実施形態によれば、半導体装置は、上部電極と、下部電極と、前記上部電極と前記下部電極との間に位置する半導体層であって、第1方向に並び、前記第1方向に直交する第2方向に延びる複数のメサ部を有する半導体層と、前記第1方向において前記メサ部に隣接し、前記第2方向に延びる複数のトレンチ構造部と、を備える。前記複数のメサ部は、第1導電型の第1半導体層と、前記第1半導体層上に設けられた第2導電型の第2半導体層と、前記第2半導体層上に設けられ、前記第1半導体層よりも第1導電型不純物濃度が高く、前記上部電極に接する第1導電型の第3半導体層と、をそれぞれが有する複数のセルメサ部と、前記第1方向において前記複数のメサ部の端に位置し、前記第1半導体層と、前記第1半導体層上に設けられ、前記上部電極に接する第2導電型の第4半導体層とを有し、前記第3半導体層を有さない終端メサ部と、を有する。前記複数のトレンチ構造部は、前記第1方向において前記セルメサ部に隣接し、ゲート電極と、前記ゲート電極と前記セルメサ部との間に設けられた第1絶縁膜と、をそれぞれが有する複数のゲートトレンチ部と、前記第1方向において、前記複数のトレンチ構造部の端に位置し、前記終端メサ部に隣接し、導電部材と、前記導電部材と前記終端メサ部との間に設けられた第2絶縁膜と、を有する第1終端トレンチ部と、を有する。前記第1終端トレンチ部の前記第1方向の幅は、前記ゲートトレンチ部の前記第1方向の幅よりも大きい。前記第1終端トレンチ部の下端は、前記ゲートトレンチ部の下端よりも下方に位置する。
【図面の簡単な説明】
【0006】
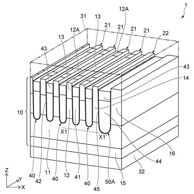
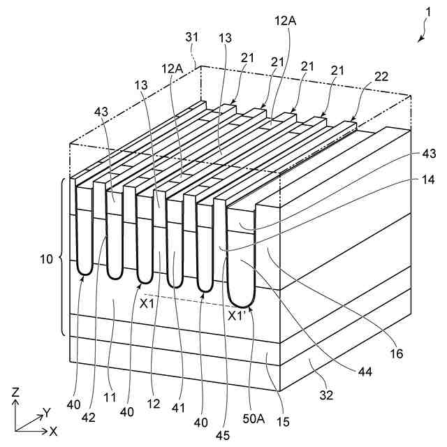
第1実施形態の半導体装置の模式平面図である。
図1のA-A線における模式断面斜視図である。
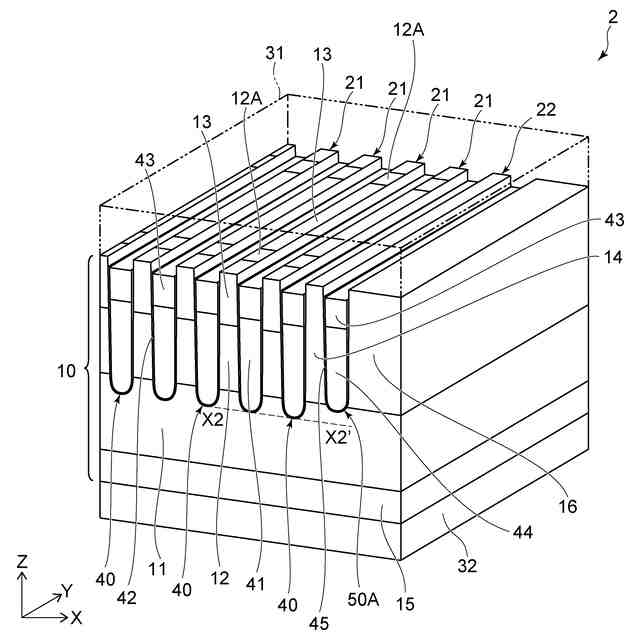
第2実施形態の半導体装置の模式平面図である。
図3のB-B線における模式断面斜視図である。
(a)及び(b)は、シミュレーション結果を示すグラフである。
シミュレーション結果を示すグラフである。
(a)及び(b)は、シミュレーション結果を示すグラフである。
【発明を実施するための形態】
【0007】
以下、図面を参照し、実施形態について説明する。なお、各図面中、同じ構成には同じ符号を付している。
【0008】
[第1実施形態]
図1及び図2を参照して、第1実施形態の半導体装置1について説明する。半導体装置1は、上部電極31と、下部電極32と、半導体層10と、複数のトレンチ構造部40、50Aとを備える。なお、図2において、上部電極31に覆われる部分の構成を見やすくするため、上部電極31を2点鎖線で表している。
【0009】
半導体装置1は、例えば、MOSFET(Metal-Oxide-Semiconductor Field Effect Transistor)構造を有する。上部電極31はMOSFETにおけるソース電極であり、下部電極32はMOSFETにおけるドレイン電極である。例えば、下部電極32に正電位が与えられ、上部電極31にグランド電位が与えられる。後述するゲート電極41のゲート電圧が閾値電圧より高くされたオン状態において、半導体層10を通じて、上部電極31と下部電極32との間を縦方向(第3方向Z)に電流が流れる。第3方向Zにおいて、下部電極32から上部電極31に向かう方向を上または上方とし、上部電極31から下部電極32に向かう方向を下または下方とする。また、本明細書において、ある特定方向の幅とは、その特定方向における最大幅を表す。
【0010】
半導体層10は、第3方向Zにおいて、上部電極31と下部電極32との間に位置する。半導体層10は、第1方向Xに並び、第2方向Yに延びる複数のメサ部21、22を有する。第1方向X及び第2方向Yは、第3方向Zに垂直な面内で互いに直交する。半導体層10は、例えば、シリコン層である。半導体層10は、炭化シリコン層、または窒化ガリウム層であってもよい。本明細書では、半導体層10の導電型において、第1導電型をn型、第2導電型をp型として説明するが、第1導電型をp型、第2導電型をn型としてもよい。
(【0011】以降は省略されています)
この特許をJ-PlatPat(特許庁公式サイト)で参照する
関連特許
株式会社東芝
センサ
2か月前
株式会社東芝
モータ
2か月前
株式会社東芝
センサ
2か月前
株式会社東芝
端子台
1か月前
株式会社東芝
電子装置
2か月前
株式会社東芝
電子装置
1か月前
株式会社東芝
吸音装置
2か月前
株式会社東芝
電子回路
1か月前
株式会社東芝
除去装置
25日前
株式会社東芝
金型構造
2か月前
株式会社東芝
半導体装置
1か月前
株式会社東芝
半導体装置
2か月前
株式会社東芝
高周波回路
1か月前
株式会社東芝
半導体装置
2か月前
株式会社東芝
半導体装置
1か月前
株式会社東芝
半導体装置
1か月前
株式会社東芝
真空バルブ
1か月前
株式会社東芝
半導体装置
1か月前
株式会社東芝
半導体装置
1か月前
株式会社東芝
半導体装置
1か月前
株式会社東芝
真空バルブ
1か月前
株式会社東芝
半導体装置
1か月前
株式会社東芝
半導体装置
1か月前
株式会社東芝
半導体装置
1か月前
株式会社東芝
半導体装置
1か月前
株式会社東芝
半導体装置
1か月前
株式会社東芝
半導体装置
1か月前
株式会社東芝
半導体装置
1か月前
株式会社東芝
半導体装置
1か月前
株式会社東芝
半導体装置
11日前
株式会社東芝
半導体装置
3日前
株式会社東芝
半導体装置
2か月前
株式会社東芝
粒子加速器
2か月前
株式会社東芝
半導体装置
1か月前
株式会社東芝
半導体装置
2か月前
株式会社東芝
半導体装置
2か月前
続きを見る
他の特許を見る