TOP
|
特許
|
意匠
|
商標
特許ウォッチ
Twitter
他の特許を見る
公開番号
2025157822
公報種別
公開特許公報(A)
公開日
2025-10-16
出願番号
2024060086
出願日
2024-04-03
発明の名称
真空バルブ
出願人
株式会社東芝
代理人
弁理士法人スズエ国際特許事務所
主分類
H01H
33/662 20060101AFI20251008BHJP(基本的電気素子)
要約
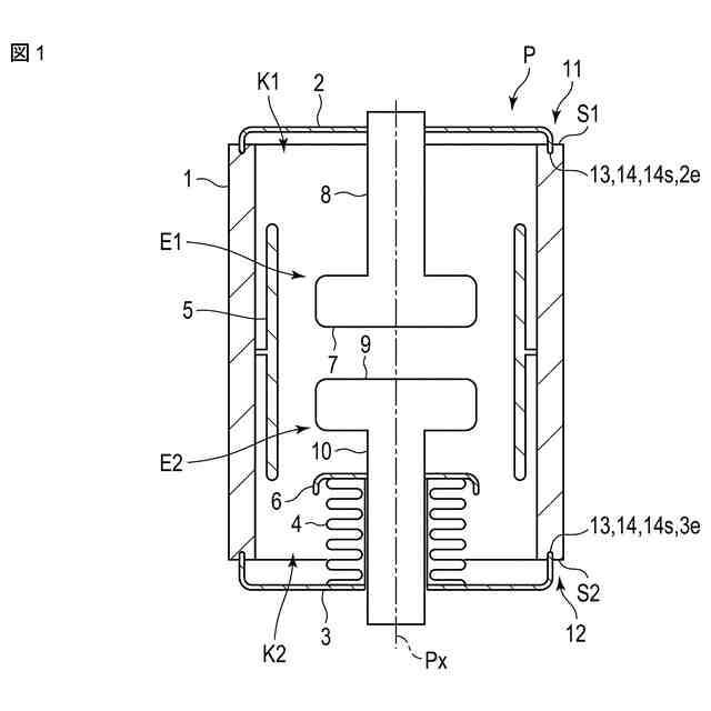
【課題】既存のメタライズ処理をそのまま利用しつつ、トリプルジャンクションの電界強度を緩和させることが可能な低コストで絶縁性能に優れた真空バルブを提供する。
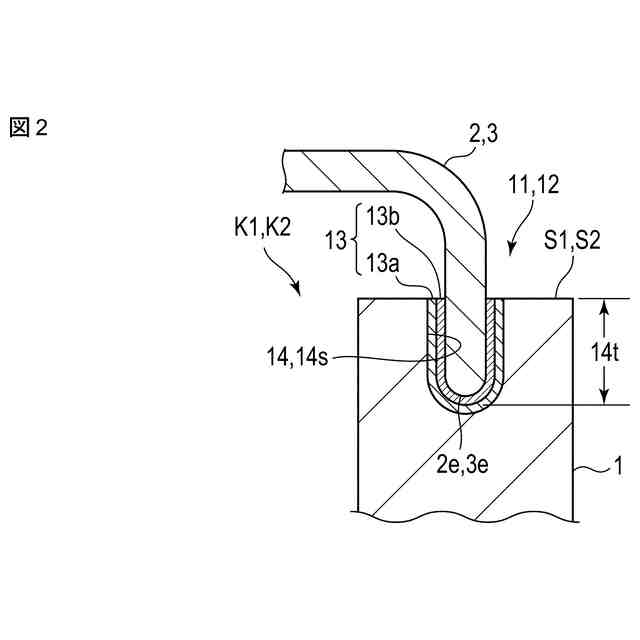
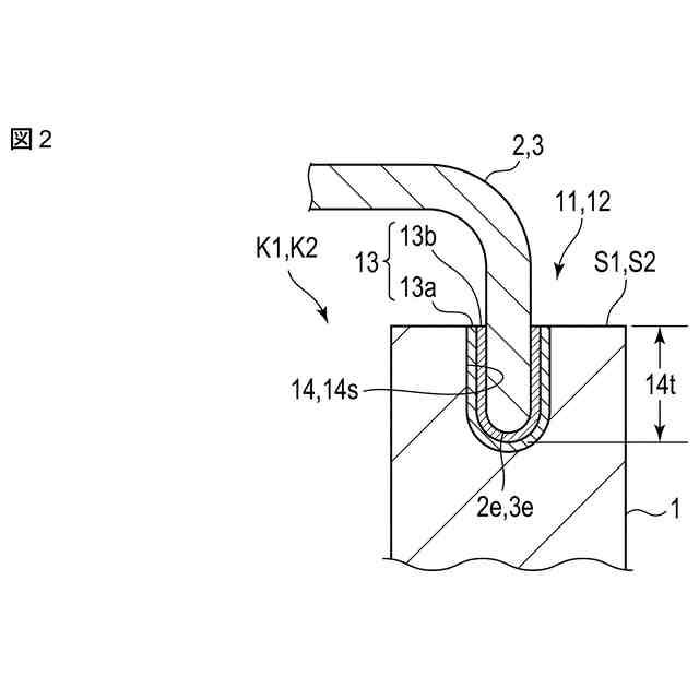
【解決手段】開口K1,K2を有する中空構造を成し、かつ、開口を囲むように延在した端面S1,S2を備えた非金属製の絶縁容器1と、絶縁容器の開口を閉塞するように、絶縁容器の端面に対向させて配置させることが可能な外縁2e,3eを備えた金属製の封着部材2,3と、封着部材を絶縁容器に接合させるための接合手段13とを有し、絶縁容器の端面には、封着部材の外縁全体のうち少なくとも一部を埋め込むことが可能な埋込部14が設けられ、埋込部は、端面を凹状に陥没させて構成され、封着部材を絶縁容器に接合させた際、封着部材の外縁全体のうち少なくとも一部は、接合手段を介して、埋込部に隙間無く埋め込まれた状態に維持される。
【選択図】図2
特許請求の範囲
【請求項1】
一対の電極を離接可能に収容するように、開口を有する中空構造を成し、かつ、前記開口を囲むように延在した端面を備えた非金属製の絶縁容器と、
前記絶縁容器の前記開口を閉塞するように、前記絶縁容器の前記端面に対向させて配置させることが可能な外縁を備えた金属製の封着部材と、
前記封着部材を前記絶縁容器に接合させるための接合手段と、を有し、
前記絶縁容器の前記端面には、前記封着部材の前記外縁全体のうち少なくとも一部を埋め込むことが可能な埋込部が設けられ、
前記埋込部は、前記端面を凹状に陥没させて構成され、
前記封着部材を前記絶縁容器に接合させた際、前記封着部材の前記外縁全体のうち少なくとも一部は、前記接合手段を介して、前記埋込部に隙間無く埋め込まれた状態に維持される真空バルブ。
続きを表示(約 950 文字)
【請求項2】
前記接合手段は、前記埋込部において、前記絶縁容器の前記端面と同一平面を超えない範囲に亘って設けられている請求項1に記載の真空バルブ。
【請求項3】
前記接合手段は、前記埋込部の内面に沿って隙間無く設けられ、
前記埋込部の前記内面にメタライズ処理を施すことで、前記内面を金属膜化させて成形されたメタライズ層と、
前記埋込部に埋め込まれた前記封着部材の前記外縁を前記メタライズ層に溶接させることで、前記封着部材と前記絶縁容器とを相互に接合させる銀ロウ層と、から構成されている請求項2に記載の真空バルブ。
【請求項4】
前記メタライズ層及び前記銀ロウ層の成形範囲は、前記埋込部の前記内面のみに設定されている請求項3に記載の真空バルブ。
【請求項5】
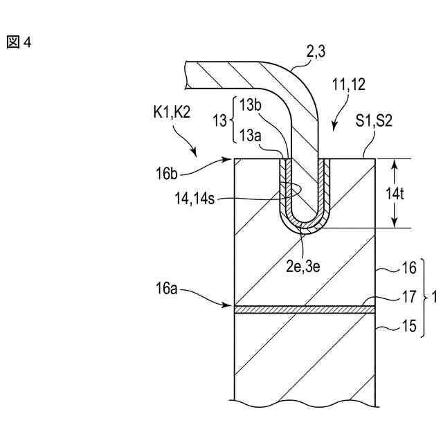
前記絶縁容器は、
基端から先端に向かって延在する中空構造の埋込部材と、
前記埋込部材の前記基端に連結可能な中空構造の絶縁容器本体と、
前記埋込部材の前記基端と前記絶縁容器本体とを相互に連結させる連結手段と、を備え、
前記埋込部材の前記先端には、前記開口を囲むように延在した前記端面と、前記端面に設けられた前記埋込部とが構築され、
前記埋込部材は、前記封着部材の前記外縁が前記埋込部に埋め込まれた状態で、前記連結手段によって前記絶容器本体に連結される請求項1に記載の真空バルブ。
【請求項6】
前記埋込部材の材質は、前記絶縁容器本体と同一の材質、或いは、前記絶縁容器本体とは異なる材質のいずれか一方に設定可能に構成されている請求項5に記載の真空バルブ。
【請求項7】
前記埋込部材の比誘電率は、前記絶縁容器本体の比誘電率よりも大きく設定されている請求項5に記載の真空バルブ。
【請求項8】
前記埋込部材は、前記基端が最も電流が流れ難く、かつ、前記基端から前記先端に向かうに従って電流が流れ易くなる体積抵抗率となるような電気的物性を有して構成されている請求項5に記載の真空バルブ。
【請求項9】
前記連結手段は、非導電性材料で構成されている請求項5に記載の真空バルブ。
発明の詳細な説明
【技術分野】
【0001】
この発明の実施形態は、真空バルブに関する。
続きを表示(約 1,300 文字)
【背景技術】
【0002】
ビルや大型施設に設けられる受配電用の開閉装置として、例えば、遮断器や断路器などの開閉器を具備したスイッチギヤが知られている。スイッチギヤには、開閉器の構成要素として真空バルブが適用されている。真空バルブの内部は、絶縁容器によって一定の絶縁状態(真空状態とも言う)に維持され、この絶縁容器の内部に一対の電極が離接可能に収容されている。この場合、一対の電極を離接操作することで、事故電流の遮断や負荷電流の開閉が行われ、スイッチギヤから電力が安定して供給される。
【先行技術文献】
【特許文献】
【0003】
国際公開第2015/140674号
特開2010-282923号公報
特開2014-216210号公報
特公昭62-45654号公報
特開2023-154158号公報
【発明の概要】
【発明が解決しようとする課題】
【0004】
ところで、絶縁容器は、中空構造を成し、その両側の開口が金属製の封着部材で閉塞されている。閉塞方法としては、例えば、開口を囲むように延在した絶縁容器の端面にメタライズ処理(即ち、非金属表面を金属膜化する処理)を施し、そのメタライズ処理済みの絶縁容器の端面と封着部材の外縁とを、銀ロウを用いた接着剤で相互に接合(溶接)させる。
【0005】
このとき、絶縁容器の端面と封着部材の外縁とを接合させた接合部には、絶縁材料と金属材料と気体(真空、空気)とが互いに隣接した境界即ち三重点(トリプルジャンクションとも言う)が構成される。
【0006】
ここで、トリプルジャンクションの電界強度は、真空バルブ全体で見ても、比較的高いものとなる。このため、絶縁破壊の起点となり易いといった問題がある。
【0007】
更に、絶縁容器の端面に施されるメタライズ処理は、その仕上がり形状を一定に維持することが困難であり、当該仕上がり形状にバラツキが生じる場合がある。この場合、バラツキの程度如何によっては、真空バルブの絶縁性能を維持向上させることが困難になってしまうといった問題がある。
【0008】
従来、これらの問題の解消法としては、例えば、トリプルジャンクション近傍の絶縁容器の端面に加工を施し、そこに金属部材を埋め込むように配置させる。これにより、トリプルジャンクションの電界強度の緩和が図られている。
【0009】
しかしながら、絶縁容器の材料(例えば、アルミナセラミック)は、硬くて脆い性質を有し、このため、絶縁容器の端面に対する加工が困難である。これにより、加工に要する手間や時間がかかり、その結果、真空バルブの製造コストが上昇してしまう。
【0010】
そこで、メタライズ処理の仕上がり形状にバラツキがあっても、換言すると、メタライズ処理自体を改良すること無く、即ち、既存のメタライズ処理をそのまま利用しつつ、トリプルジャンクションの電界強度を緩和させる技術が求められている。
(【0011】以降は省略されています)
この特許をJ-PlatPat(特許庁公式サイト)で参照する
関連特許
株式会社東芝
センサ
2か月前
株式会社東芝
センサ
2か月前
株式会社東芝
モータ
2か月前
株式会社東芝
端子台
1か月前
株式会社東芝
除去装置
24日前
株式会社東芝
吸音装置
2か月前
株式会社東芝
電子装置
1か月前
株式会社東芝
電子回路
1か月前
株式会社東芝
電子装置
1か月前
株式会社東芝
金型構造
2か月前
株式会社東芝
真空バルブ
1か月前
株式会社東芝
半導体装置
1か月前
株式会社東芝
半導体装置
1か月前
株式会社東芝
高周波回路
1か月前
株式会社東芝
半導体装置
1か月前
株式会社東芝
半導体装置
1か月前
株式会社東芝
半導体装置
2か月前
株式会社東芝
半導体装置
1か月前
株式会社東芝
半導体装置
1か月前
株式会社東芝
半導体装置
1か月前
株式会社東芝
半導体装置
1か月前
株式会社東芝
半導体装置
1か月前
株式会社東芝
半導体装置
1か月前
株式会社東芝
半導体装置
1か月前
株式会社東芝
半導体装置
1か月前
株式会社東芝
半導体装置
1か月前
株式会社東芝
半導体装置
1か月前
株式会社東芝
半導体装置
1か月前
株式会社東芝
真空バルブ
1か月前
株式会社東芝
半導体装置
2か月前
株式会社東芝
粒子加速器
1か月前
株式会社東芝
半導体装置
2か月前
株式会社東芝
半導体装置
10日前
株式会社東芝
半導体装置
2か月前
株式会社東芝
半導体装置
2か月前
株式会社東芝
半導体装置
2か月前
続きを見る
他の特許を見る