TOP
|
特許
|
意匠
|
商標
特許ウォッチ
Twitter
他の特許を見る
公開番号
2025156898
公報種別
公開特許公報(A)
公開日
2025-10-15
出願番号
2024059642
出願日
2024-04-02
発明の名称
半導体装置
出願人
株式会社東芝
,
東芝デバイス&ストレージ株式会社
代理人
弁理士法人iX
主分類
H10D
30/66 20250101AFI20251007BHJP()
要約
【課題】耐量を向上可能な半導体装置を提供する。
【解決手段】実施形態に係る半導体装置は、第1電極と、第1導電形の第1半導体領域と、第1導電形の第2半導体領域と、第2導電形の第3半導体領域と、第1導電形の第4半導体領域と、第1導電部と、第2導電形の第5半導体領域と、第2導電部と、第2電極と、を備える。第4半導体領域の上面から第1絶縁層の下端までの第1方向における第1深さは、1.05μm以上である。第4半導体領域の上面から第1半導体領域と第2半導体領域との境界までの第1方向における距離は、2.8μm以上である。第1深さに対する、前記距離の比は、2.15以上3.05以下である。第4半導体領域の上面から第2絶縁層の下端までの第1方向における第2深さは、1.05μm以上である。第2深さに対する距離の比は、2.15以上3.05以下である。
【選択図】図3
特許請求の範囲
【請求項1】
第1電極と、
前記第1電極の上に設けられた第1導電形の第1半導体領域と、
第1部分と、前記第1電極から前記第1半導体領域に向かう第1方向に垂直な第1面に沿って前記第1部分の周りに位置する第2部分と、を含み、前記第1半導体領域の上に設けられ、前記第1半導体領域よりも低い第1導電形の不純物濃度を有する、第1導電形の第2半導体領域と、
前記第1部分の上に設けられた第2導電形の第3半導体領域と、
前記第3半導体領域の上に設けられた第1導電形の第4半導体領域と、
前記第1電極から前記第1半導体領域に向かう第1方向に垂直な第2方向において、第1絶縁層を介して前記第3半導体領域と対面する第1導電部であって、前記第4半導体領域の上面から前記第1絶縁層の下端までの前記第1方向における第1深さが1.05μm以上であり、前記第4半導体領域の前記上面から前記第1半導体領域と前記第2半導体領域との境界までの前記第1方向における距離が2.8μm以上であり、前記第1深さに対する前記距離の比が、2.15以上3.05以下である、前記第1導電部と、
前記第2部分の上に設けられた第2導電形の第5半導体領域と、
前記第2方向において第2絶縁層を介して前記第5半導体領域と対面する第2導電部であって、前記第4半導体領域の上面から前記第2絶縁層の下端までの前記第1方向における第2深さが1.05μm以上であり、前記第2深さに対する前記距離の比が、2.15以上3.05以下である、前記第2導電部と、
前記第3半導体領域、前記第4半導体領域、及び前記第5半導体領域の上に設けられた第2電極と、
を備えた半導体装置。
続きを表示(約 610 文字)
【請求項2】
前記第3半導体領域は、
前記第2方向において前記第1導電部と対面するチャネル部と、
前記第2電極と接するコンタクト部と、
を含み、
前記コンタクト部における第2導電形の不純物濃度は、前記チャネル部における第2導電形の不純物濃度よりも高く、
前記コンタクト部は、前記第1方向及び前記第2方向に垂直な第3方向において、前記第4半導体領域と並ぶ、請求項1に記載の半導体装置。
【請求項3】
前記コンタクト部の前記第3方向における長さに対する、前記第4半導体領域の前記第3方向における長さの比は、5以上9以下である、請求項2に記載の半導体装置。
【請求項4】
複数の前記コンタクト部と複数の前記第4半導体領域が、前記第3方向において交互に並べられた、請求項3に記載の半導体装置。
【請求項5】
前記距離は、2.8μm以上3.2μm以下である、請求項1に記載の半導体装置。
【請求項6】
前記第1深さに対する前記距離の比は、2.15以上2.95未満であり、
前記第2深さに対する前記距離の比は、2.15以上2.95未満である、請求項1に記載の半導体装置。
【請求項7】
前記第2導電部の下端は、前記第1導電部の下端よりも下方に位置する、請求項1~6のいずれか1つに記載の半導体装置。
発明の詳細な説明
【技術分野】
【0001】
本発明の実施形態は、半導体装置に関する。
続きを表示(約 3,000 文字)
【背景技術】
【0002】
Metal Oxide Semiconductor Field Effect Transistor(MOSFET)などの半導体装置は、電力変換等の用途に用いられる。半導体装置の耐量は、高いことが望ましい。
【先行技術文献】
【特許文献】
【0003】
特開2017-168659号公報
【発明の概要】
【発明が解決しようとする課題】
【0004】
本発明が解決しようとする課題は、耐量を向上可能な半導体装置を提供することである。
【課題を解決するための手段】
【0005】
実施形態に係る半導体装置は、第1電極と、第1導電形の第1半導体領域と、第1導電形の第2半導体領域と、第2導電形の第3半導体領域と、第1導電形の第4半導体領域と、第1導電部と、第2導電形の第5半導体領域と、第2導電部と、第2電極と、を備える。前記第1半導体領域は、前記第1電極の上に設けられている。前記第2半導体領域は、第1部分と、前記第1電極から前記第1半導体領域に向かう第1方向に垂直な第1面に沿って前記第1部分の周りに位置する第2部分と、を含む。前記第1半導体領域は、前記第1半導体領域の上に設けられ、前記第1半導体領域よりも低い第1導電形の不純物濃度を有する。前記第3半導体領域は、前記第1部分の上に設けられている。前記第4半導体領域は、前記第3半導体領域の上に設けられている。前記第1導電部は、前記第1電極から前記第1半導体領域に向かう第1方向に垂直な第2方向において、第1絶縁層を介して前記第3半導体領域と対面する。前記第4半導体領域の上面から前記第1絶縁層の下端までの前記第1方向における第1深さは、1.05μm以上である。前記第4半導体領域の前記上面から前記第1半導体領域と前記第2半導体領域との境界までの前記第1方向における距離は、2.8μm以上である。前記第1深さに対する、前記距離の比は、2.15以上3.05以下である。前記第5半導体領域は、前記第2部分の上に設けられている。前記第2導電部は、前記第2方向において第2絶縁層を介して前記第5半導体領域と対面する。前記第4半導体領域の上面から前記第2絶縁層の下端までの前記第1方向における第2深さは、1.05μm以上である。前記第2深さに対する前記距離の比は、2.15以上3.05以下である。前記第2電極は、前記第3半導体領域、前記第4半導体領域、及び前記第5半導体領域の上に設けられている。
【図面の簡単な説明】
【0006】
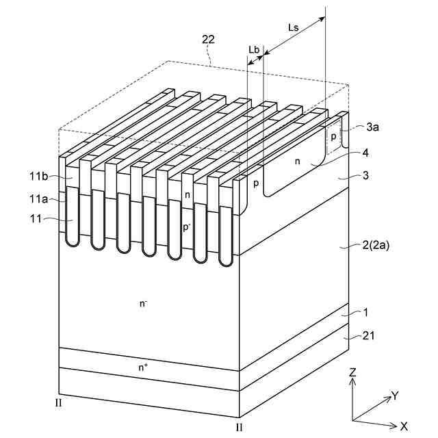
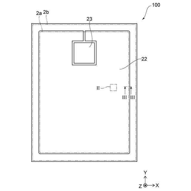
図1は、実施形態に係る半導体装置を示す平面図である。
図2は、図1の部分IIを拡大した斜視断面図である。
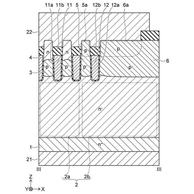
図3は、図1のIII-III断面図である。
図4(a)及び図4(b)は、実施形態に係る半導体装置の製造方法を例示する断面図である。
図5(a)及び図5(b)は、実施形態に係る半導体装置の製造方法を例示する断面図である。
図6は、図3の一部を拡大した断面図である。
図7は、実施形態に係る半導体装置におけるn形不純物濃度のプロファイルを例示するグラフである。
図8(a)~図8(c)は、実施形態に係る半導体装置の特性を示すシミュレーション結果である。
図9は、実施形態に係る半導体装置の特性を示す別のシミュレーション結果である。
図10は、実施形態に係る半導体装置の特性を示す別のシミュレーション結果である。
図11は、実施形態に係る半導体装置の特性を示す別のシミュレーション結果である。
図12(a)~図12(f)は、実施形態に係る半導体装置の特性を示す別のシミュレーション結果である。
図13は、実施形態の変形例に係る半導体装置の一部を示す断面図である。
【発明を実施するための形態】
【0007】
以下に、本発明の各実施形態について図面を参照しつつ説明する。図面は模式的または概念的なものであり、各部分の厚みと幅との関係、部分間の大きさの比率などは、必ずしも現実のものと同一とは限らない。また、同じ部分を表す場合であっても、図面により互いの寸法や比率が異なって表される場合もある。本願明細書と各図において、既に説明したものと同様の要素には同一の符号を付して詳細な説明は適宜省略する。
以下の説明及び図面において、n
+
、n、n
-
及びp、p
-
の表記は、各不純物濃度の相対的な高低を表す。すなわち、「+」が付されている表記は、「+」及び「-」のいずれも付されていない表記よりも不純物濃度が相対的に高く、「-」が付されている表記は、いずれも付されていない表記よりも不純物濃度が相対的に低いことを示す。これらの表記は、それぞれの領域にp形不純物とn形不純物の両方が含まれている場合には、それらの不純物が補償しあった後の正味の不純物濃度の相対的な高低を表す。
以下で説明する各実施形態について、各半導体領域のp形とn形を反転させて各実施形態を実施してもよい。
【0008】
図1は、実施形態に係る半導体装置を示す平面図である。図2は、図1の部分IIを拡大した斜視断面図である。図3は、図1のIII-III断面図である。
実施形態に係る半導体装置100は、MOSFETである。図1~図3に示すように、半導体装置100は、n
+
形(第1導電形)ドレイン領域1(第1半導体領域)、n
-
形(第1導電形)ドリフト領域2(第1半導体領域)、p
-
形(第2導電形)ベース領域3(第3半導体領域)、n形ソース領域4(第4半導体領域)、p
-
形半導体領域5(第5半導体領域)、p
-
形半導体領域6、第1導電部11、第1絶縁層11a、第2導電部12、第2絶縁層12a、ドレイン電極21(第1電極)、ソース電極22(第2電極)、及びゲートパッド23を含む。なお、図2では、ソース電極22が破線で示されている。
【0009】
実施形態の説明では、XYZ直交座標系を用いる。ドレイン電極21からn
+
形ドレイン領域1に向かう方向をZ方向(第1方向)とする。Z方向に対して垂直であり、相互に直交する二方向をX方向(第2方向)及びY方向(第3方向)とする。また、説明のために、ドレイン電極21からn
-
形ドリフト領域2に向かう方向を「上」と言い、その反対方向を「下」と言う。これらの方向は、ドレイン電極21とn
-
形ドリフト領域2との相対的な位置関係に基づき、重力の方向とは無関係である。
【0010】
図1に示すように、半導体装置100の上面には、ソース電極22及びゲートパッド23が設けられている。ソース電極22とゲートパッド23は、互いに離れ、電気的に分離されている。
(【0011】以降は省略されています)
この特許をJ-PlatPat(特許庁公式サイト)で参照する
関連特許
株式会社東芝
センサ
2か月前
株式会社東芝
モータ
1か月前
株式会社東芝
端子台
1か月前
株式会社東芝
センサ
2か月前
株式会社東芝
電子装置
1か月前
株式会社東芝
電子装置
1か月前
株式会社東芝
金型構造
2か月前
株式会社東芝
電子回路
1か月前
株式会社東芝
除去装置
23日前
株式会社東芝
吸音装置
1か月前
株式会社東芝
半導体装置
2か月前
株式会社東芝
半導体装置
2か月前
株式会社東芝
半導体装置
2か月前
株式会社東芝
半導体装置
2か月前
株式会社東芝
半導体装置
1か月前
株式会社東芝
半導体装置
1か月前
株式会社東芝
半導体装置
2か月前
株式会社東芝
半導体装置
1か月前
株式会社東芝
粒子加速器
1か月前
株式会社東芝
半導体装置
2か月前
株式会社東芝
半導体装置
1か月前
株式会社東芝
真空バルブ
1か月前
株式会社東芝
半導体装置
2か月前
株式会社東芝
半導体装置
1か月前
株式会社東芝
半導体装置
1か月前
株式会社東芝
半導体装置
1か月前
株式会社東芝
半導体装置
1か月前
株式会社東芝
半導体装置
1日前
株式会社東芝
半導体装置
1か月前
株式会社東芝
半導体装置
2か月前
株式会社東芝
真空バルブ
1か月前
株式会社東芝
半導体装置
1か月前
株式会社東芝
半導体装置
1か月前
株式会社東芝
半導体装置
1か月前
株式会社東芝
半導体装置
1か月前
株式会社東芝
半導体装置
1か月前
続きを見る
他の特許を見る