TOP
|
特許
|
意匠
|
商標
特許ウォッチ
Twitter
他の特許を見る
公開番号
2025114301
公報種別
公開特許公報(A)
公開日
2025-08-05
出願番号
2024008919
出願日
2024-01-24
発明の名称
センサ
出願人
株式会社東芝
代理人
弁理士法人iX
主分類
G01N
27/04 20060101AFI20250729BHJP(測定;試験)
要約
【課題】高精度の検出が可能なセンサを提供する。
【解決手段】実施形態によれば、センサは、第1基体領域と第2基体領域とを含む基体と、第1検出部と、第2検出部と、を含む。第1検出部は、第1基体領域に固定された第1固定部と、第1基体領域に固定された第1温度検出素子と、第1固定部に支持された第1素子と、を含む。第1温度検出素子と第1素子との間に第1間隙が設けられる。第1素子は、第1抵抗部材及び第1導電部材を含む。第1基体領域から第1固定部への第1方向において、第1温度検出素子の少なくとも一部は、第1素子と重なる。第2検出部は、第2基体領域に固定された第2固定部と、第2固定部に支持された第2素子と、を含む。第2基体領域と第2素子との間に第2間隙が設けられる。第2素子は、第2抵抗部材を含む。
【選択図】図1
特許請求の範囲
【請求項1】
第1基体領域と第2基体領域とを含む基体と、
第1検出部と、
第2検出部と、
を備え、
前記第1検出部は、
前記第1基体領域に固定された第1固定部と、
前記第1基体領域に固定された第1温度検出素子と、
前記第1固定部に支持された第1素子と、
を含み、
前記第1温度検出素子と前記第1素子との間に第1間隙が設けられ、
前記第1素子は、第1抵抗部材及び第1導電部材を含み、
前記第1基体領域から前記第1固定部への第1方向において、前記第1温度検出素子の少なくとも一部は、前記第1素子と重なり、
前記第2検出部は、
前記第2基体領域に固定された第2固定部と、
前記第2固定部に支持された第2素子と、
を含み、
前記第2基体領域と前記第2素子との間に第2間隙が設けられ、
前記第2素子は、第2抵抗部材を含む、センサ。
続きを表示(約 1,400 文字)
【請求項2】
前記第1抵抗部材、前記第1導電部材、前記第2抵抗部材、及び、前記第1温度検出素子と電気的に接続された制御部をさらに含み、
前記制御部は、第1動作を実施するように構成され、
前記制御部は、前記第1動作において、前記第1導電部材に電力を供給した後の前記第1抵抗部材の第1電気抵抗と、前記第2抵抗部材の第2電気抵抗と、の差に対応する検出値を検出し、前記制御部は、前記第1温度検出素子により検出された第1温度に対応する第1値を用いて前記検出値を補正して、前記第1素子の周りの検出対象物質を検出する、請求項1に記載のセンサ。
【請求項3】
前記第2検出部は、前記第2基体領域に固定された第2温度検出素子をさらに含み、
前記第2温度検出素子と前記第2素子との間に前記第2間隙が設けられ、
前記第1方向において、前記第2温度検出素子の少なくとも一部は、前記第2素子と重なる、請求項1に記載のセンサ。
【請求項4】
前記第1抵抗部材、前記第1導電部材、前記第2抵抗部材、前記第1温度検出素子、及び、前記第2温度検出素子と電気的に接続された制御部をさらに含み、
前記制御部は、第2動作を実施するように構成され、
前記制御部は、前記第2動作において、前記第1導電部材に電力を供給した後の前記第1抵抗部材の第1電気抵抗と、前記第2抵抗部材の第2電気抵抗と、の差に対応する検出値を検出し、前記制御部は、前記第1温度検出素子により検出された第1温度に対応する第1値と、前記第2温度検出素子により検出された第2温度に対応する第2値と、の少なくともいずれかを用いて前記検出値を補正して、前記第1素子の周りの検出対象物質を検出する、請求項3に記載のセンサ。
【請求項5】
前記第1温度検出素子の一部は、前記第1方向において、前記第1固定部の少なくとも一部と重なる、請求項1~4のいずれか1つに記載のセンサ。
【請求項6】
前記第1抵抗部材と電気的に接続された第1抵抗配線、及び、前記第1導電部材と電気的に接続された第1導電配線の少なくともいずれかは、前記第1固定部を通過する、請求項5に記載のセンサ。
【請求項7】
前記第1検出部は、前記第1固定部と前記第1素子との間に設けられた第1接続部をさらに含み、
前記第1接続部は、前記第1固定部に支持され、
前記第1接続部は、前記第1素子を支持し、
前記第1間隙の一部は、前記第1基体領域と前記第1接続部との間に設けられ、
前記第1温度検出素子の一部は、前記第1方向において、前記第1接続部の少なくとも一部と重なる、請求項1に記載のセンサ。
【請求項8】
前記第1温度検出素子は、第1導電層を含み、
前記第1導電層の電気抵抗は、温度により変化する、請求項1に記載のセンサ。
【請求項9】
前記基体は、前記第1基体領域に設けられ第1制御素子を含む第1回路を含み、
前記第1導電層は、前記第1制御素子と電気的に接続される、請求項8に記載のセンサ。
【請求項10】
前記第1制御素子は、CMOS(Complementary Metal Oxide Semiconductor)を含む、請求項9に記載のセンサ。
発明の詳細な説明
【技術分野】
【0001】
本発明の実施形態は、センサに関する。
続きを表示(約 1,600 文字)
【背景技術】
【0002】
例えば、MEMS(Micro Electro Mechanical Systems)素子などを用いたセンサがある。センサにおいて、安定した検出が望まれる。
【先行技術文献】
【特許文献】
【0003】
特開2020-41893号公報
【発明の概要】
【発明が解決しようとする課題】
【0004】
実施形態は、高精度の検出が可能なセンサを提供する。
【課題を解決するための手段】
【0005】
実施形態によれば、センサは、第1基体領域と第2基体領域とを含む基体と、第1検出部と、第2検出部と、を含む。前記第1検出部は、前記第1基体領域に固定された第1固定部と、前記第1基体領域に固定された第1温度検出素子と、前記第1固定部に支持された第1素子と、を含む。前記第1温度検出素子と前記第1素子との間に第1間隙が設けられる。前記第1素子は、第1抵抗部材及び第1導電部材を含む。前記第1基体領域から前記第1固定部への第1方向において、前記第1温度検出素子の少なくとも一部は、前記第1素子と重なる。前記第2検出部は、前記第2基体領域に固定された第2固定部と、前記第2固定部に支持された第2素子と、を含む。前記第2基体領域と前記第2素子との間に第2間隙が設けられる。前記第2素子は、第2抵抗部材を含む。
【図面の簡単な説明】
【0006】
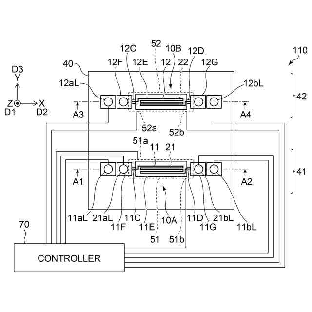
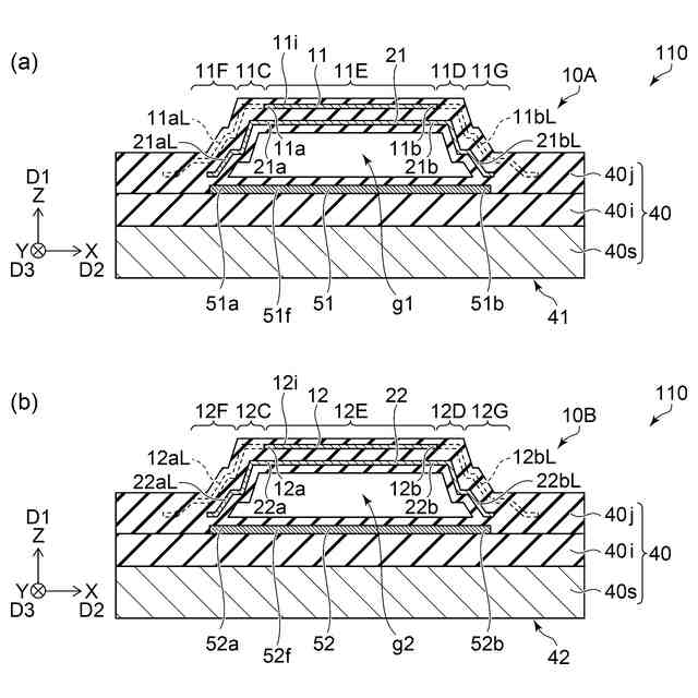
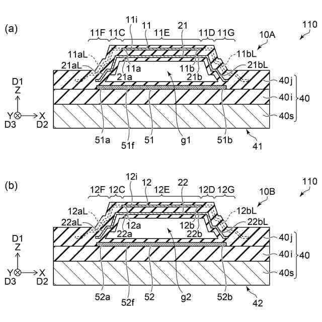
図1(a)及び図1(b)は、第1実施形態に係るセンサを例示する模式的断面図である。
図2は、第1実施形態に係るセンサを例示する模式的平面図である。
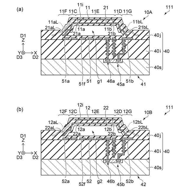
図3(a)及び図3(b)は、第1実施形態に係るセンサを例示する模式的断面図である。
【発明を実施するための形態】
【0007】
以下に、本発明の各実施の形態について図面を参照しつつ説明する。
図面は模式的または概念的なものであり、各部分の厚さと幅との関係、部分間の大きさの比率などは、必ずしも現実のものと同一とは限らない。同じ部分を表す場合であっても、図面により互いの寸法や比率が異なって表される場合もある。
本願明細書と各図において、既出の図に関して前述したものと同様の要素には同一の符号を付して詳細な説明は適宜省略する。
【0008】
(第1実施形態)
図1(a)及び図1(b)は、第1実施形態に係るセンサを例示する模式的断面図である。
図2は、第1実施形態に係るセンサを例示する模式的平面図である。
図1(a)は、図2のA1-A2線断面図である。図1(b)は、図2のA3-A4線断面図である。
図1(a)、図1(b)及び図2に示すように、実施形態に係るセンサ110は、基体40、第1検出部10A及び第2検出部10Bを含む。
【0009】
基体40は、第1基体領域41と第2基体領域42とを含む。第1検出部10Aは、第1基体領域41に設けられる。第2検出部10Bは、第2基体領域42に設けられる。第1検出部10Aが設けられる領域が第1基体領域41に対応する。第2検出部10Bが設けられる領域が第2基体領域42に対応する。これらの基体領域の境界は、明確でも不明確でも良い。
【0010】
第1検出部10Aは、第1固定部11Fと、第1温度検出素子51と、第1素子11Eと、を含む。第1固定部11Fは、第1基体領域41に固定される。第1温度検出素子51は、第1基体領域41に固定される。第1素子11Eは、第1固定部11Fに支持される。第1温度検出素子51と第1素子11Eとの間に第1間隙g1が設けられる。第1素子11Eは、第1抵抗部材11及び第1導電部材21を含む。第1素子11Eは、例えば、第1膜部である。第1導電部材21は、例えば、ヒータである。
(【0011】以降は省略されています)
この特許をJ-PlatPat(特許庁公式サイト)で参照する
関連特許
株式会社東芝
固定子
2か月前
株式会社東芝
センサ
2か月前
株式会社東芝
センサ
1か月前
株式会社東芝
センサ
1か月前
株式会社東芝
モータ
27日前
株式会社東芝
電子回路
7日前
株式会社東芝
金型構造
1か月前
株式会社東芝
電子装置
11日前
株式会社東芝
電子装置
26日前
株式会社東芝
吸音装置
27日前
株式会社東芝
半導体装置
29日前
株式会社東芝
半導体装置
11日前
株式会社東芝
半導体装置
11日前
株式会社東芝
半導体装置
11日前
株式会社東芝
半導体装置
12日前
株式会社東芝
真空バルブ
12日前
株式会社東芝
半導体装置
13日前
株式会社東芝
半導体装置
13日前
株式会社東芝
半導体装置
13日前
株式会社東芝
半導体装置
13日前
株式会社東芝
半導体装置
14日前
株式会社東芝
粒子加速器
26日前
株式会社東芝
半導体装置
29日前
株式会社東芝
半導体装置
1か月前
株式会社東芝
半導体装置
29日前
株式会社東芝
半導体装置
29日前
株式会社東芝
半導体装置
29日前
株式会社東芝
半導体装置
29日前
株式会社東芝
半導体装置
29日前
株式会社東芝
半導体装置
13日前
株式会社東芝
半導体装置
1か月前
株式会社東芝
半導体装置
7日前
株式会社東芝
半導体装置
7日前
株式会社東芝
高周波回路
7日前
株式会社東芝
半導体装置
7日前
株式会社東芝
半導体装置
7日前
続きを見る
他の特許を見る