TOP
|
特許
|
意匠
|
商標
特許ウォッチ
Twitter
他の特許を見る
10個以上の画像は省略されています。
公開番号
2025163841
公報種別
公開特許公報(A)
公開日
2025-10-30
出願番号
2024067407
出願日
2024-04-18
発明の名称
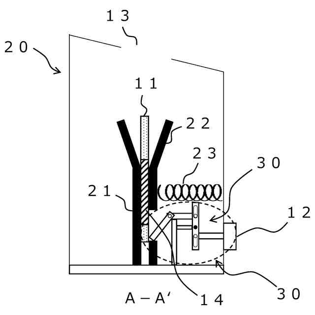
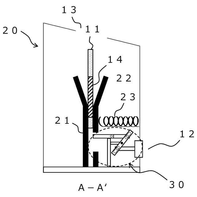
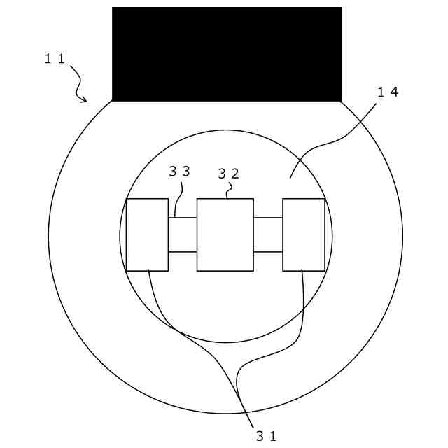
端子台
出願人
株式会社東芝
代理人
個人
,
個人
主分類
H01R
9/22 20060101AFI20251023BHJP(基本的電気素子)
要約
【課題】ねじ式の端子台を利用した結線作業であると、低圧配線の本数が多いため、作業
時間が長くなり、負荷停電の時間も長くなる問題がある。
【解決手段】実施形態に係る端子台は、結線用の端子台であって、接続する導線の先端に
設けられた輪形状の丸型端子と接触して導通する固定導体と、前記固定導体と一対に設け
られ、前記固定導体との間に前記丸型端子を挟む移動導体と、前記移動導体を前記固定導
体に向かって押圧する移動導体付勢部と、前記固定導体と前記移動導体との間へ前記丸型
端子を差込む際に、前記丸型端子と接触すると差込み方向に回動し、差込みが完了すると
前記丸型端子の輪形状部を貫通して前記丸型端子の抜けを防止する固定部とを備える。
【選択図】図1
特許請求の範囲
【請求項1】
結線用の端子台であって、
接続する導線の先端に設けられた輪形状の丸型端子と接触して導通する固定導体と、
前記固定導体と一対に設けられ、前記固定導体との間に前記丸型端子を挟む移動導体と、
前記移動導体を前記固定導体に向かって押圧する移動導体付勢部と、
前記固定導体と前記移動導体との間へ前記丸型端子を差込む際に、前記丸型端子と接触す
ると差込み方向に回動し、差込みが完了すると前記丸型端子の輪形状部を貫通して前記丸
型端子の抜けを防止する固定部と、
を備える端子台。
続きを表示(約 560 文字)
【請求項2】
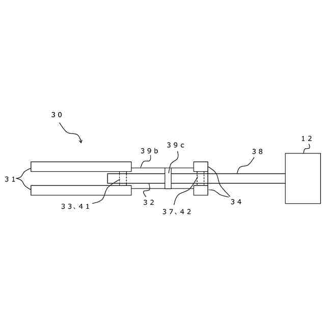
前記端子台の外面に設けられた前記丸型端子の引抜きボタンと、
前記引抜きボタンと連結し、前記引抜きボタンの押圧に伴って押圧方向に移動する第2
の移動部材と、
前記第2の移動部材とスライド軸を介して連結し、前記第2の移動部材の移動に伴って
回動する可動部と、
一端では前記固定部の回動の中心となる固定軸を介して前記固定部と連結し、他端では
前記スライド軸を介して前記可動部と連結し、前記可動部の回動に連動して移動する第1
の移動部材と、
を更に備えた請求項1に記載の端子台。
【請求項3】
前記可動部が回動した際に、前記可動部を元の位置に戻すための反力を生じさせる可動
部付勢体、
を更に備えた請求項2に記載の端子台。
【請求項4】
前記固定部が回動した際に、前記固定部を元の位置に戻すための反力を生じさせる固定
部付勢体、
を更に備えた請求項2に記載の端子台。
【請求項5】
前記移動導体付勢部の押圧に加えて、前記移動導体を前記固定導体に向かって押圧する
ことができる増し締めねじ、
を更に備えた請求項1又は請求項2に記載の端子台。
発明の詳細な説明
【技術分野】
【0001】
本発明の実施形態は、端子台に関する。
続きを表示(約 1,100 文字)
【背景技術】
【0002】
電気設備における現地作業にて、電気盤に外線を接続する際、特に本数が多いのが主回
路、制御線等の配線である低圧配線である。
【0003】
従来、このような配線の結線作業は圧着端子若しくは圧縮端子等の端子をケーブルに取
付け、1本1本手作業で結線する作業が一般的である。結線作業には端子台が利用される
ことが一般的であるが、この端子台は配線の端子をねじで固定するねじ式端子台であるこ
とが多い。
【0004】
ねじ式端子台とは、取付ける端子を固定する際にねじ止めで固定する端子台である。こ
の端子台を利用した場合、ねじ固定用の取り付け穴がある裸圧着端子(以下単に丸型端子
といい、ねじ固定用の穴をねじ穴と呼ぶ)を取付ける際には一度ドライバーでねじを取り
外して、丸型端子を設置し、ねじを締め付けて丸型端子を固定するという作業を繰り返す
ことになる。
【0005】
他にも棒端子を利用して、棒端子を挿し込むことで結線作業を行うことができる棒端子
用の端子台を利用する場合もある。
【0006】
また、特許文献1には、つまみ部を有するロッドに押え板を固着すると共に押え板を接続
金具側に付勢するコイルバネを装着し、端子を押え板と接続金具との間に挿入するとコイ
ルバネにより付勢され、ロッドのつまみ部を介してワンタッチで端子が接離する端子台が
開示されている。
【先行技術文献】
【特許文献】
【0007】
特開平9-161868号公報
【発明の概要】
【発明が解決しようとする課題】
【0008】
上述したようなねじ式の端子台を利用した結線作業であると、低圧配線の本数が多いため
、作業時間が長くなり、負荷停電の時間も長くなる問題がある。また、直接端子に触れて
作業する必要があるため、制御線からの回り込み電流による感電事故も多い。
【0009】
棒端子を利用した結線作業であると、上述したリスクを低減することが可能であるが、配
線が少し引っ張られると端子台から抜けてしまい、作業性に問題がある。
【0010】
また、特許文献1で開示されている端子台では端子の取付け時はワンタッチで端子の取付
けが可能となるが、端子を取外す際には小さいつまみを1つずつ指でつまんで引っ張ると
いう作業を伴うため、これも作業性に問題がある。
【課題を解決するための手段】
(【0011】以降は省略されています)
この特許をJ-PlatPat(特許庁公式サイト)で参照する
関連特許
個人
三重コイル変圧器
2日前
日機装株式会社
加圧装置
7日前
ローム株式会社
半導体装置
1日前
株式会社東芝
端子台
1か月前
マクセル株式会社
電源装置
1か月前
ローム株式会社
半導体装置
2日前
日新イオン機器株式会社
イオン源
7日前
株式会社GSユアサ
蓄電装置
22日前
株式会社GSユアサ
蓄電装置
1か月前
三菱電機株式会社
回路遮断器
1か月前
富士電機株式会社
電磁接触器
22日前
株式会社トクミ
ケーブル
8日前
ホシデン株式会社
複合コネクタ
16日前
株式会社ヨコオ
コネクタ
1日前
日本特殊陶業株式会社
保持装置
2日前
トヨタ自動車株式会社
蓄電装置
14日前
大電株式会社
電線又はケーブル
14日前
日本特殊陶業株式会社
保持装置
1か月前
個人
電源ボックス及び電子機器
7日前
株式会社東芝
電子源
7日前
株式会社レゾナック
冷却器
1か月前
住友電装株式会社
コネクタ
22日前
日本無線株式会社
レーダアンテナ
1か月前
甲神電機株式会社
変流器及び零相変流器
1か月前
住友電装株式会社
コネクタ
2日前
ヒロセ電機株式会社
電気コネクタ
22日前
矢崎総業株式会社
バスバー
3日前
矢崎総業株式会社
コネクタ
22日前
ローム株式会社
半導体モジュール
23日前
ローム株式会社
半導体装置
1日前
日本特殊陶業株式会社
アンテナ装置
9日前
日本特殊陶業株式会社
アンテナ装置
9日前
日本特殊陶業株式会社
アンテナ装置
9日前
株式会社パロマ
監視システム
14日前
日本航空電子工業株式会社
コネクタ
1か月前
矢崎総業株式会社
端子
14日前
続きを見る
他の特許を見る