TOP
|
特許
|
意匠
|
商標
特許ウォッチ
Twitter
他の特許を見る
10個以上の画像は省略されています。
公開番号
2025179994
公報種別
公開特許公報(A)
公開日
2025-12-11
出願番号
2024087019
出願日
2024-05-29
発明の名称
コネクタ
出願人
株式会社ヨコオ
代理人
個人
,
個人
主分類
H01R
13/11 20060101AFI20251204BHJP(基本的電気素子)
要約
【課題】簡易な構成でコネクタを低背化した状態で、コネクタ及び外部端子の繰り返しの電気的な接続の信頼性を向上させる。
【解決手段】外部端子と電気的に接続するコネクタであって、前記外部端子に電気的に接続する複数の接触部と、前記複数の接触部が前記外部端子に対して互いに異なる方向から接触するように前記複数の接触部を弾性的に支持する複数の支持部と、を備えるコネクタ。
【選択図】図2
特許請求の範囲
【請求項1】
外部端子と電気的に接続するコネクタであって、
前記外部端子に電気的に接続する複数の接触部と、
前記複数の接触部が前記外部端子に対して互いに異なる方向から接触するように前記複数の接触部を弾性的に支持する複数の支持部と、
を備えるコネクタ。
続きを表示(約 340 文字)
【請求項2】
前記複数の接触部は、前記外部端子の前記複数の接触部への取り付け方向又は前記外部端子の前記複数の接触部からの取り外し方向に略平行な平面内で可動である、請求項1に記載のコネクタ。
【請求項3】
前記複数の接触部は、前記外部端子の前記複数の接触部への取り付け方向又は前記外部端子の前記複数の接触部からの取り外し方向に略垂直な平面内で可動である、請求項1に記載のコネクタ。
【請求項4】
前記複数の接触部の変位を規制する規制部をさらに備える、請求項1~3のいずれか一項に記載のコネクタ。
【請求項5】
前記外部端子を前記複数の接触部に向けて案内する案内部をさらに備える、請求項1~3のいずれか一項に記載のコネクタ。
発明の詳細な説明
【技術分野】
【0001】
本発明は、コネクタに関する。
続きを表示(約 1,600 文字)
【背景技術】
【0002】
近年、様々なコネクタが開発されている。特許文献1には、ソケットコンタクトについて記載されている。このソケットコンタクトは、タブコンタクトの一方の面を接触させるための接点と、タブコンタクトの他方の面をスライドさせるための案内面と、を備えている。
【先行技術文献】
【特許文献】
【0003】
特開2009-224249号公報
【発明の概要】
【発明が解決しようとする課題】
【0004】
例えば、コネクタに対して外部端子が繰り返し着脱される用途において、コネクタ及び外部端子の繰り返しの電気的な接続の信頼性の向上が要請されることがある。さらに、コネクタが比較的小型の電子機器に収納される場合には、簡易な構成によるコネクタの低背化が要請されることがある。
【0005】
本発明の目的の一例は、簡易な構成でコネクタを低背化した状態で、コネクタ及び外部端子の繰り返しの電気的な接続の信頼性を向上させることにある。本発明の他の目的は、本明細書の記載から明らかになるであろう。
【課題を解決するための手段】
【0006】
本発明の一態様は、
外部端子と電気的に接続するコネクタであって、
前記外部端子に電気的に接続する複数の接触部と、
前記複数の接触部が前記外部端子に対して互いに異なる方向から接触するように前記複数の接触部を弾性的に支持する複数の支持部と、
を備えるコネクタである。
【0007】
本発明の上記態様によれば、簡易な構成でコネクタを低背化した状態で、コネクタ及び外部端子の繰り返しの電気的な接続の信頼性を向上させることができる。
【図面の簡単な説明】
【0008】
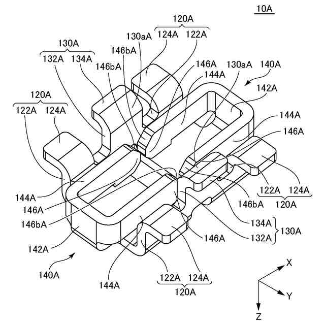
基板に搭載された実施形態1に係る2つのコネクタの斜視図である。
実施形態1に係るコネクタのおもて側の斜視図である。
実施形態1に係るコネクタのうら側の斜視図である。
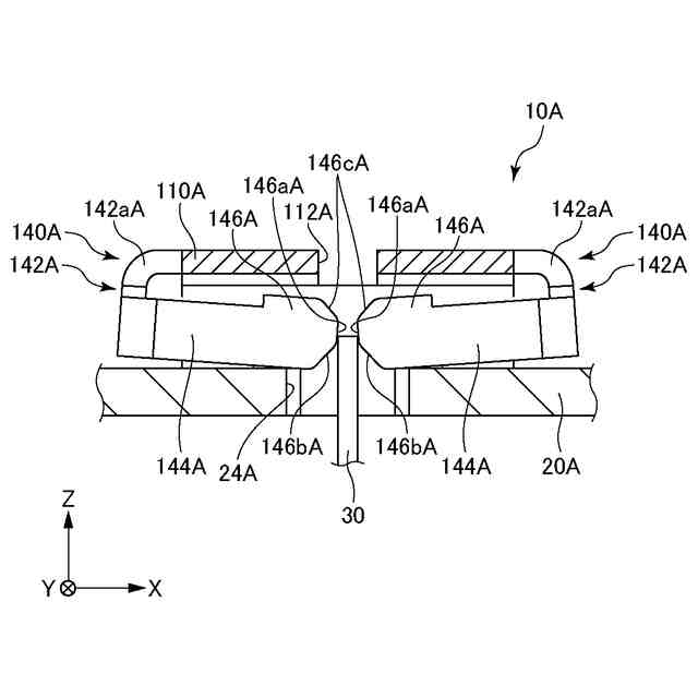
基板及び外部端子がコネクタを介して互いに電気的に接続された状態の側面方向から見た実施形態1に係るコネクタ及び基板の部分断面図である。
外部端子のコネクタへの取り付けを説明するための側面方向から見た実施形態1に係るコネクタ及び基板の部分断面図である。
外部端子のコネクタからの取り外しを説明するための側面方向から見た実施形態1に係るコネクタ及び基板の部分断面図である。
変形例1に係るコネクタの斜視図である。
図7のA-A線に沿った断面が示された状態の変形例1に係るコネクタの斜視図である。
実施形態2に係るコネクタのおもて側の斜視図である。
実施形態2に係るコネクタのうら側の斜視図である。
コネクタが基板に搭載された状態の側面方向から見た実施形態2に係るコネクタ及び基板の部分断面図である。
変形例2に係るコネクタの斜視図である。
図12のB-B線に沿った断面が示された状態の変形例2に係るコネクタの斜視図である。
【発明を実施するための形態】
【0009】
以下、本発明の実施形態及び変形例について、図面を用いて説明する。すべての図面において、同様な構成要素には同様の符号を付し、適宜説明を省略する。
【0010】
図1は、基板20Aに搭載された実施形態1に係る2つのコネクタ10Aの斜視図である。図2は、実施形態1に係るコネクタ10Aのおもて側の斜視図である。図3は、実施形態1に係るコネクタ10Aのうら側の斜視図である。図4は、基板20A及び外部端子30がコネクタ10Aを介して互いに電気的に接続された状態の側面方向から見た実施形態1に係るコネクタ10A及び基板20Aの部分断面図である。
(【0011】以降は省略されています)
この特許をJ-PlatPat(特許庁公式サイト)で参照する
関連特許
株式会社ヨコオ
コネクタ
今日
株式会社ヨコオ
車載装置
1か月前
株式会社ヨコオ
ソケット
2か月前
株式会社ヨコオ
ソケット
2か月前
株式会社ヨコオ
加工方法、加工プログラム
6日前
株式会社ヨコオ
シートコンタクタソケット
1か月前
株式会社ヨコオ
プローブカードの位置決め装置
2か月前
株式会社ヨコオ
アンテナ装置、アンテナ装置の取付方法
29日前
株式会社ヨコオ
アンテナ
23日前
株式会社ヨコオ
アンテナ装置
1か月前
株式会社ヨコオ
アンテナ装置
3か月前
個人
三重コイル変圧器
1日前
APB株式会社
蓄電セル
1か月前
東ソー株式会社
絶縁電線
1か月前
日機装株式会社
加圧装置
6日前
日新イオン機器株式会社
イオン源
6日前
株式会社東芝
端子台
1か月前
マクセル株式会社
電源装置
1か月前
ローム株式会社
半導体装置
1日前
ローム株式会社
半導体装置
今日
ローム株式会社
半導体装置
1か月前
三菱電機株式会社
回路遮断器
29日前
株式会社GSユアサ
蓄電装置
21日前
株式会社GSユアサ
蓄電装置
1か月前
富士電機株式会社
電磁接触器
21日前
株式会社GSユアサ
蓄電装置
1か月前
株式会社GSユアサ
蓄電装置
1か月前
株式会社ヨコオ
コネクタ
今日
日新イオン機器株式会社
基板処理装置
1か月前
日本特殊陶業株式会社
保持装置
1日前
トヨタ自動車株式会社
バッテリ
1か月前
トヨタ自動車株式会社
蓄電装置
1か月前
トヨタ自動車株式会社
冷却構造
1か月前
株式会社東芝
電子源
6日前
日本特殊陶業株式会社
保持装置
1か月前
ホシデン株式会社
複合コネクタ
15日前
続きを見る
他の特許を見る