TOP
|
特許
|
意匠
|
商標
特許ウォッチ
Twitter
他の特許を見る
10個以上の画像は省略されています。
公開番号
2025179912
公報種別
公開特許公報(A)
公開日
2025-12-11
出願番号
2024086849
出願日
2024-05-29
発明の名称
半導体装置
出願人
ローム株式会社
代理人
個人
主分類
H01L
23/29 20060101AFI20251204BHJP(基本的電気素子)
要約
【課題】熱負荷による封止樹脂の剥離を抑制することが可能な半導体装置を提供する。
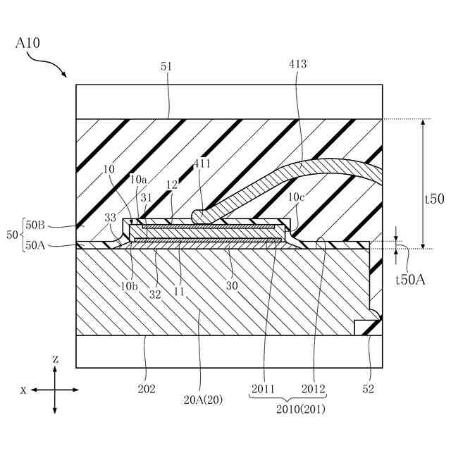
【解決手段】半導体装置A10は、半導体チップ10と、半導体チップ10の厚さ方向zについて半導体チップ10に対向する支持面2010を有し、半導体チップ10を支持するダイパッド20(支持部)と、半導体チップ10と支持面2010との間に介在し、且つ、半導体チップ10をダイパッド20に接合する接合層30と、半導体チップ10および接合層30を覆う封止部材50と、を備える。封止部材50は、支持面2010上に位置する被覆部50Aと、被覆部50A上に形成された封止部50Bと、を含む。被覆部50Aは、厚さ方向zに見て接合層30の四隅(4つの角部30b)を覆う。被覆部50Aの塑性ひずみ域は、封止部50Bの塑性ひずみ域よりも大きい。
【選択図】図9
特許請求の範囲
【請求項1】
半導体チップと、
前記半導体チップの厚さ方向について前記半導体チップに対向する支持面を有し、前記半導体チップを支持する支持部と、
前記半導体チップと前記支持面との間に介在し、且つ、前記半導体チップを前記支持部に接合する接合層と、
前記半導体チップおよび前記接合層を覆う封止部材と、
を備え、
前記封止部材は、前記支持面上に位置する被覆部と、前記被覆部上に形成された封止部と、を含み、
前記被覆部は、前記厚さ方向に見て前記接合層の四隅を覆い、
前記被覆部の塑性ひずみ域は、前記封止部の塑性ひずみ域よりも大きい、半導体装置。
続きを表示(約 710 文字)
【請求項2】
前記被覆部の内部温度が100℃以上であるときの当該被覆部の塑性ひずみ域は、5%以上である、請求項1に記載の半導体装置。
【請求項3】
前記封止部および前記被覆部の各々は、エポキシ樹脂を含む、請求項1に記載の半導体装置。
【請求項4】
前記封止部は、シリカフィラーを含有しており、
前記被覆部は、シリカフィラーを含有していない、請求項3に記載の半導体装置。
【請求項5】
前記封止部の熱膨張率は、5ppm以上20ppm以下である、請求項1ないし請求項4のいずれかに記載の半導体装置。
【請求項6】
前記被覆部は、前記厚さ方向に見て、前記接合層の周縁を覆う、請求項1ないし請求項4のいずれかに記載の半導体装置。
【請求項7】
前記接合層は、前記半導体チップに接する第1面、前記支持部に接する第2面、および、前記第1面と前記第2面とに繋がる第3面を有し、
前記被覆部は、前記第3面を覆う、請求項6に記載の半導体装置。
【請求項8】
前記支持面は、前記接合層が接していない非当接領域を含み、
前記被覆部は、前記非当接領域の全体を覆う、請求項1ないし請求項4のいずれかに記載の半導体装置。
【請求項9】
前記被覆部は、前記半導体チップを覆う、請求項1ないし請求項4のいずれかに記載の半導体装置。
【請求項10】
前記半導体チップは、前記被覆部から露出する、請求項1ないし請求項4のいずれかに記載の半導体装置。
(【請求項11】以降は省略されています)
発明の詳細な説明
【技術分野】
【0001】
本開示は、半導体装置に関する。
続きを表示(約 3,200 文字)
【背景技術】
【0002】
特許文献1には、従来の半導体装置が開示されている。特許文献1に記載の半導体装置は、半導体素子、リードフレーム、はんだ、ワイヤおよび封止樹脂を備えている。この半導体装置において、半導体素子は、たとえばダイオードチップやMOSFET(Metal Oxide Semiconductor Field Effect Transistor)チップである。リードフレームは、半導体素子を搭載するとともに、はんだやワイヤを介して半導体素子に導通する。はんだおよびワイヤは、リードフレームと半導体素子とを導通させるための導通部材である。はんだは、半導体素子とリードフレームとの間に介在し、これらを導通させている。ワイヤは、半導体素子とリードフレームとに接合され、これらを導通させている。封止樹脂は、リードフレームの一部、半導体素子、はんだおよびワイヤを覆っている。
【先行技術文献】
【特許文献】
【0003】
特開2017-5165号公報
【0004】
[概要]
半導体装置は、たとえば、電子機器などの回路基板に実装するときのリフローや、稼働中の半導体素子からの発熱などにより、熱負荷がかかる。この熱負荷により、はんだとリードフレームとの接合部分に熱応力が集中する。この熱応力の集中により、当該接合部分と封止樹脂との界面で、封止樹脂の剥離が生じる場合がある。そして、封止樹脂が剥離している状況において、再度熱負荷がかかると、たとえば、導通部材としてのはんだにおいて、クラックが発生しうる。これらは、半導体装置の動作不良の原因である。
【0005】
本開示は、上記事情に鑑みて考え出されたものであり、その目的は、熱負荷による封止樹脂の剥離を抑制することが可能な半導体装置を提供することにある。
【0006】
本開示によって提供される半導体装置は、半導体チップと、前記半導体チップの厚さ方向について前記半導体チップに対向する支持面を有し、前記半導体チップを支持する支持部と、前記半導体チップと前記支持面との間に介在し、且つ、前記半導体チップを前記支持部に接合する接合層と、前記半導体チップおよび前記接合層を覆う封止部材と、を備え、前記封止部材は、前記支持面上に位置する被覆部と、前記被覆部上に形成された封止部と、を含み、前記被覆部は、前記厚さ方向に見て前記接合層の四隅を覆い、前記被覆部の塑性ひずみ域は、前記封止部の塑性ひずみ域よりも大きい。
【0007】
本開示のその他の特徴および利点は、添付図面に基づき以下に行う詳細な説明によって、より明らかとなろう。
【図面の簡単な説明】
【0008】
図1は、第1実施形態にかかる半導体装置を示す斜視図である。
図2は、第1実施形態にかかる半導体装置を示す平面図である。
図3は、図2の平面図において、封止部材の封止部を想像線(二点鎖線)で示した図である。
図4は、第1実施形態にかかる半導体装置を示す底面図である。
図5は、第1実施形態にかかる半導体装置を示す正面図である。
図6は、図3のVI-VI線に沿う断面図である。
図7は、図3のVII-VII線に沿う断面図である。
図8は、図3のVIII-VIII線に沿う断面図である。
図9は、図6の一部を拡大した部分拡大図である。
図10は、図3の一部を拡大した部分拡大図である。
図11は、ある材料の応力とひずみとの関係を示す特性曲線である。
図12は、第1実施形態の変形例にかかる半導体装置を示す断面図であって、図7の断面に対応する。
図13は、第2実施形態にかかる半導体装置を示す平面図であって、封止部材の封止部を想像線(二点鎖線)で示した図である。
図14は、図13の一部を拡大した部分拡大図である。
図15は、第2実施形態にかかる半導体装置を示す要部拡大断面図であって、図9の断面に対応する。
図16は、第2実施形態の第1変形例にかかる半導体装置を示す平面図であって、封止部材の封止部を想像線(二点鎖線)で示した図である。
図17は、図16の一部を拡大した部分拡大図である。
図18は、第2実施形態の第1変形例にかかる半導体装置を示す要部拡大断面図であって、図9の断面に対応する。
図19は、第2実施形態の第1変形例の他の構成例にかかる半導体装置を示す要部拡大断面図であって、図18の断面に対応する。
図20は、第2実施形態の第2変形例にかかる半導体装置を示す要部拡大平面図であって、図17に対応する。
図21は、第2実施形態の第2変形例にかかる半導体装置を示す要部拡大断面図であって、図18の断面に対応する。
図22は、第3実施形態にかかる半導体装置を示す平面図であって、封止部材の封止部を想像線(二点鎖線)で示した図である。
図23は、図22の一部を拡大した部分拡大図である。
図24は、図23のXXIV-XXIV線に沿う要部拡大断面図である。
図25は、本開示の他の構成例にかかる半導体装置を示す断面図である。
【0009】
[詳細な説明]
本開示の半導体装置の好ましい実施の形態について、図面を参照して、以下に説明する。以下では、同一あるいは類似の構成要素に、同じ符号を付して、重複する説明を省略する。本開示における「第1」、「第2」、「第3」等の用語は、単にラベルとして用いたものであり、必ずしもそれらの対象物に順列を付することを意図していない。
【0010】
本開示において、「ある物Aがある物Bに形成されている」および「ある物Aがある物B(の)上に形成されている」とは、特段の断りのない限り、「ある物Aがある物Bに直接形成されていること」、および、「ある物Aとある物Bとの間に他の物を介在させつつ、ある物Aがある物Bに形成されていること」を含む。同様に、「ある物Aがある物Bに配置されている」および「ある物Aがある物B(の)上に配置されている」とは、特段の断りのない限り、「ある物Aがある物Bに直接配置されていること」、および、「ある物Aとある物Bとの間に他の物を介在させつつ、ある物Aがある物Bに配置されていること」を含む。同様に、「ある物Aがある物B(の)上に位置している」とは、特段の断りのない限り、「ある物Aがある物Bに接して、ある物Aがある物B(の)上に位置していること」、および、「ある物Aとある物Bとの間に他の物が介在しつつ、ある物Aがある物B(の)上に位置していること」を含む。また、「ある方向に見てある物Aがある物Bに重なる」とは、特段の断りのない限り、「ある物Aがある物Bのすべてに重なること」、および、「ある物Aがある物Bの一部に重なること」を含む。また、「ある物A(の材料)がある材料Cを含む」とは、「ある物A(の材料)がある材料Cからなる場合」、および、「ある物A(の材料)の主成分がある材料Cである場合」を含む。また、「ある面Aがある方向B(の一方側または他方側)を向く」とは、特段の断りのない限り、面Aの方向Bに対する角度が90°である場合に限定されず、面Aが方向Bに対して傾いている場合を含む。また、「ある面Aがある面Bに直交する」とは、特段の断りのない限り、面Aの面Bに対する角度が90°である場合に限定されず、面Aが面Bに対して傾いている場合を含む。
(【0011】以降は省略されています)
この特許をJ-PlatPat(特許庁公式サイト)で参照する
関連特許
ローム株式会社
半導体装置
6日前
ローム株式会社
半導体装置
今日
ローム株式会社
半導体装置
今日
ローム株式会社
半導体装置
1日前
ローム株式会社
半導体集積回路
今日
ローム株式会社
半導体集積回路
今日
ローム株式会社
半導体装置および車両
今日
ローム株式会社
整流回路およびAC/DCコンバータ
2日前
ローム株式会社
整流回路およびAC/DCコンバータ
2日前
ローム株式会社
整流回路およびAC/DCコンバータ
2日前
ローム株式会社
イグナイタおよび内燃機関点火システム
2日前
ローム株式会社
モータドライバ回路およびサーバー冷却システム
今日
ローム株式会社
半導体装置
6日前
ローム株式会社
半導体装置
6日前
ローム株式会社
半導体装置
今日
ローム株式会社
トランスデューサ、共振器、発振器及びトランスデューサの製造方法
6日前
ローム株式会社
窒化物半導体装置、半導体モジュール、および窒化物半導体装置の製造方法
今日
ローム株式会社
相互コンダクタンスアンプ、コントローラ回路およびそれを備えるDC/DCコンバータ
今日
個人
三重コイル変圧器
1日前
日機装株式会社
加圧装置
6日前
ローム株式会社
半導体装置
今日
日新イオン機器株式会社
イオン源
6日前
ローム株式会社
半導体装置
1日前
富士電機株式会社
電磁接触器
21日前
株式会社GSユアサ
蓄電装置
21日前
株式会社GSユアサ
蓄電装置
1か月前
三菱電機株式会社
回路遮断器
29日前
大電株式会社
電線又はケーブル
13日前
株式会社東芝
電子源
6日前
ホシデン株式会社
複合コネクタ
15日前
トヨタ自動車株式会社
蓄電装置
13日前
日本特殊陶業株式会社
保持装置
1か月前
株式会社トクミ
ケーブル
7日前
株式会社ヨコオ
コネクタ
今日
個人
電源ボックス及び電子機器
6日前
日本特殊陶業株式会社
保持装置
1日前
続きを見る
他の特許を見る