TOP
|
特許
|
意匠
|
商標
特許ウォッチ
Twitter
他の特許を見る
公開番号
2025178927
公報種別
公開特許公報(A)
公開日
2025-12-09
出願番号
2024085805
出願日
2024-05-27
発明の名称
整流回路およびAC/DCコンバータ
出願人
ローム株式会社
代理人
個人
,
個人
主分類
H02M
7/12 20060101AFI20251202BHJP(電力の発電,変換,配電)
要約
【課題】AC/DCコンバータを小型化する。
【解決手段】第1入力端子IN1および第2入力端子IN2は、交流電源2からの交流電圧V
AC
を受ける。フルブリッジ回路210は、ハイサイド素子である2個の双方向スイッチQ3,Q4と、ローサイド素子である2個の整流ダイオードD1,D2と、を含む。平滑キャパシタC1は、フルブリッジ回路210と接続される。コントローラ220は、交流電圧V
AC
と平滑キャパシタC1の両端間電圧V
C1
に応じて、双方向スイッチQ3,Q4のオン、オフを制御する。
【選択図】図1
特許請求の範囲
【請求項1】
交流電源が発生する交流電圧を受けるべき第1入力端子および第2入力端子と、
前記第1入力端子および前記第2入力端子と接続され、ハイサイド素子のペアおよびローサイド素子のペアを含み、前記ハイサイド素子のペアおよび前記ローサイド素子のペアうちの一方が双方向スイッチで構成され、他方が整流ダイオードで構成されたフルブリッジ回路と、
前記フルブリッジ回路と接続された平滑キャパシタと、
前記交流電圧と前記平滑キャパシタの両端間電圧に応じて、前記双方向スイッチのオン、オフを制御するコントローラと、
を備える、整流回路。
続きを表示(約 200 文字)
【請求項2】
前記ハイサイド素子のペアが双方向スイッチで構成される、請求項1に記載の整流回路。
【請求項3】
前記ローサイド素子のペアが双方向スイッチで構成される、請求項1に記載の整流回路。
【請求項4】
請求項1から3のいずれかに記載の整流回路と、
前記整流回路と接続されたDC/DCコンバータと、
を備える、AC/DCコンバータ。
発明の詳細な説明
【技術分野】
【0001】
本開示は、整流回路およびAC/DCコンバータに関する。
続きを表示(約 1,700 文字)
【背景技術】
【0002】
商用交流電源から電子機器への電源供給に、AC/DCコンバータが使用される。AC/DCコンバータは、交流電圧を整流する整流回路と、整流回路の出力電圧を負荷に適した電圧レベルに変換するDC/DCコンバータを含む。
【0003】
力率改善(PFC:Power Factor Correction)を必要としない75W以下のAC/DCコンバータでは、ダイオードブリッジと電解コンデンサを組み合わせた交流整流回路を使うことが一般的であった。この構成では、電解コンデンサには、交流入力電圧のおおよそ√2倍の電圧が発生する。そのため、電解コンデンサとして、たとえば400V高耐圧の部品を選定する必要があった。この電解コンデンサは、AC/DCコンバータの小型化、低コスト化の障害となっていた。
【先行技術文献】
【特許文献】
【0004】
特開2024-001433号公報
【0005】
[概要]
本開示はこうした状況に鑑みてなされたものであり、その例示的な目的のひとつは、AC/DCコンバータの小型化にある。
【0006】
本開示のある態様は、整流回路に関する。整流回路は、交流電源が発生する交流電圧を受けるべき第1入力端子および第2入力端子と、第1入力端子および第2入力端子と接続され、ハイサイド素子のペアおよびローサイド素子のペアを含み、ハイサイド素子のペアおよびローサイド素子のペアうちの一方が双方向スイッチで構成され、他方が整流ダイオードで構成されたフルブリッジ回路と、フルブリッジ回路と接続された平滑キャパシタと、交流電圧と平滑キャパシタの両端間電圧に応じて、双方向スイッチのオン、オフを制御するコントローラと、を備える。
【0007】
なお、以上の構成要素を任意に組み合わせたもの、構成要素や表現を、方法、装置、システムなどの間で相互に置換したものもまた、本発明あるいは本開示の態様として有効である。さらに、この項目(課題を解決するための手段)の記載は、本発明の欠くべからざるすべての特徴を説明するものではなく、したがって、記載されるこれらの特徴のサブコンビネーションも、本発明たり得る。
【図面の簡単な説明】
【0008】
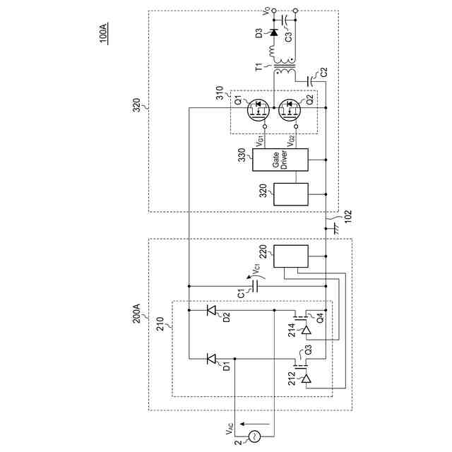
図1は、実施形態に係るAC/DCコンバータの回路図である。
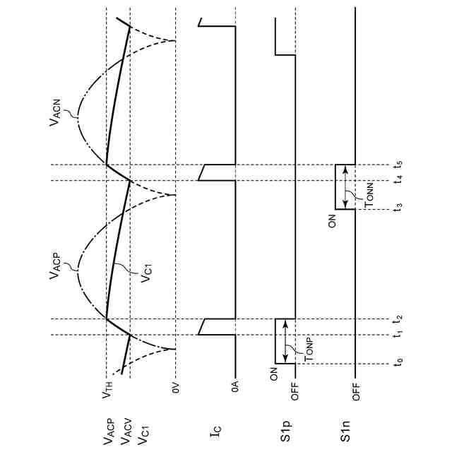
図2は、図1のAC/DCコンバータの動作を説明する波形図である。
図3は、変形例1に係るAC/DCコンバータの回路図である。
【0009】
[詳細な説明]
(実施形態の概要)
本開示のいくつかの例示的な実施形態の概要を説明する。この概要は、後述する詳細な説明の前置きとして、実施形態の基本的な理解を目的として、1つまたは複数の実施形態のいくつかの概念を簡略化して説明するものであり、発明あるいは開示の広さを限定するものではない。この概要は、考えられるすべての実施形態の包括的な概要ではなく、すべての実施形態の重要な要素を特定することも、一部またはすべての態様の範囲を線引きすることも意図していない。便宜上、「一実施形態」は、本明細書に開示するひとつの実施形態(実施例や変形例)または複数の実施形態(実施例や変形例)を指すものとして用いる場合がある。
【0010】
一実施形態に係る整流回路は、整流回路は、交流電源が発生する交流電圧を受けるべき第1入力端子および第2入力端子と、第1入力端子および第2入力端子と接続され、ハイサイド素子のペアおよびローサイド素子のペアを含み、ハイサイド素子のペアおよびローサイド素子のペアうちの一方が双方向スイッチで構成され、他方が整流ダイオードで構成されたフルブリッジ回路と、フルブリッジ回路と接続された平滑キャパシタと、交流電圧と平滑キャパシタの両端間電圧に応じて、双方向スイッチのオン、オフを制御するコントローラと、を備える。
(【0011】以降は省略されています)
この特許をJ-PlatPat(特許庁公式サイト)で参照する
関連特許
ローム株式会社
半導体装置
今日
ローム株式会社
半導体装置
1か月前
ローム株式会社
半導体装置
1か月前
ローム株式会社
半導体装置
1か月前
ローム株式会社
半導体装置
28日前
ローム株式会社
半導体装置
28日前
ローム株式会社
半導体装置
5日前
ローム株式会社
半導体装置
20日前
ローム株式会社
半導体装置
12日前
ローム株式会社
半導体装置
12日前
ローム株式会社
半導体装置
12日前
ローム株式会社
電源制御装置
28日前
ローム株式会社
信号伝達装置
28日前
ローム株式会社
定電圧生成回路
12日前
ローム株式会社
定電圧生成回路
12日前
ローム株式会社
半導体集積回路
13日前
ローム株式会社
半導体集積回路
12日前
ローム株式会社
半導体モジュール
21日前
ローム株式会社
モータドライバ回路
28日前
ローム株式会社
比較回路、半導体装置
12日前
ローム株式会社
逐次比較型AD変換回路
20日前
ローム株式会社
サーマルプリントヘッド
12日前
ローム株式会社
半導体装置およびシステム
20日前
ローム株式会社
電源制御装置及び電源装置
5日前
ローム株式会社
監視回路及びレジスタ制御装置
12日前
ローム株式会社
電源制御装置、スイッチング電源
5日前
ローム株式会社
昇圧型スイッチングレギュレータ
14日前
ローム株式会社
信号受信装置、IC及び電気機器
26日前
ローム株式会社
モータドライバ回路および駆動方法
13日前
ローム株式会社
電圧調整装置及び電荷蓄積システム
14日前
ローム株式会社
整流回路およびAC/DCコンバータ
1日前
ローム株式会社
整流回路およびAC/DCコンバータ
1日前
ローム株式会社
整流回路およびAC/DCコンバータ
1日前
ローム株式会社
半導体装置および半導体装置の製造方法
1か月前
ローム株式会社
半導体装置および半導体装置の製造方法
13日前
ローム株式会社
イグナイタおよび内燃機関点火システム
1日前
続きを見る
他の特許を見る