TOP
|
特許
|
意匠
|
商標
特許ウォッチ
Twitter
他の特許を見る
10個以上の画像は省略されています。
公開番号
2025170665
公報種別
公開特許公報(A)
公開日
2025-11-19
出願番号
2024075437
出願日
2024-05-07
発明の名称
半導体モジュール
出願人
ローム株式会社
代理人
個人
主分類
H01L
25/07 20060101AFI20251112BHJP(基本的電気素子)
要約
【課題】複数の信号端子を一つの領域に集約して配置することを容易にする半導体モジュールを提供する。
【解決手段】半導体モジュールA10は、厚さ方向zに離隔する素子主面21aおよび素子裏面21bを有する半導体素子21と、厚さ方向zに離隔する素子主面22aおよび素子裏面22bを有する半導体素子22と、素子裏面21bが接合された導電体121および素子裏面22bが接合された導電体122を有する支持部材10と、各々が半導体素子21および半導体素子22のいずれかに導通する複数の信号端子19と、支持部材10に支持される信号基板601と、半導体素子21および半導体素子22を覆う封止部材50と、を備える。複数の信号端子19の各々は、共通の信号基板601に接合されている。
【選択図】図5
特許請求の範囲
【請求項1】
厚さ方向に離隔する第1主面および第1裏面を有する第1半導体素子と、
前記厚さ方向に離隔する第2主面および第2裏面を有する第2半導体素子と、
前記第1裏面が接合された第1導電体および前記第2裏面が接合された第2導電体を有する支持部材と、
各々が前記第1半導体素子および前記第2半導体素子のいずれかに導通する複数の信号端子と、
前記支持部材に支持される第1信号基板と、
前記第1半導体素子および前記第2半導体素子を覆う封止部材と、
を備え、
前記複数の信号端子の各々は、共通の前記第1信号基板に接合されている、半導体モジュール。
続きを表示(約 1,400 文字)
【請求項2】
前記複数の信号端子は、前記第1半導体素子を制御するための第1信号端子および第2信号端子と、前記第2半導体素子を制御するための第3信号端子および第4信号端子とを含む、請求項1に記載の半導体モジュール。
【請求項3】
前記第1信号基板は、絶縁層と、第1配線部、第2配線部、第3配線部および第4配線部とを有し、
前記第1配線部、前記第2配線部、前記第3配線部および前記第4配線部の各々は、前記厚さ方向について、前記絶縁層を基準に前記支持部材と反対側に位置し、
前記第1信号端子は、前記第1配線部に電気的に接続され、
前記第2信号端子は、前記第2配線部に電気的に接続され、
前記第3信号端子は、前記第3配線部に電気的に接続され、
前記第4信号端子は、前記第4配線部に電気的に接続されている、請求項2に記載の半導体モジュール。
【請求項4】
前記第1半導体素子は、第1電極、第2電極および第3電極を有し、前記第3電極に入力される第1駆動信号に応じて、前記第1電極から前記第2電極に電流が流れ、
前記第2半導体素子は、第4電極、第5電極および第6電極を有し、前記第6電極に入力される第2駆動信号に応じて、前記第4電極から前記第5電極に電流が流れる、請求項3に記載の半導体モジュール。
【請求項5】
前記第1半導体素子および前記第2半導体素子の少なくとも一方に導通する第1電力端子をさらに備え、
前記封止部材は、前記厚さ方向に直交する第1方向の一方を向く第1側面を有し、
前記第1電力端子は、前記第1側面から突き出る、請求項4に記載の半導体モジュール。
【請求項6】
前記第1電力端子は、前記第2電極および前記第4電極に導通する、請求項5に記載の半導体モジュール。
【請求項7】
前記第1電極に導通する第2電力端子と、
前記第5電極に導通する第3電力端子と、をさらに備え、
前記封止部材は、前記第1方向について、前記第1側面と反対側を向く第2側面を有し、
前記第2電力端子および前記第3電力端子は、前記第2側面から突き出る、請求項6に記載の半導体モジュール。
【請求項8】
前記第1電極に導通する追加の第2電力端子を備えることで、2つの第2電力端子を備えており、
前記第3電力端子は、前記厚さ方向および前記第1方向の各々に直交する第2方向において、前記2つの第2電力端子に挟まれている、請求項7に記載の半導体モジュール。
【請求項9】
前記第5電極に導通する追加の第3電力端子を備えることで、2つの第3電力端子を備えており、
前記第2電力端子は、前記厚さ方向および前記第1方向の各々に直交する第2方向において、前記2つの第3電力端子に挟まれている、請求項7に記載の半導体モジュール。
【請求項10】
少なくとも1つの追加の第1半導体素子を備えることで、複数の第1半導体素子を備えており、
前記複数の第1半導体素子は、前記厚さ方向および前記第1方向の各々に直交する第2方向に並んでいる、請求項5ないし請求項9のいずれかに記載の半導体モジュール。
(【請求項11】以降は省略されています)
発明の詳細な説明
【技術分野】
【0001】
本開示は、半導体モジュールに関する。
続きを表示(約 5,100 文字)
【背景技術】
【0002】
従来、MOSFET(Metal-Oxide-Semiconductor Field-Effect Transistor)やIGBT(Insulated-Gate Bipolar Transistor)などの半導体素子を搭載した半導体モジュールが広く知られている。特許文献1には、従来の半導体モジュールの一例が開示されている。特許文献1に記載の半導体モジュールは、複数の半導体素子、複数の入力端子、出力端子、複数の制御端子および封止樹脂を備える。封止樹脂は、複数の半導体素子を覆う。複数の入力端子、出力端子および複数の制御端子はそれぞれ、封止樹脂から突き出ている。複数の半導体素子は、第1半導体素子および第2半導体素子を含んでいる。複数の半導体素子(第1半導体素子および第2半導体素子)は、スイッチング機能によって、複数の入力端子から入力される電力を変換して、出力端子から出力する。複数の制御端子はそれぞれ、複数の半導体素子(第1半導体素子および第2半導体素子)のいずれかに導通している。複数の制御端子はそれぞれ、複数の半導体素子のスイッチング機能を制御するための信号が入力または出力される信号端子である。
【先行技術文献】
【特許文献】
【0003】
特開2023-181544号公報
【0004】
[概要]
半導体モジュールは、産業機器から家電や情報端末、自動車用機器まで種々な電子機器に搭載されうる。そのため、複数の信号端子の位置は、特許文献1に記載の半導体モジュールとは異なるものが求められることがある。例えば、特許文献1に記載の半導体モジュールでは、第1半導体素子に導通する複数の信号端子(制御端子)と、第2半導体素子に導通する複数の信号端子(制御端子)とがそれぞれ、互いに異なる領域に集約した配置されている。
【0005】
本開示は、上記事情に鑑みて考え出されたものであり、その目的は、複数の信号端子を一つの領域に集約して配置することを容易にする半導体モジュールを提供することにある。
【0006】
本開示によって提供される半導体モジュールは、厚さ方向に離隔する第1主面および第1裏面を有する第1半導体素子と、前記厚さ方向に離隔する第2主面および第2裏面を有する第2半導体素子と、前記第1裏面が接合された第1導電体および前記第2裏面が接合された第2導電体を有する支持部材と、各々が前記第1半導体素子および前記第2半導体素子のいずれかに導通する複数の信号端子と、前記支持部材に支持される第1信号基板と、前記第1半導体素子および前記第2半導体素子を覆う封止部材と、を備え、前記複数の信号端子の各々は、共通の前記第1信号基板に接合されている。
【0007】
本開示のその他の特徴および利点は、添付図面に基づき以下に行う詳細な説明によって、より明らかとなろう。
【図面の簡単な説明】
【0008】
図1は、第1実施形態にかかる半導体モジュールを示す斜視図である。
図2は、第1実施形態にかかる半導体モジュールを示す平面図である。
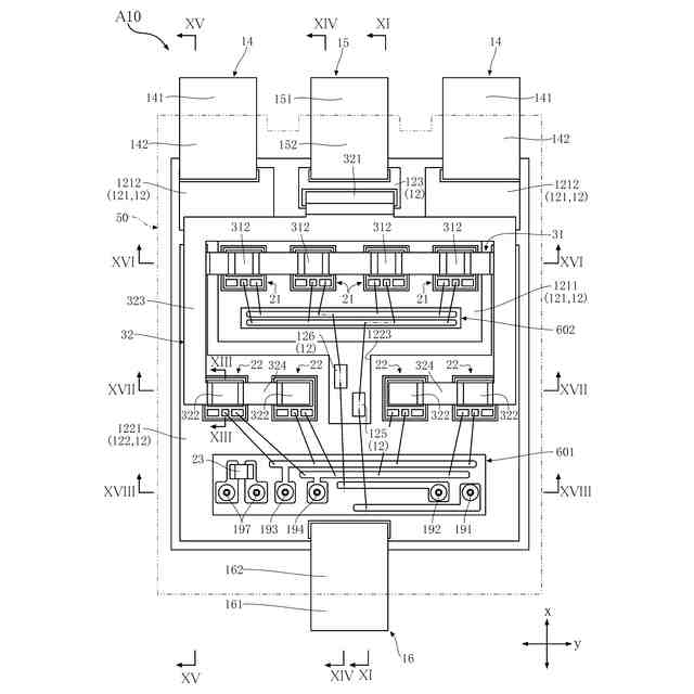
図3は、図2の平面図において、封止樹脂を想像線で示した図である。
図4は、図3の平面図において、さらに2つの導通部材の一方を想像線で示した図である。
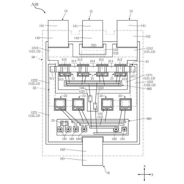
図5は、図4の平面図において、2つの導通部材の一方(図4において想像線で示したもの)を省略して、他方を想像線で示した図である。
図6は、第1実施形態にかかる半導体モジュールを示す正面図である。
図7は、第1実施形態にかかる半導体モジュールを示す底面図である。
図8は、第1実施形態にかかる半導体モジュールを示す背面図である。
図9は、第1実施形態にかかる半導体モジュールを示す左側面図である。
図10は、第1実施形態にかかる半導体モジュールを示す右側面図である。
図11は、図3のXI-XI線に沿う断面図である。
図12は、図11の一部を拡大した部分拡大図である。
図13は、図3のXIII-XIII線に沿う部分断面図である。
図14は、図3のXIV-XIV線に沿う断面図である。
図15は、図3のXV-XV線に沿う断面図である。
図16は、図3のXVI-XVI線に沿う断面図である。
図17は、図3のXVII-XVII線に沿う断面図である。
図18は、図3のXVIII-XVIII線に沿う断面図である。
図19は、第1実施形態にかかる半導体モジュールを備える電力変換ユニットを示す平面図である。
図20は、第1実施形態にかかる半導体モジュールを備える電力変換ユニットを示す正面図である。
図21は、第1実施形態にかかる半導体モジュールを備える電力変換ユニットを示す断面図であって、図18の断面に対応する。
図22は、図21に示す電力変換ユニットの要部拡大断面図である。
図23は、第1実施形態にかかる半導体モジュールを備える電力変換ユニットを備えた車両の概要図である。
図24は、第1実施形態の第1変形例にかかる半導体モジュールを示す平面図であって、封止樹脂を想像線で示した図である。
図25は、図24の平面図において、さらに2つの導通部材の一方を想像線で示した図である。
図26は、第1実施形態の第2変形例にかかる半導体モジュールを示す平面図であって、封止樹脂および2つの導通部材の一方を想像線で示した図である。
図27は、第2実施形態にかかる半導体モジュールを示す平面図であって、封止樹脂を想像線で示した図である。
図28は、図27の平面図において、さらに2つの導通部材の一方を想像線で示した図である。
図29は、図27のXXIX-XXIX線に沿う断面図である。
図30は、図27のXXX-XXX線に沿う断面図である。
図31は、第2実施形態の変形例にかかる半導体モジュールを示す平面図であって、封止樹脂を想像線で示した図である。
図32は、図31の平面図において、さらに2つの導通部材の一方を想像線で示した図である。
図33は、第3実施形態にかかる半導体モジュールを示す平面図であって、封止樹脂を想像線で示した図である。
図34は、図33の平面図において、さらに2つの導通部材の一方を想像線で示した図である。
図35は、図33のXXXV-XXXV線に沿う断面図である。
図36は、図33のXXXVI-XXXVI線に沿う断面図である。
図37は、第3実施形態の第1変形例にかかる半導体モジュールを示す平面図であって、封止樹脂を想像線で示した図である。
図38は、第3実施形態の第2変形例にかかる半導体モジュールを示す平面図であって、封止樹脂を想像線で示した図である。
図39は、第4実施形態にかかる半導体モジュールを示す平面図であって、封止樹脂を想像線で示した図である。
図40は、図39の平面図において、さらに2つの導通部材の一方を想像線で示した図である。
図41は、図39のXLI-XLI線に沿う断面図である。
図42は、図39のXLII-XLII線に沿う断面図である。
図43は、第4実施形態の第1変形例にかかる半導体モジュールを示す平面図であって、封止樹脂を想像線で示した図である。
図44は、第4実施形態の第2変形例にかかる半導体モジュールを示す平面図であって、封止樹脂を想像線で示した図である。
図45は、第5実施形態にかかる半導体モジュールを示す平面図であって、封止樹脂を想像線で示した図である。
図46は、第5実施形態の変形例にかかる半導体モジュールを示す平面図であって、封止樹脂を想像線で示した図である。
図47は、第6実施形態にかかる半導体モジュールを示す平面図である。
図48は、図47の平面図において、封止樹脂を想像線で示した図である。
図49は、第7実施形態にかかる半導体モジュールを示す斜視図である。
図50は、第7実施形態にかかる半導体モジュールを示す平面図である。
図51は、図50の平面図において、封止樹脂を想像線で示した図である。
図52は、第7実施形態の変形例にかかる半導体モジュールを示す斜視図である。
図53は、第7実施形態の変形例にかかる半導体モジュールを示す平面図であって、封止樹脂を想像線で示した図である。
図54は、第8実施形態にかかる半導体モジュールを示す平面図であって、封止樹脂を想像線で示した図である。
図55は、図54のLV-LV線に沿う部分断面図である。
図56は、第9実施形態にかかる半導体モジュールを示す平面図であって、封止樹脂を想像線で示した図である。
図57は、本開示の半導体モジュールの電力端子の他の構成例を示す平面図であって、封止樹脂を想像線で示した図である。
図58は、本開示の半導体モジュールの導通部材の他の構成例を示す平面図であって、封止樹脂を想像線で示した図である。
図59は、本開示の半導体モジュールの導通部材の他の構成例を示す平面図であって、封止樹脂を想像線で示した図である。
図60は、本開示の半導体モジュールの接続部材の他の構成例を示す平面図であって、2つの導通部材の一方を省略しつつ他の導通部材の他方および封止樹脂を想像線で示した図である。
図61は、本開示の半導体モジュールの複数の信号端子の他の構成例を示す平面図であって、2つの導通部材の一方を省略しつつ他の導通部材の他方および封止樹脂を想像線で示した図である。
【0009】
[詳細な説明]
本開示の半導体モジュールの好ましい実施の形態について、図面を参照して、以下に説明する。以下では、同一あるいは類似の構成要素に、同じ符号を付して、重複する説明を省略する。本開示における「第1」、「第2」、「第3」等の用語は、単にラベルとして用いたものであり、必ずしもそれらの対象物に順列を付することを意図していない。
【0010】
本開示において、「ある物Aがある物Bに形成されている」および「ある物Aがある物B(の)上に形成されている」とは、特段の断りのない限り、「ある物Aがある物Bに直接形成されていること」、および、「ある物Aとある物Bとの間に他の物を介在させつつ、ある物Aがある物Bに形成されていること」を含む。同様に、「ある物Aがある物Bに配置されている」および「ある物Aがある物B(の)上に配置されている」とは、特段の断りのない限り、「ある物Aがある物Bに直接配置されていること」、および、「ある物Aとある物Bとの間に他の物を介在させつつ、ある物Aがある物Bに配置されていること」を含む。同様に、「ある物Aがある物B(の)上に位置している」とは、特段の断りのない限り、「ある物Aがある物Bに接して、ある物Aがある物B(の)上に位置していること」、および、「ある物Aとある物Bとの間に他の物が介在しつつ、ある物Aがある物B(の)上に位置していること」を含む。また、「ある方向に見てある物Aがある物Bに重なる」とは、特段の断りのない限り、「ある物Aがある物Bのすべてに重なること」、および、「ある物Aがある物Bの一部に重なること」を含む。また、「ある物A(の材料)がある材料Cを含む」とは、「ある物A(の材料)がある材料Cからなる場合」、および、「ある物A(の材料)の主成分がある材料Cである場合」を含む。また、「ある面Aがある方向B(の一方側または他方側)を向く」とは、特段の断りのない限り、面Aの方向Bに対する角度が90°である場合に限定されず、面Aが方向Bに対して傾いている場合を含む。また、「ある面Aがある面Bに直交する」とは、特段の断りのない限り、面Aの面Bに対する角度が90°である場合に限定されず、面Aが面Bに対して傾いている場合を含む。
(【0011】以降は省略されています)
この特許をJ-PlatPat(特許庁公式サイト)で参照する
関連特許
他の特許を見る