TOP
|
特許
|
意匠
|
商標
特許ウォッチ
Twitter
他の特許を見る
10個以上の画像は省略されています。
公開番号
2025177305
公報種別
公開特許公報(A)
公開日
2025-12-05
出願番号
2024083991
出願日
2024-05-23
発明の名称
半導体装置
出願人
ローム株式会社
代理人
個人
,
個人
,
個人
主分類
H10D
1/68 20250101AFI20251128BHJP()
要約
【課題】 大容量を有することが可能なキャパシタを備えた半導体装置を提供する。
【解決手段】
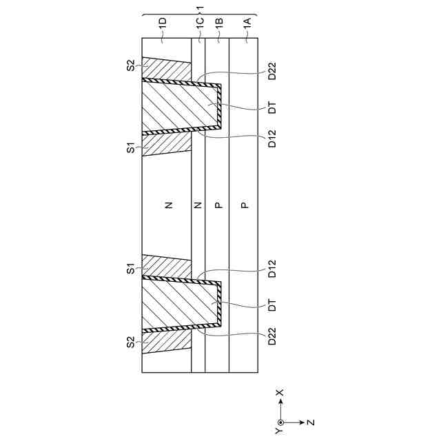
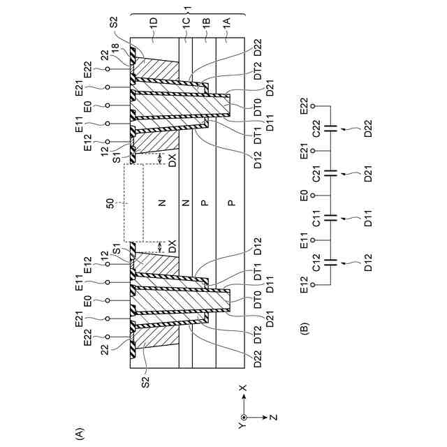
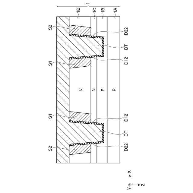
本開示の半導体装置は、主導電領域DT0と、第1導電領域DT1と、第2導電領域DT2と、第1の第1側誘電体層(第1内側誘電体層D11)と、第2の第1側誘電体層(第2内側誘電体層D12)と、第1の第2側誘電体層(第1外側誘電体層D21)と、第2の第2側誘電体層(第2外側誘電体層D22)と、を備えている。主トレンチは、エピタキシャル半導体層1Dの表面から下地エピタキシャル半導体層1Bを貫通する深さまで延び、主導電領域DT0は、半導体基板1Aに電気的に接続され、第1トレンチ及び第2トレンチは、それぞれエピタキシャル半導体層1Dの表面から下地エピタキシャル半導体層1Bに到達する深さまで延び、第1導電領域DT1及び第2導電領域DT2は、下地エピタキシャル半導体層1Bとは電気的に絶縁されている。
【選択図】 図4
特許請求の範囲
【請求項1】
半導体基板上に順次積層された下地エピタキシャル半導体層、埋込半導体層、及び、エピタキシャル半導体層を備え、
平面視において、
主トレンチと、
前記主トレンチの第1側に形成された第1トレンチと、
前記主トレンチの第2側に形成された第2トレンチと、
前記第1トレンチの第1側に形成された第1シンカー領域と、
前記第2トレンチの第2側に形成された第2シンカー領域と、
を備え、
前記主トレンチ内に埋め込まれた主導電領域と、
前記第1トレンチ内に埋め込まれた第1導電領域と、
前記第2トレンチ内に埋め込まれた第2導電領域と、
前記主導電領域と前記第1導電領域との間に設けられた第1の第1側誘電体層と、
前記第1導電領域と前記第1シンカー領域との間に設けられた第2の第1側誘電体層と、
前記主導電領域と前記第2導電領域との間に設けられた第1の第2側誘電体層と、
前記第2導電領域と前記第2シンカー領域との間に設けられた第2の第2側誘電体層と、
を備え、
前記主トレンチは、前記エピタキシャル半導体層の表面から前記下地エピタキシャル半導体層を貫通する深さまで延び、前記主導電領域は、前記半導体基板に電気的に接続され、
前記第1トレンチ及び前記第2トレンチは、それぞれ前記エピタキシャル半導体層の表面から前記下地エピタキシャル半導体層に到達する深さまで延び、前記第1導電領域及び前記第2導電領域は、前記下地エピタキシャル半導体層とは電気的に絶縁されている、
半導体装置。
続きを表示(約 1,600 文字)
【請求項2】
前記主導電領域に電気的に接続された主電極と、
前記第1導電領域に電気的に接続された第1電極と、
前記第2導電領域に電気的に接続された第2電極と、
前記第1シンカー領域に電気的に接続された第1シンカー用電極と、
前記第2シンカー領域に電気的に接続された第2シンカー用電極と、
を備える、
請求項1に記載の半導体装置。
【請求項3】
前記半導体基板の導電型は第1導電型であり、
前記下地エピタキシャル半導体層の導電型は第1導電型であり、
前記埋込半導体層の導電型は第2導電型であり、
前記エピタキシャル半導体層の導電型は第2導電型である、
請求項1に記載の半導体装置。
【請求項4】
前記第1シンカー領域の導電型は、第1導電型であり、
前記第2シンカー領域の導電型は、第1導電型である、
請求項3に記載の半導体装置。
【請求項5】
前記第1シンカー領域の不純物濃度C
S1
及び前記第2シンカー領域の不純物濃度C
S2
は、以下の関係:
1×10
15
cm
-3
≦C
S1
≦1×10
19
cm
-3
、
1×10
15
cm
-3
≦C
S2
≦1×10
19
cm
-3
、
を満たす、
請求項4に記載の半導体装置。
【請求項6】
前記エピタキシャル半導体層内に形成されたデバイスを更に備え、
平面視において、前記主トレンチは、環状であり、前記デバイスを囲み、
前記第1側は内側であり、前記第2側は外側であり、
前記デバイスは、第1導電型の半導体ウエル領域内に形成された電界効果トランジスタを備えており、
前記半導体ウエル領域と前記第1シンカー領域との間の最短距離DXは、以下の関係:2μm≦DX≦10μmを満たす、
請求項5に記載の半導体装置。
【請求項7】
前記エピタキシャル半導体層内に形成されたデバイスを更に備え、
平面視において、前記主トレンチは、環状であり、前記デバイスを囲み、
前記第1側は内側であり、前記第2側は外側である、
請求項1に記載の半導体装置。
【請求項8】
平面視において、前記第1トレンチは、前記デバイスを囲んでいる、
請求項7に記載の半導体装置。
【請求項9】
平面視において、前記第2トレンチは、前記主トレンチを囲んでいる、
請求項8に記載の半導体装置。
【請求項10】
前記主導電領域、前記第1導電領域、及び、前記主導電領域と前記第1導電領域との間に挟まれた前記第1の第1側誘電体層は、第1の第1側キャパシタを構成し、
前記第1導電領域、前記第1シンカー領域、及び、前記第1導電領域と前記第1シンカー領域との間に挟まれた前記第2の第1側誘電体層は、第2の第1側キャパシタを構成し、
前記主導電領域、前記第2導電領域、及び、前記主導電領域と前記第2導電領域との間に挟まれた前記第1の第2側誘電体層は、第1の第2側キャパシタを構成し、
前記第2導電領域、前記第2シンカー領域、及び、前記第2導電領域と前記第2シンカー領域との間に挟まれた前記第2の第2側誘電体層は、第2の第2側キャパシタを構成し、
前記第2の第1側キャパシタ、前記第1の第1側キャパシタ、前記第1の第2側キャパシタ、及び、前記第2の第2側キャパシタは、電気的に直列に接続されている、
請求項1~請求項9のいずれか一項に記載の半導体装置。
発明の詳細な説明
【技術分野】
【0001】
本開示は、半導体装置に関する。
続きを表示(約 2,100 文字)
【背景技術】
【0002】
特許文献1は、ディープ・トレンチ・アイソレーション(DTI)構造を含む半導体装置を開示している。
【先行技術文献】
【特許文献】
【0003】
国際公開第2022/153693号
【0004】
[概要]
本開示は、大容量を有することが可能なキャパシタを備えた半導体装置を提供する。
【0005】
本開示の半導体装置は、半導体基板上に順次積層された下地エピタキシャル半導体層、埋込半導体層、及び、エピタキシャル半導体層を備え、平面視において、主トレンチと、前記主トレンチの第1側に形成された第1トレンチと、前記主トレンチの第2側に形成された第2トレンチと、前記第1トレンチの第1側に形成された第1シンカー領域と、前記第2トレンチの第2側に形成された第2シンカー領域と、を備え、前記主トレンチ内に埋め込まれた主導電領域と、前記第1トレンチ内に埋め込まれた第1導電領域と、前記第2トレンチ内に埋め込まれた第2導電領域と、前記主導電領域と前記第1導電領域との間に設けられた第1の第1側誘電体層と、前記第1導電領域と前記第1シンカー領域との間に設けられた第2の第1側誘電体層と、前記主導電領域と前記第2導電領域との間に設けられた第1の第2側誘電体層と、前記第2導電領域と前記第2シンカー領域との間に設けられた第2の第2側誘電体層と、を備え、前記主トレンチは、前記エピタキシャル半導体層の表面から前記下地エピタキシャル半導体層を貫通する深さまで延び、前記主導電領域は、前記半導体基板に電気的に接続され、前記第1トレンチ及び前記第2トレンチは、それぞれ前記エピタキシャル半導体層の表面から前記下地エピタキシャル半導体層に到達する深さまで延び、前記第1導電領域及び前記第2導電領域は、前記下地エピタキシャル半導体層とは電気的に絶縁されている。
【図面の簡単な説明】
【0006】
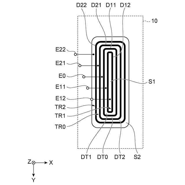
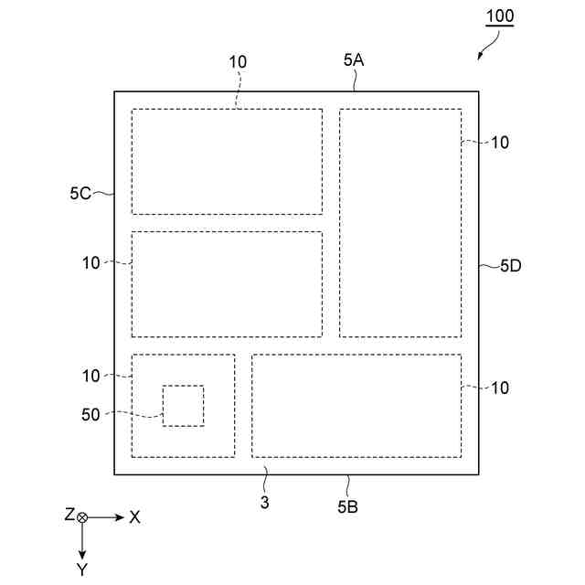
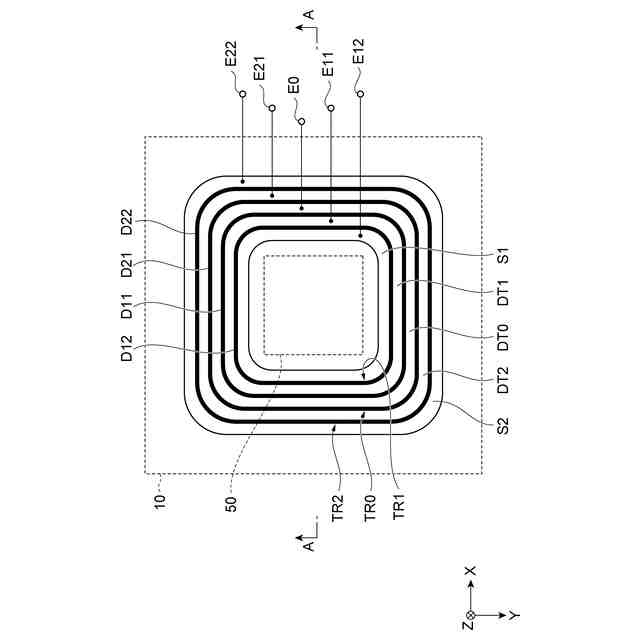
図1は、半導体チップの平面図である。
図2は、第1例に係るデバイス領域の平面図である。
図3は、第2例に係るデバイス領域の平面図である。
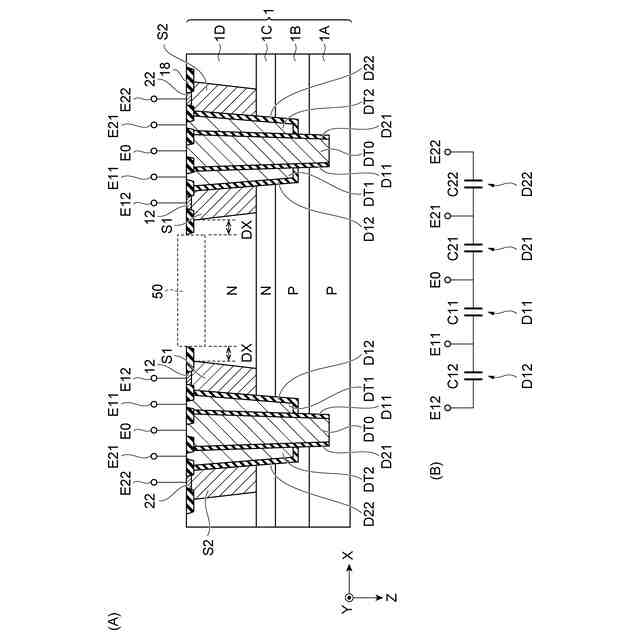
図4は、図2に示したデバイス領域のA-A矢印断面図(図4(A))及び回路図(図4(B))である。
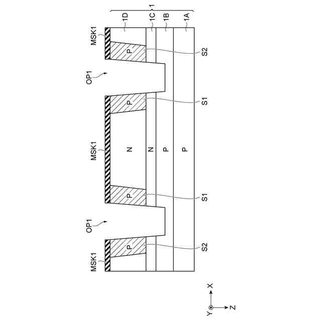
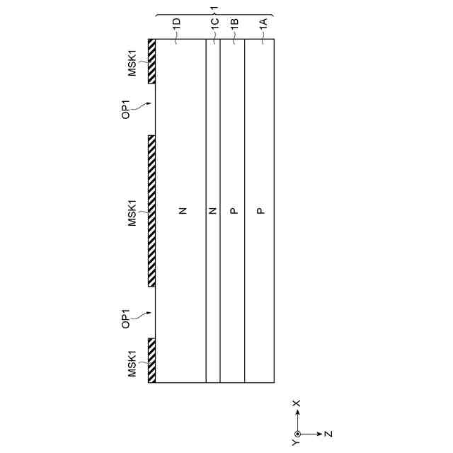
図5は、半導体装置の製造方法を説明するための半導体装置の縦断面構成を示す図である。
図6は、半導体装置の製造方法を説明するための半導体装置の縦断面構成を示す図である。
図7は、半導体装置の製造方法を説明するための半導体装置の縦断面構成を示す図である。
図8は、半導体装置の製造方法を説明するための半導体装置の縦断面構成を示す図である。
図9は、半導体装置の製造方法を説明するための半導体装置の縦断面構成を示す図である。
図10は、半導体装置の製造方法を説明するための半導体装置の縦断面構成を示す図である。
図11は、半導体装置の製造方法を説明するための半導体装置の縦断面構成を示す図である。
図12は、半導体装置の製造方法を説明するための半導体装置の縦断面構成を示す図である。
図13は、半導体装置の製造方法を説明するための半導体装置の縦断面構成を示す図である。
図14は、一例に係るデバイスの縦断面構成を示す図である。
【0007】
[詳細な説明]
以下、図面を参照して種々の例示的実施形態について詳細に説明する。なお、各図面において同一又は相当の部分に対しては同一の符号を附することとし、重複する説明は省略する。
【0008】
図1は、半導体チップの平面図である。
【0009】
半導体チップ100(半導体装置)は、直方体形状を有している。半導体チップ100は、一方側に第1主面3を備えている。第1主面3の反対側には、裏面が位置する。半導体チップ100は第1主面3と裏面を接続する第1側面5A、第2側面5B、第3側面5C、第4側面5Dを有している。半導体チップ100の厚み方向をZ軸方向とし、Z軸に垂直な方向をX軸方向とし、Z軸及びX軸の双方に垂直な方向をY軸方向とする。なお、半導体チップ100の深さ方向をZ軸の正方向とし、Z軸の負方向は半導体基板の裏面から第1主面3(上面)に向かう方向を示すものとする。
【0010】
第1主面3及び裏面は、それぞれZ軸に垂直である。第1主面3の法線方向(Z軸方向)からみた第1主面3の平面形状(平面視の形状)は長方形(四角形)である。半導体基板の裏面の平面視の形状は長方形(四角形)である。平面視において長方形の対向する二辺を構成する第1側面5A及び第2側面5Bは、それぞれX軸方向に沿って延びている。平面視において長方形の対向する他の二辺を構成する第3側面5C及び第4側面5Dは、それぞれY軸方向に沿って延びている。これらの隣接する側面は平面視において直交しているが、直交以外の角度で交差することもできる。
(【0011】以降は省略されています)
この特許をJ-PlatPat(特許庁公式サイト)で参照する
関連特許
ローム株式会社
半導体装置
今日
ローム株式会社
半導体集積回路
7日前
ローム株式会社
サーマルプリントヘッド
7日前
ローム株式会社
電源制御装置及び電源装置
今日
ローム株式会社
電源制御装置、スイッチング電源
今日
ローム株式会社
ドライバ、信号伝達装置、電子機器、車両
今日
ローム株式会社
検出回路、信号伝達装置、電子機器、車両
7日前
ローム株式会社
サーマルプリントヘッド及びその製造方法
7日前
ローム株式会社
窒化物半導体装置および窒化物半導体装置の製造方法
7日前
ローム株式会社
半導体装置
今日
ローム株式会社
半導体装置
今日
ローム株式会社
半導体装置
7日前
ローム株式会社
双方向DC/DCコンバータ、電源遮断保護回路および半導体装置
1日前
ローム株式会社
トランスデューサ、共振器、発振器及びトランスデューサの製造方法
今日
ローム株式会社
トランスデューサ、及びその駆動方法、並びにシステム
7日前
個人
半導体装置
1か月前
個人
積和演算用集積回路
29日前
東レ株式会社
太陽電池モジュール
1か月前
サンケン電気株式会社
半導体装置
28日前
旭化成株式会社
発光素子
1か月前
エイブリック株式会社
縦型ホール素子
1か月前
エイブリック株式会社
縦型ホール素子
1か月前
日機装株式会社
半導体発光装置
23日前
ローム株式会社
抵抗チップ
1か月前
ローム株式会社
半導体装置
7日前
富士通株式会社
半導体装置
1か月前
三菱電機株式会社
半導体装置
15日前
三菱電機株式会社
半導体装置
1か月前
三菱電機株式会社
半導体装置
2日前
株式会社半導体エネルギー研究所
表示装置
1か月前
株式会社半導体エネルギー研究所
表示装置
7日前
富士電機株式会社
半導体装置
1か月前
三菱電機株式会社
半導体装置
1か月前
株式会社東芝
半導体装置
15日前
日亜化学工業株式会社
発光素子
1か月前
日亜化学工業株式会社
発光装置
1か月前
続きを見る
他の特許を見る