TOP
|
特許
|
意匠
|
商標
特許ウォッチ
Twitter
他の特許を見る
公開番号
2025174923
公報種別
公開特許公報(A)
公開日
2025-11-28
出願番号
2025081672
出願日
2025-05-15
発明の名称
表示装置
出願人
株式会社半導体エネルギー研究所
代理人
主分類
H10K
50/19 20230101AFI20251120BHJP()
要約
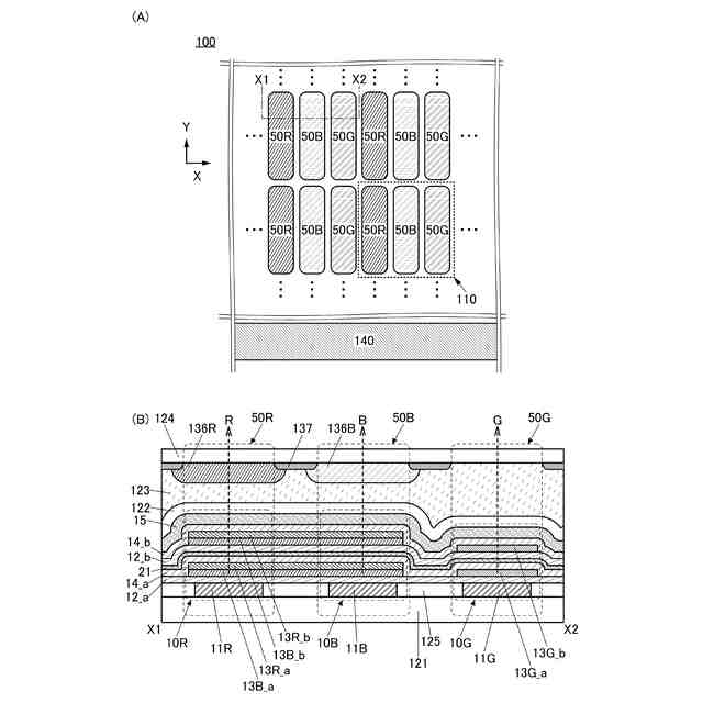
【課題】製造コストが削減された表示装置を提供する。
【解決手段】異なる色の光を呈する第1乃至第3の副画素を有し、第1の副画素は、第1の着色層及び第1の発光デバイスを有し、第2の副画素は、第2の着色層及び第2の発光デバイスを有し、第3の副画素は、第3の発光デバイスを有し、第1の発光デバイスは、一対の電極間に第1及び第2の発光層を有し、かつ第1及び第2の発光層の間に第1の中間層を有し、第1及び第2の発光層は、それぞれ青色の発光物質を有する層と赤色の発光物質を有する層とを有し、第2の発光デバイスは、一対の電極間に第3及び第4の発光層を有し、かつ第3及び第4の発光層の間に第2の中間層を有し、第3及び第4の発光層は、それぞれ青色の発光物質を有する層と赤色の発光物質を有する層とを有し、第3の発光デバイスは、一対の電極間に第5及び第6の発光層を有し、かつ第5及び第6の発光層の間に第3の中間層を有し、第5及び第6の発光層は、それぞれ緑色の発光物質を有する層である、表示装置。
【選択図】図1
特許請求の範囲
【請求項1】
異なる色の光を呈する第1の副画素、第2の副画素、及び第3の副画素を有し、
前記第1の副画素は、第1の着色層及び第1の発光デバイスを有し、
前記第2の副画素は、第2の着色層及び第2の発光デバイスを有し、
前記第3の副画素は、第3の発光デバイスを有し、
前記第1の発光デバイスは、一対の電極間に第1の発光層と第2の発光層を有し、かつ前記第1の発光層と前記第2の発光層の間に第1の中間層を有し、
前記第1の発光層および前記第2の発光層は、それぞれ青色の発光物質を有する層と赤色の発光物質を有する層とを有し、
前記第2の発光デバイスは、一対の電極間に第3の発光層と第4の発光層を有し、かつ前記第3の発光層と前記第4の発光層の間に第2の中間層を有し、
前記第3の発光層および前記第4の発光層は、それぞれ青色の発光物質を有する層と赤色の発光物質を有する層とを有し、
前記第3の発光デバイスは、一対の電極間に第5の発光層と第6の発光層を有し、かつ前記第5の発光層と前記第6の発光層の間に第3の中間層を有し、
前記第5の発光層および前記第6の発光層は、それぞれ緑色の発光物質を有する層である、表示装置。
続きを表示(約 2,200 文字)
【請求項2】
異なる色の光を呈する第1の副画素及び第2の副画素を有し、
前記第1の副画素は、第1の着色層及び第1の発光デバイスを有し、
前記第2の副画素は、第2の着色層及び第2の発光デバイスを有し、
前記第1の発光デバイスは、一対の電極間に第1の発光層、第2の発光層、第3の発光層、第4の発光層、及び第1の中間層を有し、
前記第1の発光層は、前記第2の発光層に接し、
前記第3の発光層は、前記第4の発光層に接し、
前記第1の中間層は、前記第1の発光層及び前記第3の発光層の間に位置し、かつ、前記第2の発光層及び前記第4の発光層の間に位置し、
前記第2の発光デバイスは、一対の電極間に第5の発光層、第6の発光層、第7の発光層、第8の発光層、及び第2の中間層を有し、
前記第5の発光層は、前記第6の発光層に接し、
前記第7の発光層は、前記第8の発光層に接し、
前記第2の中間層は、前記第5の発光層及び前記第7の発光層の間に位置し、かつ、前記第6の発光層及び前記第8の発光層の間に位置し、
前記第1の発光層及び前記第5の発光層は、第1の発光物質を有し、
前記第2の発光層及び前記第6の発光層は、第2の発光物質を有し、
前記第3の発光層及び前記第7の発光層は、前記第1の発光物質を有し、
前記第4の発光層及び前記第8の発光層は、前記第2の発光物質を有する、表示装置。
【請求項3】
請求項2において、
前記第1の発光物質は、青色の発光物質であり、
前記第2の発光物質は、赤色の発光物質である、表示装置。
【請求項4】
請求項2において、
前記第1の発光物質及び前記第2の発光物質のうちの一方の発光波長は、他方の発光波長の1.18倍以上1.88倍以下である、表示装置。
【請求項5】
異なる色の光を呈する第1の副画素、第2の副画素、及び第3の副画素を有し、
前記第1の副画素は、第1の着色層及び第1の発光デバイスを有し、
前記第2の副画素は、第2の着色層及び第2の発光デバイスを有し、
前記第3の副画素は、第3の発光デバイスを有し、
前記第1の発光デバイスは、一対の電極間に第1の発光層、第2の発光層、第3の発光層、第4の発光層、及び第1の中間層を有し、
前記第1の発光層は、前記第2の発光層に接し、
前記第3の発光層は、前記第4の発光層に接し、
前記第1の中間層は、前記第1の発光層及び前記第3の発光層の間に位置し、かつ、前記第2の発光層及び前記第4の発光層の間に位置し、
前記第2の発光デバイスは、一対の電極間に第5の発光層、第6の発光層、第7の発光層、第8の発光層、及び第2の中間層を有し、
前記第5の発光層は、前記第6の発光層に接し、
前記第7の発光層は、前記第8の発光層に接し、
前記第2の中間層は、前記第5の発光層及び前記第7の発光層の間に位置し、かつ、前記第6の発光層及び前記第8の発光層の間に位置し、
前記第3の発光デバイスは、一対の電極間に第9の発光層、第10の発光層、及び第3の中間層を有し、
前記第3の中間層は、前記第9の発光層及び前記第10の発光層の間に位置し、
前記第1の発光層及び前記第5の発光層は、第1の発光物質を有し、
前記第2の発光層及び前記第6の発光層は、第2の発光物質を有し、
前記第3の発光層及び前記第7の発光層は、前記第1の発光物質を有し、
前記第4の発光層及び前記第8の発光層は、前記第2の発光物質を有し、
前記第9の発光層及び前記第10の発光層は、第3の発光物質を有する、表示装置。
【請求項6】
請求項5において、
前記第1の発光物質は、青色の発光物質であり、
前記第2の発光物質は、赤色の発光物質であり、
前記第3の発光物質は、緑色の発光物質である、表示装置。
【請求項7】
請求項2乃至請求項6のいずれか一において、
前記第1の発光物質は、蛍光発光物質であり、
前記第2の発光物質は、燐光発光物質である、表示装置。
【請求項8】
請求項2乃至請求項6のいずれか一において、
前記第1の発光物質は、蛍光発光物質であり、
前記第2の発光物質は、燐光発光物質であり、
前記第1の発光層は、第1のホスト材料を有し、
前記第1のホスト材料のT
1
準位及び前記第1の発光物質のT
1
準位は、前記第2の発光物質のT
1
準位よりも高い、表示装置。
【請求項9】
請求項1乃至請求項6のいずれか一において、
前記第1の中間層及び前記第2の中間層のそれぞれが、有機化合物と、アルカリ金属またはアルカリ土類金属と、を有する、表示装置。
【請求項10】
請求項1乃至請求項6のいずれか一において、
前記第1の中間層及び前記第2の中間層は、互いに同一の有機化合物と、互いに同一のアルカリ金属またはアルカリ土類金属と、を有する、表示装置。
発明の詳細な説明
【技術分野】
【0001】
本発明の一態様は、表示装置に関する。なお、本発明の一態様は、上記の技術分野に限定されない。本明細書等で開示する発明の一態様の技術分野は、物、方法、または、製造方法に関するものである。または、本発明の一態様は、プロセス、マシン、マニュファクチャ、または、組成物(コンポジション・オブ・マター)に関するものである。そのため、より具体的に本明細書で開示する本発明の一態様の技術分野としては、半導体装置、表示装置、液晶表示装置、発光装置、照明装置、蓄電装置、記憶装置、撮像装置、それらの駆動方法、または、それらの製造方法、を一例として挙げることができる。
続きを表示(約 2,500 文字)
【背景技術】
【0002】
有機化合物を用いたエレクトロルミネッセンス(EL:Electroluminescence)を利用する発光デバイス(有機ELデバイス)の実用化が進んでいる。これら発光デバイスの基本的な構成は、一対の電極間に発光材料を含む有機化合物層(EL層)を挟んだものである。このデバイスに電圧を印加して、キャリアを注入し、当該キャリアの再結合エネルギーを利用することにより、発光材料からの発光を得ることができる。
【0003】
このような発光デバイスは自発光型であるため表示装置の画素に用いると、液晶に比べ、視認性が高く、バックライトが不要である等の利点があり、フラットパネルディスプレイに用いるデバイスとして好適である。また、このような発光デバイスを用いた表示装置は、薄型軽量に作製できることも大きな利点である。さらに非常に応答速度が速いことも特徴の一つである。
【0004】
発光デバイスを用いた表示装置はさまざまな電子機器に好適であり、より良好な特性を有する発光デバイスを求めて研究開発が進められている。特に複数の発光ユニットを積層した、いわゆるタンデム型の発光デバイスは、高い発光効率を実現することから、注目されている。特許文献1および特許文献2は、塗分け方式のタンデム型発光デバイスについて開示している。
【先行技術文献】
【特許文献】
【0005】
特開2005-317548号公報
特開2023-161850号公報
【発明の概要】
【発明が解決しようとする課題】
【0006】
塗分け方式のタンデム型の発光デバイスには、その製造工程が複雑になり、工程数が増加してしまうという問題がある。そのため、塗分け方式のタンデム型の発光デバイスを表示装置の画素に用いる場合、表示装置の製造コストが増加する、製造歩留まりが低下する、などの課題がある。
【0007】
そこで、本発明の一態様は、製造工程の簡略化した表示装置を提供することを課題とする。また、本発明の一態様は、製造コストを削減した表示装置を提供することを課題とする。また、本発明の一態様は、安価な表示装置を提供することを課題とする。また、本発明の一態様は、消費電力の小さい表示装置を提供することを課題とする。また、本発明の一態様は、新規な表示装置を提供することを課題とする。
【0008】
なお、これらの課題の記載は、他の課題の存在を妨げるものではない。なお、本発明の一態様は、これらの課題の全てを解決する必要はないものとする。なお、これら以外の課題は、明細書、図面、請求項などの記載から、自ずと明らかとなるものであり、明細書、図面、請求項などの記載から、これら以外の課題を抽出することが可能である。
【課題を解決するための手段】
【0009】
本発明の一態様は、異なる色の光を呈する第1の副画素、第2の副画素、及び第3の副画素を有し、第1の副画素は、第1の着色層及び第1の発光デバイスを有し、第2の副画素は、第2の着色層及び第2の発光デバイスを有し、第3の副画素は、第3の発光デバイスを有し、第1の発光デバイスは、一対の電極間に第1の発光層と第2の発光層を有し、かつ第1の発光層と第2の発光層の間に第1の中間層を有し、第1の発光層および第2の発光層は、それぞれ青色の発光物質を有する層と赤色の発光物質を有する層とを有し、第2の発光デバイスは、一対の電極間に第3の発光層と第4の発光層を有し、かつ第3の発光層と第4の発光層の間に第2の中間層を有し、第3の発光層および第4の発光層は、それぞれ青色の発光物質を有する層と赤色の発光物質を有する層とを有し、第3の発光デバイスは、一対の電極間に第5の発光層と第6の発光層を有し、かつ第5の発光層と第6の発光層の間に第3の中間層を有し、第5の発光層および第6の発光層は、それぞれ緑色の発光物質を有する層である、表示装置である。青色の発光物質は、蛍光発光物質であり、赤色の発光物質は、燐光発光物質であるとより好ましい。また、青色の発光物質を有する層は、第1のホスト材料を有し、第1のホスト材料のT
1
準位及び青色の発光物質のT
1
準位は、赤色の発光物質のT
1
準位よりも高いとより好ましい。
【0010】
また、本発明の一態様は、異なる色の光を呈する第1の副画素及び第2の副画素を有し、第1の副画素は、第1の着色層及び第1の発光デバイスを有し、第2の副画素は、第2の着色層及び第2の発光デバイスを有し、第1の発光デバイスは、一対の電極間に第1の発光層、第2の発光層、第3の発光層、第4の発光層、及び第1の中間層を有し、第1の発光層は、第2の発光層に接し、第3の発光層は、第4の発光層に接し、第1の中間層は、第1の発光層及び第3の発光層の間に位置し、かつ、第2の発光層及び第4の発光層の間に位置し、第2の発光デバイスは、一対の電極間に第5の発光層、第6の発光層、第7の発光層、第8の発光層、及び第2の中間層を有し、第5の発光層は、第6の発光層に接し、第7の発光層は、第8の発光層に接し、第2の中間層は、第5の発光層及び第7の発光層の間に位置し、かつ、第6の発光層及び第8の発光層の間に位置し、第1の発光層及び第5の発光層は、第1の発光物質を有し、第2の発光層及び第6の発光層は、第2の発光物質を有し、第3の発光層及び第7の発光層は、第1の発光物質を有し、第4の発光層及び第8の発光層は、第2の発光物質を有する、表示装置である。第1の発光物質は、青色の発光物質であり、第2の発光物質は、赤色の発光物質であるとより好ましい。また、第1の発光物質及び第2の発光物質のうちの一方の発光波長は、他方の発光波長の1.18倍以上1.88倍以下であるとより好ましい。
(【0011】以降は省略されています)
この特許をJ-PlatPat(特許庁公式サイト)で参照する
関連特許
個人
積和演算用集積回路
22日前
サンケン電気株式会社
半導体装置
21日前
日機装株式会社
半導体発光装置
16日前
旭化成株式会社
発光素子
1か月前
ローム株式会社
抵抗チップ
1か月前
ローム株式会社
半導体装置
今日
株式会社半導体エネルギー研究所
表示装置
今日
三菱電機株式会社
半導体装置
8日前
株式会社東芝
半導体装置
8日前
三菱電機株式会社
半導体装置
1か月前
ローム株式会社
半導体集積回路
1か月前
日亜化学工業株式会社
発光装置
1か月前
ローム株式会社
半導体装置
21日前
サンケン電気株式会社
半導体装置
8日前
株式会社半導体エネルギー研究所
発光デバイス
29日前
ローム株式会社
半導体装置
1か月前
株式会社半導体エネルギー研究所
発光デバイス
16日前
ローム株式会社
窒化物半導体装置
1か月前
ローム株式会社
半導体装置
1か月前
大日本印刷株式会社
太陽電池
1か月前
日亜化学工業株式会社
発光素子
21日前
今泉工業株式会社
光発電装置及びその製造方法
1か月前
日亜化学工業株式会社
発光素子
21日前
ローム株式会社
半導体装置
8日前
日亜化学工業株式会社
発光装置
23日前
日本ゼオン株式会社
構造体
23日前
日亜化学工業株式会社
発光装置
1か月前
住友電気工業株式会社
炭化珪素半導体装置
今日
ローム株式会社
半導体装置
21日前
株式会社東芝
半導体装置及びウエーハ
1か月前
株式会社東芝
ウエーハ及び半導体装置
1日前
株式会社東芝
ウエーハ及び半導体装置
1日前
住友電気工業株式会社
炭化珪素半導体装置
1か月前
日亜化学工業株式会社
発光装置の製造方法及び発光装置
1か月前
住友電気工業株式会社
炭化珪素半導体装置
1か月前
住友電気工業株式会社
炭化珪素半導体装置
1か月前
続きを見る
他の特許を見る