TOP
|
特許
|
意匠
|
商標
特許ウォッチ
Twitter
他の特許を見る
10個以上の画像は省略されています。
公開番号
2025160773
公報種別
公開特許公報(A)
公開日
2025-10-23
出願番号
2024063547
出願日
2024-04-10
発明の名称
窒化物半導体装置
出願人
ローム株式会社
代理人
個人
,
個人
主分類
H10D
30/87 20250101AFI20251016BHJP()
要約
【課題】ドレイン電極パッド、ソース電極パッド、およびゲート電極パッドにおける接続の信頼性の低下を抑制すること。
【解決手段】窒化物半導体装置は、窒化物トランジスタと、ドレインパッド71、ソースパッド72、およびゲートパッド73が設けられた第1面21と、第1面21を覆う有機絶縁層90と、を含む。有機絶縁層90は、ドレイン開口部91と、ソース開口部92と、ゲート開口部93と、を含む。各パッド71~73は、第1面21に設けられた第1金属層81と、第1金属層81よりも酸化しにくい材料によって構成され、第1金属層81を覆う第2金属層82と、を含む。ゲートパッド73のうちゲート開口部93によって露出されている部分、ソースパッド72のうちソース開口部92によって露出されている部分、およびドレインパッド71のうちドレイン開口部91によって露出されている部分は、第2金属層82である。
【選択図】図9
特許請求の範囲
【請求項1】
ドレイン電極、ソース電極、およびゲート電極を有する窒化物トランジスタと、前記ドレイン電極と電気的に接続されたドレインパッド、前記ソース電極と電気的に接続されたソースパッド、および前記ゲート電極と電気的に接続されたゲートパッドが設けられた第1面と、を含む窒化物半導体チップと、
前記第1面を覆う有機絶縁層と、
を含み、
前記有機絶縁層は、
前記ドレインパッドを露出するドレイン開口部と、
前記ソースパッドを露出するソース開口部と、
前記ゲートパッドを露出するゲート開口部と、
前記ドレイン開口部と前記ソース開口部との間に設けられ、前記ドレインパッドと前記ソースパッドとを絶縁している第1絶縁部と、
を含み、
前記ドレインパッド、前記ソースパッド、および前記ソースパッドの各々は、
前記第1面に設けられた第1金属層と、
前記第1金属層よりも酸化しにくい材料によって構成され、前記第1金属層を覆う第2金属層と、
を含み、
前記ドレインパッドのうち前記ドレイン開口部によって露出されている部分は、前記第2金属層であり、
前記ソースパッドのうち前記ソース開口部によって露出されている部分は、前記第2金属層であり、
前記ゲートパッドのうち前記ゲート開口部によって露出されている部分は、前記第2金属層である
窒化物半導体装置。
続きを表示(約 1,600 文字)
【請求項2】
前記窒化物半導体チップの厚さ方向から視た平面視において、前記ドレイン開口部は、前記ドレインパッドの前記第1金属層よりも小さく、
前記有機絶縁層は、前記ドレインパッドの前記第1金属層の周縁と重なる位置に設けられ、前記ドレイン開口部を区画するドレインラップ部を含み、
前記平面視において、前記ドレインパッドの前記第2金属層は、前記ドレインパッドの前記第1金属層よりも小さく、
前記平面視において、前記ソース開口部は、前記ソースパッドの前記第1金属層よりも小さく、
前記有機絶縁層は、前記ソースパッドの前記第1金属層の周縁と重なる位置に設けられ、前記ソース開口部を区画するソースラップ部を含み、
前記平面視において、前記ソースパッドの前記第2金属層は、前記ソースパッドの前記第1金属層よりも小さい
請求項1に記載の窒化物半導体装置。
【請求項3】
前記ドレインラップ部の厚さは、前記ドレインパッドの前記第2金属層の厚さよりも厚く、
前記ソースラップ部の厚さは、前記ソースパッドの前記第2金属層の厚さよりも厚い
請求項2に記載の窒化物半導体装置。
【請求項4】
前記ドレインパッドの前記第2金属層に接合された導電性のドレインクリップと、
前記ソースパッドの前記第2金属層に接合された導電性のソースクリップと、
を含む
請求項2に記載の窒化物半導体装置。
【請求項5】
前記ドレインクリップの厚さは、前記ドレインラップ部の厚さよりも厚く、
前記ソースクリップの厚さは、前記ソースラップ部の厚さよりも厚い
請求項4に記載の窒化物半導体装置。
【請求項6】
前記ドレインパッドの前記第2金属層と前記ドレインクリップとを接合する第1導電性接合材と、
前記ソースパッドの前記第2金属層と前記ソースクリップとを接合する第2導電性接合材と、
を含み、
前記第1導電性接合材は、前記ドレインクリップの側面に接しており、
前記第2導電性接合材は、前記ソースクリップの側面に接している
請求項5に記載の窒化物半導体装置。
【請求項7】
前記第1導電性接合材のうち前記ドレインクリップの前記側面に接する部分の厚さは、前記ドレインラップ部の厚さよりも厚く、
前記第2導電性接合材のうち前記ソースクリップの前記側面に接する部分の厚さは、前記ソースラップ部の厚さよりも厚い
請求項6に記載の窒化物半導体装置。
【請求項8】
前記第1導電性接合材は、前記有機絶縁層のうち前記ドレイン開口部を構成する側面に接しており、
前記第2導電性接合材は、前記有機絶縁層のうち前記ソース開口部を構成する側面に接している
請求項6に記載の窒化物半導体装置。
【請求項9】
前記第1導電性接合材のうち前記ドレイン開口部の前記側面に接する部分の厚さは、前記ドレインラップ部の厚さ以下であり、
前記第2導電性接合材のうち前記ソース開口部の前記側面に接する部分の厚さは、前記ソースラップ部の厚さ以下である
請求項8に記載の窒化物半導体装置。
【請求項10】
前記ドレインパッドおよび前記ソースパッドの各々は複数設けられており、
複数の前記ドレインパッドおよび複数の前記ソースパッドは、第1方向において1つずつ交互に配置されており、
前記ドレインクリップの厚さおよび前記ソースクリップの厚さの双方は、前記第1方向において隣り合う前記ドレインパッドと前記ソースパッドとの間の距離である第1パッド間距離よりも厚い
請求項4に記載の窒化物半導体装置。
(【請求項11】以降は省略されています)
発明の詳細な説明
【技術分野】
【0001】
本開示は、窒化物半導体装置に関する。
続きを表示(約 2,800 文字)
【背景技術】
【0002】
特許文献1には、窒化物半導体を用いたHEMT(High Electron Mobility Transistor)であるトランジスタと、トランジスタが載せられるリードフレームと、トランジスタを封止する封止樹脂と、を含む半導体デバイスが開示されている。トランジスタの表面には、5個のドレイン電極パッド、4個のソース電極パッド、および1個のゲート電極パッドが設けられている。ドレイン電極パッドは、リードフレームにおけるドレインフレームと電気的に接続されている。ソース電極パッドは、リードフレームにおけるソースフレームと電気的に接続されている。ゲート電極パッドは、リードフレームにおけるゲートフレームと電気的に接続されている。
【先行技術文献】
【特許文献】
【0003】
特許第6827776号公報
【0004】
[概要]
ドレイン電極パッド、ソース電極パッド、およびゲート電極パッドにおける接続の信頼性の低下を抑制することが望ましい。
【0005】
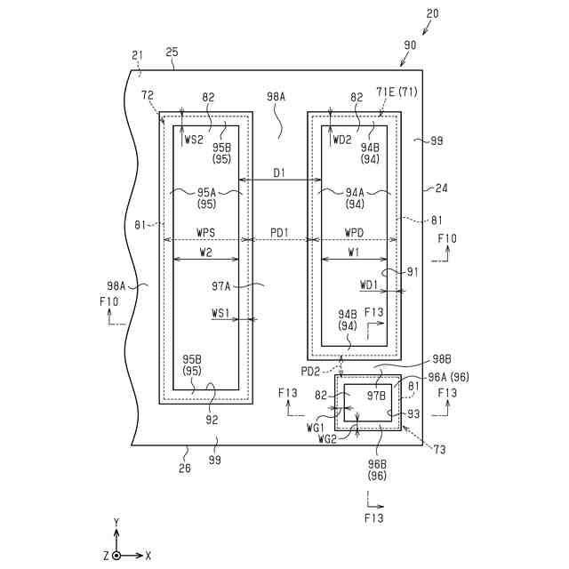
本開示の一態様の窒化物半導体装置は、ドレイン電極、ソース電極、およびゲート電極を有する窒化物トランジスタと、前記ドレイン電極と電気的に接続されたドレインパッド、前記ソース電極と電気的に接続されたソースパッド、および前記ゲート電極と電気的に接続されたゲートパッドが設けられた第1面と、を含む窒化物半導体チップと、前記第1面を覆う有機絶縁層と、を含み、前記有機絶縁層は、前記ドレインパッドを露出するドレイン開口部と、前記ソースパッドを露出するソース開口部と、前記ゲートパッドを露出するゲート開口部と、前記ドレイン開口部と前記ソース開口部との間に設けられ、前記ドレインパッドと前記ソースパッドとを絶縁している第1絶縁部と、を含み、前記ドレインパッド、前記ソースパッド、および前記ソースパッドの各々は、前記第1面に設けられた第1金属層と、前記第1金属層よりも酸化しにくい材料によって構成され、前記第1金属層を覆う第2金属層と、を含み、前記ドレインパッドのうち前記ドレイン開口部によって露出されている部分は、前記第2金属層であり、前記ソースパッドのうち前記ソース開口部によって露出されている部分は、前記第2金属層であり、前記ゲートパッドのうち前記ゲート開口部によって露出されている部分は、前記第2金属層である。
【図面の簡単な説明】
【0006】
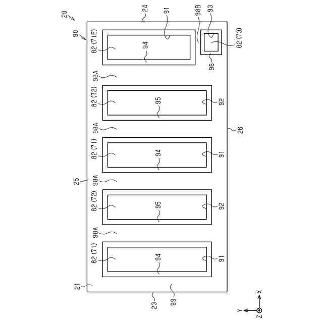
図1は、一実施形態に係る例示的な窒化物半導体装置の内部構成を示す概略平面図である。
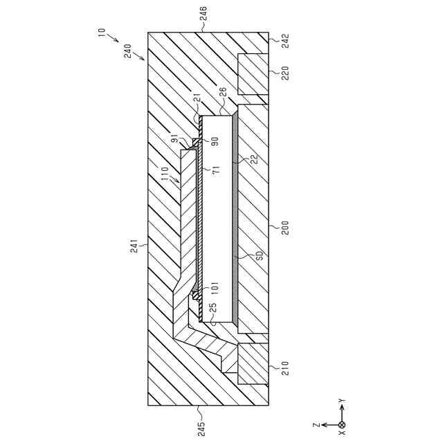
図2は、図1のF2-F2線で窒化物半導体装置を切断した概略断面図である。
図3は、図1の窒化物半導体装置における窒化物半導体チップの概略斜視図である。
図4は、図3の窒化物半導体チップの概略平面図である。
図5は、図4の窒化物半導体チップの内部の配線構成を示す概略平面図である。
図6は、図5の窒化物半導体チップのトランジスタセルの概略平面図である。
図7は、図6のトランジスタセルの一部および配線の一部を拡大した概略平面図である。
図8は、図7のF8-F8線で窒化物半導体チップを切断した概略断面図である。
図9は、図4の窒化物半導体チップにおけるゲートパッドおよびその周辺を拡大した概略断面図である。
図10は、図9のF10-F10線で窒化物半導体チップを切断した概略断面図である。
図11は、図10の窒化物半導体チップにおけるドレインパッドおよびその周辺を拡大した概略断面図である。
図12は、図10の窒化物半導体チップにおけるソースパッドおよびその周辺を拡大した概略断面図である。
図13は、図9のF13-F13線で窒化物半導体チップを切断した概略断面図である。
図14は、クリップを接合した状態の図9のF10-F10線で窒化物半導体チップを切断した概略断面図である。
図15は、図14のドレインクリップおよびその周辺を拡大した概略断面図である。
図16は、一実施形態に係る例示的な窒化物半導体装置の製造工程を説明するための概略断面図である。
図17は、図16に示す工程に続く工程の概略断面図である。
図18は、図17に示す工程に続く工程の概略断面図である。
図19は、図18に示す工程に続く工程の概略断面図である。
図20は、図19に示す工程に続く工程の概略断面図である。
図21は、変更例の窒化物半導体チップについて、クリップが接合された状態の概略断面図である。
図22は、変更例の窒化物半導体チップにおけるドレインパッド、ソースパッド、およびその周辺を拡大した概略平面図である。
図23は、変更例の窒化物半導体チップにおけるドレインパッド、ソースパッド、およびその周辺を拡大した概略平面図である。
図24は、変更例の窒化物半導体チップにおけるドレインパッド、ソースパッド、およびその周辺を拡大した概略平面図である。
【0007】
[詳細な説明]
以下、添付図面を参照して本開示における窒化物半導体装置のいくつかの実施形態について説明する。なお、説明を簡単かつ明確にするため、図面に示される構成要素は、必ずしも一定の縮尺で描かれていない。また、理解を容易にするため、断面図ではハッチング線が省略されている場合がある。添付の図面は、本開示の実施形態を例示するものに過ぎず、本開示を制限するものとみなされるべきではない。
【0008】
以下の詳細な記載は、本開示の例示的な実施形態を具体化する装置、システム、および方法を含む。この詳細な記載は本来説明のためのものに過ぎず、本開示の実施形態またはこのような実施形態の適用および使用を限定することを意図しない。
【0009】
本開示において使用される「少なくとも1つ」という表現は、所望の選択肢の「1つ以上」を意味する。一例として、本開示において使用される「少なくとも1つ」という表現は、選択肢の数が2つであれば「1つの選択肢のみ」または「2つの選択肢の双方」を意味する。他の例として、本開示において使用される「少なくとも1つ」という表現は、選択肢の数が3つ以上であれば「1つの選択肢のみ」または「2つ以上の任意の選択肢の組み合わせ」を意味する。
【0010】
本開示において使用される「Aの寸法(幅、長さ)がBの寸法(幅、長さ)と等しい」または「Aの寸法(幅、長さ)とBの寸法(幅、長さ)とが互いに等しい」とは、Aの寸法(幅、長さ)とBの寸法(幅、長さ)との差が例えばAの寸法(幅、長さ)の10%以内の関係も含む。
(【0011】以降は省略されています)
この特許をJ-PlatPat(特許庁公式サイト)で参照する
関連特許
ローム株式会社
半導体装置
8日前
ローム株式会社
半導体装置
29日前
ローム株式会社
半導体装置
8日前
ローム株式会社
半導体装置
8日前
ローム株式会社
半導体装置
24日前
ローム株式会社
半導体装置
24日前
ローム株式会社
半導体装置
29日前
ローム株式会社
半導体装置
16日前
ローム株式会社
半導体装置
1日前
ローム株式会社
半導体装置
29日前
ローム株式会社
電源制御装置
24日前
ローム株式会社
信号伝達装置
24日前
ローム株式会社
定電圧生成回路
8日前
ローム株式会社
半導体集積回路
8日前
ローム株式会社
半導体集積回路
9日前
ローム株式会社
定電圧生成回路
8日前
ローム株式会社
半導体モジュール
17日前
ローム株式会社
モータドライバ回路
24日前
ローム株式会社
比較回路、半導体装置
8日前
ローム株式会社
サーマルプリントヘッド
8日前
ローム株式会社
逐次比較型AD変換回路
16日前
ローム株式会社
半導体装置およびシステム
16日前
ローム株式会社
電源制御装置及び電源装置
1日前
ローム株式会社
監視回路及びレジスタ制御装置
8日前
ローム株式会社
昇圧型スイッチングレギュレータ
10日前
ローム株式会社
電源制御装置、スイッチング電源
1日前
ローム株式会社
信号受信装置、IC及び電気機器
22日前
ローム株式会社
電圧調整装置及び電荷蓄積システム
10日前
ローム株式会社
モータドライバ回路および駆動方法
9日前
ローム株式会社
半導体装置および半導体装置の製造方法
9日前
ローム株式会社
検出回路、信号伝達装置、電子機器、車両
8日前
ローム株式会社
サーマルプリントヘッド及びその製造方法
8日前
ローム株式会社
半導体装置、および半導体装置の製造方法
8日前
ローム株式会社
力率改善回路、制御装置、および電子機器
29日前
ローム株式会社
ドライバ、信号伝達装置、電子機器、車両
1日前
ローム株式会社
半導体装置、および半導体装置の製造方法
22日前
続きを見る
他の特許を見る