TOP
|
特許
|
意匠
|
商標
特許ウォッチ
Twitter
他の特許を見る
10個以上の画像は省略されています。
公開番号
2025169773
公報種別
公開特許公報(A)
公開日
2025-11-14
出願番号
2024074869
出願日
2024-05-02
発明の名称
半導体装置、および半導体装置の製造方法
出願人
ローム株式会社
代理人
個人
,
個人
主分類
H01L
23/12 20060101AFI20251107BHJP(基本的電気素子)
要約
【課題】低抵抗化を図るのに適した半導体装置及びその製造方法を提供する。
【解決手段】半導体装置A10は、半導体素子10と、半導体素子10の厚さ方向zのz1側に位置する電極21と、電極21に対して厚さ方向zのz1側に位置するとともに、電極21に導通する再配線40と、再配線40に対して厚さ方向zのz1側に位置するとともに、再配線40に導通する端子50と、端子50に対して厚さ方向zのz1側に位置するとともに、端子50に導通する導電性接合層60と、を備える。端子50は、第1端子および第2端子502を含む。導電性接合層60は、第1端子に導通する第1導電性接合層と、第2端子502に導通する第2導電性接合層602と、を含む。厚さ方向zに見て、第2端子502の面積は、第1端子の面積よりも大きく、第2導電性接合層602の面積は、第1導電性接合層の面積よりも大きい。
【選択図】図5
特許請求の範囲
【請求項1】
半導体素子と、
前記半導体素子の厚さ方向の一方側に位置する電極と、
前記電極に対して前記厚さ方向の一方側に位置するとともに、前記電極に導通する再配線と、
前記再配線に対して前記厚さ方向の一方側に位置するとともに、前記再配線に導通する端子と、
前記端子に対して前記厚さ方向の一方側に位置するとともに、前記端子に導通する導電性接合層と、を備え、
前記端子は、第1端子および第2端子を含み、
前記導電性接合層は、前記第1端子に導通する第1導電性接合層と、前記第2端子に導通する第2導電性接合層と、を含み、
前記厚さ方向に見て、前記第2端子の面積は、前記第1端子の面積よりも大きく、
前記厚さ方向に見て、前記第2導電性接合層の面積は、前記第1導電性接合層の面積よりも大きい、半導体装置。
続きを表示(約 1,200 文字)
【請求項2】
前記厚さ方向に見て、前記第2導電性接合層は、前記第2端子の全体と重なる、請求項1に記載の半導体装置。
【請求項3】
前記第2端子および前記第2導電性接合層は、前記厚さ方向に直交する第1方向に延びており、
前記第2端子の前記第1方向の長さは、前記第1端子の前記第1方向の長さの2倍以上であり、
前記第2導電性接合層の前記第1方向の長さは、前記第1導電性接合層の前記第1方向の長さの2倍以上である、請求項1に記載の半導体装置。
【請求項4】
前記第2端子の前記厚さ方向に直交する第1方向の長さは、前記第1端子の前記第1方向の長さの2倍以上であり、
前記第2端子の前記厚さ方向および前記第1方向に直交する第2方向の長さは、前記第1端子の前記第2方向の長さの2倍以上であり、
前記第2導電性接合層の前記第1方向の長さは、前記第1導電性接合層の前記第1方向の長さの2倍以上であり、
前記第2導電性接合層の前記第2方向の長さは、前記第1導電性接合層の前記第2方向の長さの2倍以上である、請求項1に記載の半導体装置。
【請求項5】
前記導電性接合層は、錫を含む材料からなる、請求項1に記載の半導体装置。
【請求項6】
前記厚さ方向において前記半導体素子と前記再配線との間に位置する第1絶縁膜をさらに備え、
前記第1絶縁膜には、前記厚さ方向に貫通するとともに、前記電極を露出させる第1開口が設けられており、
前記再配線の一部は、前記第1開口に収容されている、請求項1ないし5のいずれかに記載の半導体装置。
【請求項7】
前記第1絶縁膜に対して前記厚さ方向の一方側に位置するとともに、前記再配線を覆う第2絶縁膜をさらに備え、
前記第2絶縁膜には、前記厚さ方向に貫通するとともに、前記再配線を露出させる第2開口および第3開口が設けられており、
前記第1端子の一部は、前記第2開口に収容されており、
前記第2端子の一部は、前記第3開口に収容されている、請求項6に記載の半導体装置。
【請求項8】
前記厚さ方向に見て、前記第3開口の面積は、前記第2開口の面積よりも大きい、請求項7に記載の半導体装置。
【請求項9】
前記第2絶縁膜の前記厚さ方向の寸法は、前記第1絶縁膜の前記厚さ方向の寸法よりも大きい、請求項7に記載の半導体装置。
【請求項10】
前記第1端子は、前記第2開口に収容された第1部と、前記第2開口から突出した第2部と、を含み、
前記厚さ方向に見て、前記第2部は、前記第2開口よりも外方にはみ出している、請求項7に記載の半導体装置。
(【請求項11】以降は省略されています)
発明の詳細な説明
【技術分野】
【0001】
本開示は、半導体装置および半導体装置の製造方法に関する。
続きを表示(約 2,400 文字)
【背景技術】
【0002】
特許文献1には、半導体装置の一例が開示されている。当該半導体装置は、素子形成面を有する基板と、素子形成面に設けられたパッド端子と、パッド端子の一部、および素子形成面を覆うパッシベーション膜と、パッド端子から延び出たCu再配線と、Cu再配線を覆う有機被膜と、有機被膜を覆う樹脂膜とを具備する。上記構成の半導体装置に流れる電流が大きい場合、Cu再配線の平面視における面積を大きくすることで低抵抗化が図られる。しかしながら、半導体装置の大電流化等に伴い、より一層の低抵抗化が求められる場合がある。
【先行技術文献】
【特許文献】
【0003】
特開2014-165335号公報
【0004】
[概要]
本開示は、上記した事情のもとで考え出されたものであって、低抵抗化を図るのに適した半導体装置を提供することを主たる課題とする。
【0005】
本開示の第1の側面によって提供される半導体装置は、半導体素子と、前記半導体素子の厚さ方向の一方側に位置する電極と、前記電極に対して前記厚さ方向の一方側に位置するとともに、前記電極に導通する再配線と、前記再配線に対して前記厚さ方向の一方側に位置するとともに、前記再配線に導通する端子と、前記端子に対して前記厚さ方向の一方側に位置するとともに、前記端子に導通する導電性接合層と、を備え、前記端子は、第1端子および第2端子を含み、前記導電性接合層は、前記第1端子に導通する第1導電性接合層と、前記第2端子に導通する第2導電性接合層と、を含み、前記厚さ方向に見て、前記第2端子の面積は、前記第1端子の面積よりも大きく、前記厚さ方向に見て、前記第2導電性接合層の面積は、前記第1導電性接合層の面積よりも大きい。
【0006】
本開示の第2の側面によって提供される半導体装置の製造方法は、厚さ方向の一方側に電極が配置された半導体素子を準備する工程と、前記半導体素子の前記厚さ方向の一方側に、前記電極を露出させる第1開口を有する第1絶縁膜を形成する工程と、前記第1絶縁膜の前記第1開口に一部が収容されるように、前記電極、および前記第1絶縁膜の一部に再配線を形成する工程と、前記再配線の前記厚さ方向の一方側に、前記再配線の一部を露出させる第2開口および第3開口を有する第2絶縁膜を形成する工程と、前記第2絶縁膜の前記第2開口および前記第3開口に一部が収容されるように、前記再配線の一部および前記第2絶縁膜の一部に端子を形成する工程と、前記端子に導電性接合層を形成する工程と、を含み、前記厚さ方向に見て、前記第3開口の面積は、前記第2開口の面積よりも大きく、前記導電性接合層を形成する工程は、スクリーン印刷を用いて行う。
【0007】
本開示のその他の特徴および利点は、添付図面を参照して以下に行う詳細な説明によって、より明らかとなろう。
【図面の簡単な説明】
【0008】
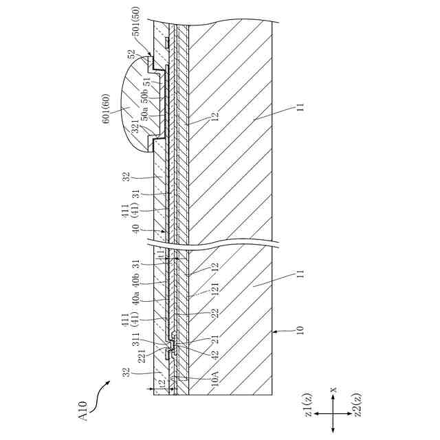
図1は、本開示の第1実施形態に係る半導体装置を示す平面図である。
図2は、図1の平面図において、複数の端子および複数の導電性接合層を省略した図である。
図3は、図2の平面図において、第2絶縁膜を省略した図である。
図4は、図1のIV-IV線に沿う部分拡大断面図である。
図5は、図1のV-V線に沿う部分拡大断面図である。
図6は、本開示の第1実施形態に係る半導体装置の製造方法の一例の一工程を示す断面図である。
図7は、図6に続く工程を示す断面図である。
図8は、図7に続く工程を示す断面図である。
図9は、図8に続く工程を示す断面図である。
図10は、図8に続く工程を示す断面図である。
図11は、図9に続く工程を示す断面図である。
図12は、図11に続く工程を示す断面図である。
図13は、図12に続く工程を示す断面図である。
図14は、図12に続く工程を示す断面図である。
図15は、図13に続く工程を示す断面図である。
図16は、図14に続く工程を示す断面図である。
図17は、図15に続く工程を示す断面図である。
図18は、図16に続く工程を示す断面図である。
図19は、図17に続く工程を示す断面図である。
図20は、図18に続く工程を示す断面図である。
図21は、図19に続く工程を示す断面図である。
図22は、図20に続く工程を示す断面図である。
図23は、図21に続く工程を示す断面図である。
図24は、図22に続く工程を示す断面図である。
図25は、図23に続く工程を示す断面図である。
図26は、図24に続く工程を示す断面図である。
図27は、本開示の第2実施形態に係る半導体装置を示す平面図である。
図28は、図27の平面図において、複数の端子および複数の導電性接合層を省略した図である。
図29は、本開示の第3実施形態に係る半導体装置を示す、図4と同様の断面図である。
図30は、本開示の第3実施形態に係る半導体装置を示す、図5と同様の断面図である。
【0009】
[詳細な説明]
以下、本開示の好ましい実施の形態につき、図面を参照して具体的に説明する。
【0010】
以下では、同一あるいは類似の構成要素に、同じ符号を付して、重複する説明を省略する。本開示における「第1」、「第2」、「第3」等の用語は、単にラベルとして用いたものであり、必ずしもそれらの対象物に順列を付することを意図していない。
(【0011】以降は省略されています)
この特許をJ-PlatPat(特許庁公式サイト)で参照する
関連特許
ローム株式会社
半導体装置
8日前
ローム株式会社
半導体装置
16日前
ローム株式会社
半導体装置
8日前
ローム株式会社
半導体装置
8日前
ローム株式会社
半導体装置
1日前
ローム株式会社
定電圧生成回路
8日前
ローム株式会社
半導体集積回路
8日前
ローム株式会社
半導体集積回路
9日前
ローム株式会社
定電圧生成回路
8日前
ローム株式会社
半導体モジュール
17日前
ローム株式会社
比較回路、半導体装置
8日前
ローム株式会社
逐次比較型AD変換回路
16日前
ローム株式会社
サーマルプリントヘッド
8日前
ローム株式会社
電源制御装置及び電源装置
1日前
ローム株式会社
半導体装置およびシステム
16日前
ローム株式会社
監視回路及びレジスタ制御装置
8日前
ローム株式会社
電源制御装置、スイッチング電源
1日前
ローム株式会社
昇圧型スイッチングレギュレータ
10日前
ローム株式会社
モータドライバ回路および駆動方法
9日前
ローム株式会社
電圧調整装置及び電荷蓄積システム
10日前
ローム株式会社
半導体装置および半導体装置の製造方法
9日前
ローム株式会社
半導体装置、および半導体装置の製造方法
22日前
ローム株式会社
ドライバ、信号伝達装置、電子機器、車両
1日前
ローム株式会社
サーマルプリントヘッド及びその製造方法
8日前
ローム株式会社
検出回路、信号伝達装置、電子機器、車両
8日前
ローム株式会社
半導体装置、および半導体装置の製造方法
8日前
ローム株式会社
コントローラ、ターゲット、及び通信システム
8日前
ローム株式会社
電源回路、電子コントロールユニット、自動車
16日前
ローム株式会社
雨検出装置、雨検出システム、および、雨検出方法
10日前
ローム株式会社
窒化物半導体装置および窒化物半導体装置の製造方法
8日前
ローム株式会社
信号伝達装置、電子機器、車両、絶縁ゲートドライバIC
16日前
ローム株式会社
半導体装置
1日前
ローム株式会社
半導体装置
1日前
ローム株式会社
半導体装置
8日前
ローム株式会社
制御装置、力率改善回路、電子機器、およびオフセット設定方法
16日前
ローム株式会社
双方向DC/DCコンバータ、電源遮断保護回路および半導体装置
2日前
続きを見る
他の特許を見る