TOP
|
特許
|
意匠
|
商標
特許ウォッチ
Twitter
他の特許を見る
10個以上の画像は省略されています。
公開番号
2025174015
公報種別
公開特許公報(A)
公開日
2025-11-28
出願番号
2024079996
出願日
2024-05-16
発明の名称
半導体装置、および半導体装置の製造方法
出願人
ローム株式会社
代理人
個人
,
個人
主分類
H01L
21/60 20060101AFI20251120BHJP(基本的電気素子)
要約
【課題】 端子に対するワイヤの剥離を抑制することが可能な半導体装置を提供する。
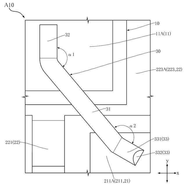
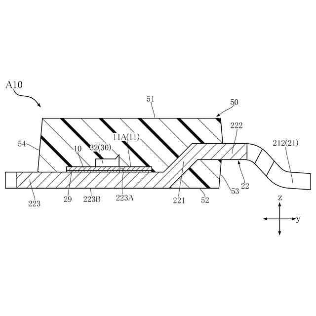
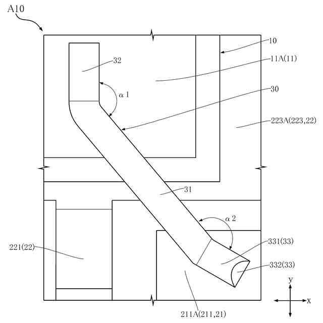
【解決手段】 半導体装置A10は、第1方向の一方側に位置する第1電極11を有する半導体素子10と、第1電極11に導通する第1端子21と、第1電極11と第1端子21とに導電接合された第1ワイヤ30とを備える。第1ワイヤ30は、主部31と、主部31の一端につながる第1接合部32と、主部31の他端につながる第2接合部33とを有する。第1接合部32は、第1電極11に導電接合されている。第2接合部33は、第1端子21に導電接合されている。前記第1方向に視て、第2接合部33が延びる方向は、主部31が延びる方向と異なる。
【選択図】 図9
特許請求の範囲
【請求項1】
第1方向の一方側に位置する第1電極を有する半導体素子と、
前記第1電極に導通する第1端子と、
前記第1電極と前記第1端子とに導電接合された第1ワイヤと、を備え、
前記第1ワイヤは、主部と、前記主部の一端につながる第1接合部と、前記主部の他端につながる第2接合部と、を有し、
前記第1接合部は、前記第1電極に導電接合されており、
前記第2接合部は、前記第1端子に導電接合されており、
前記第1方向に視て、前記第2接合部が延びる方向は、前記主部が延びる方向と異なる、半導体装置。
続きを表示(約 1,000 文字)
【請求項2】
前記第1方向に視て、前記第1接合部が延びる方向は、前記主部が延びる方向と異なる、請求項1に記載の半導体装置。
【請求項3】
前記第1方向に視て、前記第2接合部が延びる方向は、前記第1接合部が延びる方向と異なる、請求項2に記載の半導体装置。
【請求項4】
前記第1端子は、前記第1方向の一方側を向くとともに、前記第2接合部が導電接合される第1面を有し、
前記主部は、自身が延びる方向に対する横断面である第1断面および第2断面を含み、
前記第1断面は、前記第1方向において前記第1面から最も遠くに位置しており、
前記第2断面は、前記主部と前記第2接合部との境界をなしており、
前記第1方向に視て前記第1断面と前記第2断面との第1間隔に対する、前記第1方向における前記第1面と前記第1断面との第2間隔の比率は、25%以上である、請求項2に記載の半導体装置。
【請求項5】
前記第1断面の前記第1方向の寸法は、前記半導体素子の前記第1方向の寸法より大きい、請求項4に記載の半導体装置。
【請求項6】
前記第1電極は、前記第1方向において前記第1面と同じ側を向くとともに、前記第1接合部が導電接合される第2面を有し、
前記第1面は、前記第1方向において前記第2面と前記第1断面との間に位置する、請求項4に記載の半導体装置。
【請求項7】
前記第2間隔と前記第1断面の前記第1方向の寸法との和は、前記第1方向における前記第1面と前記第2面との第3間隔より小さい、請求項6に記載の半導体装置。
【請求項8】
前記第2接合部は、前記主部につながる第1部と、前記第1部を基準として前記主部とは反対側に位置する第2部と、を含み、
前記第2部の前記第1方向の寸法は、前記第2断面の前記第1方向の寸法より小さい、請求項7に記載の半導体装置。
【請求項9】
前記第1方向に視て、自身が延びる方向における前記第2部の寸法は、自身が延びる方向における前記第1部の寸法より小さい、請求項8に記載の半導体装置。
【請求項10】
前記第2部の前記第1方向の寸法は、前記第1部から離れるに従って徐々に小さい、請求項9に記載の半導体装置。
(【請求項11】以降は省略されています)
発明の詳細な説明
【技術分野】
【0001】
本開示は、半導体装置およびその製造方法に関する。
続きを表示(約 2,100 文字)
【背景技術】
【0002】
特許文献1には、第1半導体素子と、各々が当該第1半導体素子に導通する第1リードおよび第3リードとを備える半導体装置の一例が開示されている。第1半導体素子は、MOSFETなどのスイッチング素子である。当該半導体装置においては、第1半導体素子がオンになると、第1リードから第3リードに向けて電流が流れる。当該半導体装置は、たとえばDC-DCコンバータの回路を構成する要素に利用される。
【0003】
特許文献1に開示されている半導体装置は、第1半導体素子と第3リードとに導電接合された第2のワイヤをさらに備える。ここで、第3リードにより大きな電流を流すため、第2のワイヤの横断面積をより大きくすることがある。この場合、第1半導体素子から第2のワイヤに伝導した熱により、当該第2のワイヤには熱応力が発生する。第2のワイヤに発生する熱応力がより大きくなると、第3リードと当該第2のワイヤとの界面に作用するせん断応力がより大きくなるため、当該第3リードから当該第2のワイヤが剥離するおそれがある。
【先行技術文献】
【特許文献】
【0004】
特開2018-14490号公報
【0005】
[概要]
本開示は上記事情に鑑み、端子に対するワイヤの剥離を抑制することが可能な半導体装置を提供することをその課題とする。
【0006】
本開示の第1の側面によって提供される半導体装置は、第1方向の一方側に位置する第1電極を有する半導体素子と、前記第1電極に導通する第1端子と、前記第1電極と前記第1端子とに導電接合された第1ワイヤとを備える。前記第1ワイヤは、主部と、前記主部の一端につながる第1接合部と、前記主部の他端につながる第2接合部とを有する。前記第1接合部は、前記第1電極に導電接合されている。前記第2接合部は、前記第1端子に導電接合されている。前記第1方向に視て、前記第2接合部が延びる方向は、前記主部が延びる方向と異なる。
【0007】
本開示の第2の側面によって提供される半導体装置の製造方法は、半導体素子と第1端子とに導電接合される第1ワイヤを形成する工程を備える。前記半導体素子は、第1方向の一方側に位置する第1電極を有する。前記第1ワイヤは、主部と、前記主部の一端につながり、かつ前記第1電極に導電接合される第1接合部と、前記主部の他端につながり、かつ前記第1端子に導電接合される第2接合部とを有する。前記第1ワイヤを形成する工程では、接合具を用いて金属材料を加工することによって、第1接合部、前記主部、前記第2接合部の順に形成される。前記第2接合部の形成にあたっては、前記接合具を前記第1方向の回りに回転させた後、前記金属材料から前記第2接合部を切り離す。
【0008】
本開示のその他の特徴および利点は、添付図面に基づき以下に行う詳細な説明によって、より明らかとなろう。
【図面の簡単な説明】
【0009】
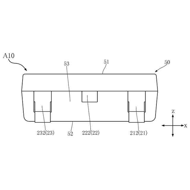
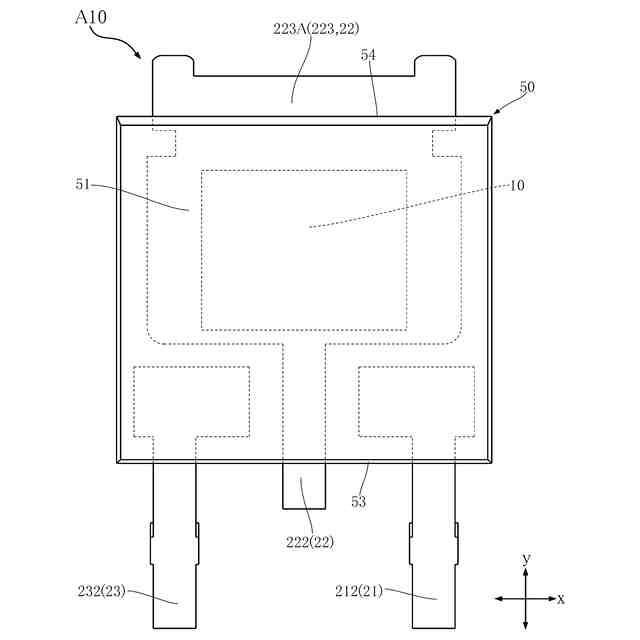
図1は、本開示の第1実施形態に係る半導体装置の平面図である。
図2は、図1に対応する平面図であり、封止樹脂を透過している。
図3は、図1に示す半導体装置の底面図である。
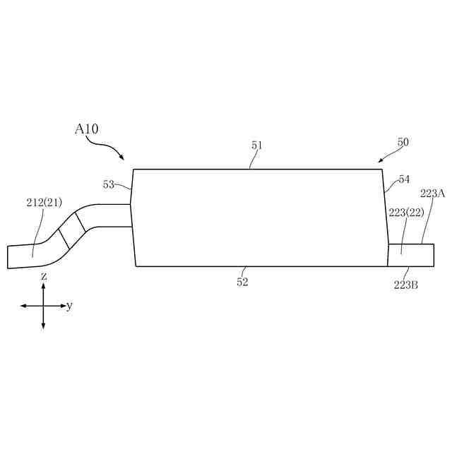
図4は、図1に示す半導体装置の正面図である。
図5は、図1に示す半導体装置の右側面図である。
図6は、図2のVI-VI線に沿う断面図である。
図7は、図2のVII-VII線に沿う断面図である。
図8は、図2のVIII-VIII線に沿う断面図である。
図9は、図3の部分拡大図である。
図10は、図7の部分拡大図である。
図11は、図1に示す半導体装置の製造方法を説明する部分拡大断面図である。
図12は、図1に示す半導体装置の製造方法を説明する部分拡大断面図である。
図13は、図1に示す半導体装置の製造方法を説明する部分拡大断面図である。
図14は、図1に示す半導体装置の製造方法を説明する部分拡大断面図である。
図15は、本開示の第1実施形態の第1変形例に係る半導体装置の部分拡大平面図であり、図9に対応している。
図16は、本開示の第1実施形態の第2変形例に係る半導体装置の部分拡大平面図であり、図9に対応している。
図17は、本開示の第1実施形態の第3変形例に係る半導体装置の部分拡大平面図であり、図9に対応している。
図18は、本開示の第2実施形態に係る半導体装置の断面図であり、図7に対応している。
図19は、図18に示す半導体装置の断面図であり、図8に対応している。
図20は、本開示の第3実施形態に係る半導体装置の平面図であり、封止樹脂を透過している。
【0010】
[詳細な説明]
本開示の詳細について、添付図面に基づき説明する。
(【0011】以降は省略されています)
この特許をJ-PlatPat(特許庁公式サイト)で参照する
関連特許
ローム株式会社
半導体装置
21日前
ローム株式会社
半導体装置
今日
ローム株式会社
半導体装置
8日前
ローム株式会社
半導体装置
21日前
ローム株式会社
半導体装置
今日
ローム株式会社
半導体装置
今日
ローム株式会社
半導体装置
16日前
ローム株式会社
半導体装置
21日前
ローム株式会社
半導体装置
16日前
ローム株式会社
信号伝達装置
16日前
ローム株式会社
電源制御装置
16日前
ローム株式会社
半導体集積回路
1日前
ローム株式会社
定電圧生成回路
今日
ローム株式会社
定電圧生成回路
今日
ローム株式会社
半導体集積回路
今日
ローム株式会社
半導体モジュール
9日前
ローム株式会社
半導体メモリ装置
23日前
ローム株式会社
モータドライバ回路
16日前
ローム株式会社
比較回路、半導体装置
今日
ローム株式会社
サーマルプリントヘッド
今日
ローム株式会社
逐次比較型AD変換回路
8日前
ローム株式会社
半導体装置およびシステム
8日前
ローム株式会社
監視回路及びレジスタ制御装置
今日
ローム株式会社
信号受信装置、IC及び電気機器
14日前
ローム株式会社
昇圧型スイッチングレギュレータ
2日前
ローム株式会社
電圧調整装置及び電荷蓄積システム
2日前
ローム株式会社
モータドライバ回路および駆動方法
1日前
ローム株式会社
パルス幅変調回路およびモータ駆動装置
1か月前
ローム株式会社
半導体装置および半導体装置の製造方法
21日前
ローム株式会社
半導体装置および半導体装置の製造方法
1日前
ローム株式会社
検出回路、信号伝達装置、電子機器、車両
今日
ローム株式会社
力率改善回路、制御装置、および電子機器
21日前
ローム株式会社
サーマルプリントヘッド及びその製造方法
今日
ローム株式会社
半導体装置、および半導体装置の製造方法
14日前
ローム株式会社
半導体装置、および半導体装置の製造方法
21日前
ローム株式会社
半導体装置、および半導体装置の製造方法
今日
続きを見る
他の特許を見る