TOP
|
特許
|
意匠
|
商標
特許ウォッチ
Twitter
他の特許を見る
10個以上の画像は省略されています。
公開番号
2025174584
公報種別
公開特許公報(A)
公開日
2025-11-28
出願番号
2024081054
出願日
2024-05-17
発明の名称
サーマルプリントヘッド及びその製造方法
出願人
ローム株式会社
代理人
弁理士法人深見特許事務所
主分類
B41J
2/345 20060101AFI20251120BHJP(印刷;線画機;タイプライター;スタンプ)
要約
【課題】複数の個別配線のエッチング条件を効率的にモニターし得るサーマルプリントヘッドを提供する。
【解決手段】サーマルプリントヘッド1は、複数の個別配線25と、モニターパターン65とを備える。複数の個別配線25は、各々、副走査方向Yに対して傾く方向に延在している個別配線領域25aを含む。モニターパターン65は、複数の帯状体66を含む。複数の帯状体66の各々は、副走査方向Yに延在している。帯状体66の幅W2は、個別配線領域25aの幅W1に等しい。互いに隣り合う帯状体66の間の間隔G2は、互いに隣り合う第1個別配線領域25aの間の間隔G1に等しい。
【選択図】図4
特許請求の範囲
【請求項1】
複数の個別配線と、
モニターパターンとを備え、
前記複数の個別配線は、各々、副走査方向に対して傾く方向に延在している第1個別配線領域を含み、
前記モニターパターンは、複数の帯状体を含み、
前記複数の帯状体の各々は、前記副走査方向に延在しており、
前記複数の帯状体は、主走査方向に配列されており、かつ、前記第1個別配線領域と同じ材料で形成されており、
前記複数の帯状体の各々の幅は、前記複数の個別配線の前記第1個別配線領域の各々の幅に等しく、
前記複数の帯状体のうち互いに隣り合う帯状体の間の間隔は、前記複数の個別配線の前記第1個別配線領域のうち互いに隣り合う第1個別配線領域の間の間隔に等しい、サーマルプリントヘッド。
続きを表示(約 2,200 文字)
【請求項2】
前記複数の個別配線の前記第1個別配線領域は、前記複数の個別配線のうち前記副走査方向に対して最も傾いている部分である、請求項1に記載のサーマルプリントヘッド。
【請求項3】
前記主走査方向と前記副走査方向とに沿って延在する主面を有する基板と、
前記主面上に配置されているヒーターグレーズと、
前記ヒーターグレーズ上に配置されている発熱抵抗体と、
前記主面上に配置されている平坦化層とをさらに備え、
前記平坦化層の第1厚さは、前記ヒーターグレーズの第2厚さよりも小さく、
前記複数の個別配線は、各々、第2個別配線領域を含み、
前記第2個別配線領域は、前記第1個別配線領域に接続されており、前記副走査方向に延在しており、前記ヒーターグレーズ上に配置されており、かつ、前記発熱抵抗体に電気的に接続されており、
前記複数の個別配線の前記第1個別配線領域と前記モニターパターンとは、前記平坦化層上に配置されている、請求項1または請求項2に記載のサーマルプリントヘッド。
【請求項4】
前記主面上に配置されているダイボンディンググレーズと、
前記ダイボンディンググレーズ上に配置されている駆動回路とをさらに備え、
前記平坦化層の前記第1厚さは、前記ダイボンディンググレーズの第3厚さよりも小さく、
前記複数の個別配線は、各々、第3個別配線領域を含み、
前記第3個別配線領域は、前記第1個別配線領域に接続されており、前記ダイボンディンググレーズ上に配置されており、かつ、前記駆動回路に電気的に接続されている、請求項3に記載のサーマルプリントヘッド。
【請求項5】
前記モニターパターンは、前記複数の帯状体のうち前記主走査方向において中央にある中央帯状体を含み、
前記幅は、前記中央帯状体の幅であり、
前記間隔は、前記中央帯状体と前記中央帯状体に隣り合う帯状体との間の間隔である、請求項1または請求項2に記載のサーマルプリントヘッドの製造方法。
【請求項6】
前記モニターパターンは、前記中央帯状体を特定するマーカーを含む、請求項5に記載のサーマルプリントヘッド。
【請求項7】
導電性物質を含むペーストをエッチングすることによって、複数の個別配線とモニターパターンとを形成するステップを備え、前記モニターパターンは、複数の帯状体を含み、
前記複数の帯状体の各々の幅と、前記複数の帯状体のうち互いに隣り合う帯状体の間の間隔とを測定するステップと、
前記幅と前記間隔とに基づいて、前記ペーストの前記エッチングの条件が適切であるかを判定するステップとを備え、
前記複数の個別配線は、各々、副走査方向に対して傾く方向に延在している第1個別配線領域を含み、
前記複数の帯状体の各々は、前記副走査方向に延在しており、
前記複数の帯状体は、主走査方向に配列されており、かつ、前記第1個別配線領域と同じ材料で形成されており、
前記複数の帯状体の各々の幅は、前記複数の個別配線の前記第1個別配線領域の各々の幅に等しく、
前記複数の帯状体のうち互いに隣り合う帯状体の間の間隔は、前記複数の個別配線の前記第1個別配線領域のうち互いに隣り合う第1個別配線領域の間の間隔に等しい、サーマルプリントヘッドの製造方法。
【請求項8】
前記複数の個別配線の前記第1個別配線領域は、前記複数の個別配線のうち前記副走査方向に対して最も傾いている部分である、請求項7に記載のサーマルプリントヘッドの製造方法。
【請求項9】
基板の主面上にヒーターグレーズを形成するステップと、
前記主面上に平坦化層を形成するステップと、
前記ヒーターグレーズ上に発熱抵抗体を形成するステップとをさらに備え、
前記主面は、前記主走査方向と前記副走査方向とに沿って延在しており、
前記平坦化層の第1厚さは、前記ヒーターグレーズの第2厚さよりも小さく、
前記複数の個別配線は、各々、第2個別配線領域を含み、
前記第2個別配線領域は、前記第1個別配線領域に接続されており、前記副走査方向に延在しており、前記ヒーターグレーズ上に配置されており、かつ、前記発熱抵抗体に電気的に接続されており、
前記複数の個別配線の前記第1個別配線領域と前記モニターパターンとは、前記平坦化層上に形成される、請求項7または請求項8に記載のサーマルプリントヘッドの製造方法。
【請求項10】
前記主面上にダイボンディンググレーズを形成するステップと、
前記ダイボンディンググレーズ上に駆動回路を設けるステップとをさらに備え、
前記平坦化層の前記第1厚さは、前記ダイボンディンググレーズの第3厚さよりも小さく、
前記複数の個別配線は、各々、第3個別配線領域を含み、
前記第3個別配線領域は、前記第1個別配線領域に接続されており、前記ダイボンディンググレーズ上に配置されており、かつ、前記駆動回路に電気的に接続されている、請求項9に記載のサーマルプリントヘッドの製造方法。
(【請求項11】以降は省略されています)
発明の詳細な説明
【技術分野】
【0001】
本開示は、サーマルプリントヘッド及びその製造方法に関する。
続きを表示(約 1,900 文字)
【背景技術】
【0002】
特開2023-176504号公報(特許文献1)は、基板と、グレーズ層と、配線層と、発熱抵抗体とを備えるサーマルプリントヘッドを開示している。配線層は、共通電極と、複数の個別電極と、複数の信号配線部と、複数のパッド部とを有している。配線層は、銀を主成分とした導電体である。
【先行技術文献】
【特許文献】
【0003】
特開2023-176504号公報
【0004】
[概要]
本開示の目的は、複数の個別配線のエッチング条件を効率的にモニターし得るサーマルプリントヘッド及びその製造方法を提供することである。
【0005】
本開示のサーマルプリントヘッドは、複数の個別配線と、モニターパターンとを備える。複数の個別配線は、各々、副走査方向に対して傾く方向に延在している第1個別配線領域を含む。モニターパターンは、複数の帯状体を含む。複数の帯状体の各々は、副走査方向に延在している。複数の帯状体は、主走査方向に配列されており、かつ、第1個別配線領域と同じ材料で形成されている。複数の帯状体の各々の幅は、複数の個別配線の第1個別配線領域の各々の幅に等しい。複数の帯状体のうち互いに隣り合う帯状体の間の間隔は、複数の個別配線の第1個別配線領域のうち互いに隣り合う第1個別配線領域の間の間隔に等しい。
【図面の簡単な説明】
【0006】
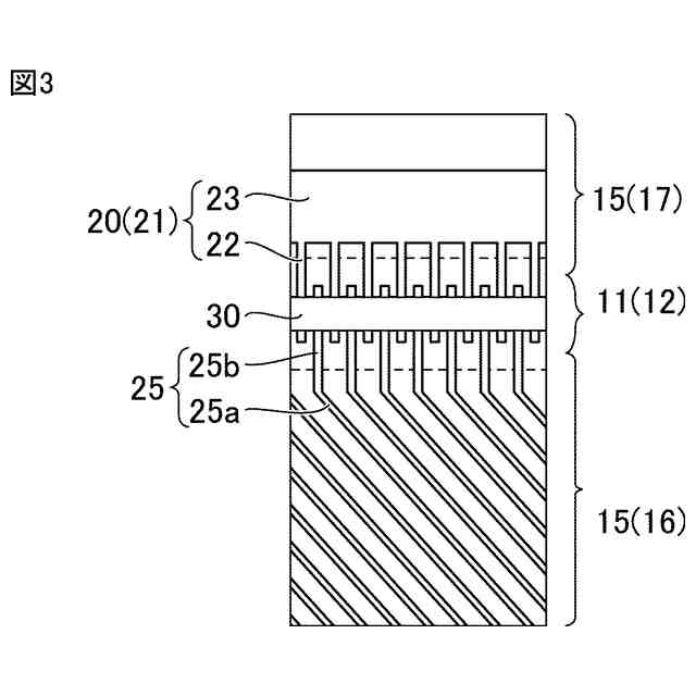
図1は、実施の形態のサーマルプリントヘッドの概略平面図である。
図2は、実施の形態のサーマルプリントヘッドの、図1に示す断面線II-IIにおける概略部分拡大断面図である。
図3は、実施の形態のサーマルプリントヘッドの、図1に示す領域IIIの概略部分拡大平面図である。
図4は、実施の形態のサーマルプリントヘッドの、図1に示す領域IVの概略部分拡大平面図である。
図5は、実施の形態の第1変形例のサーマルプリントヘッドの概略部分拡大平面図である。
図6は、実施の形態の第2変形例のサーマルプリントヘッドの概略部分拡大平面図である。
図7は、実施の形態の第3変形例のサーマルプリントヘッドの概略部分拡大平面図である。
図8は、実施の形態のサーマルプリントヘッドの製造方法の一例のフローチャートを示す図である。
図9は、実施の形態のサーマルプリントヘッドの製造方法の別の例のフローチャートを示す図である。
【0007】
[詳細な説明]
図面に基づいて本開示の実施の形態の詳細について説明する。なお、以下の図面において同一または相当する部分には同一の参照番号を付し、その説明は繰返さない。以下に記載する実施の形態の少なくとも一部の構成を任意に組み合わせてもよい。
【0008】
図1から図7を参照して、実施の形態のサーマルプリントヘッド1を説明する。本実施の形態のサーマルプリントヘッド1は、基板10と、グレーズ11と、平坦化層15と、第1配線20と、モニターパターン65と、発熱抵抗体30と、保護層33と、駆動回路40と、導電ワイヤ41と、封止部材43と、複数の第2配線45と、複数の外部接続端子50とを備える。本実施の形態のサーマルプリントヘッド1は、コネクタ61をさらに備えてもよい。
【0009】
図1及び図2を参照して、基板10は、例えば、アルミナ基板のようなセラミック基板である。基板10は、主面10aを有する。主面10aの平面視(以下、単に「平面視」という)において、基板10の長手方向は主走査方向Xであり、基板10の短手方向は副走査方向Yであり、基板10の厚さ方向は板厚方向Zである。板厚方向Zは、主走査方向X及び副走査方向Yに直交している。平面視において、副走査方向Yは、印刷媒体(例えば、感熱記録紙)の搬送方向である。
【0010】
図1から図7を参照して、グレーズ11は、基板10の主面10a上に配置されている。グレーズ11は、例えば、非晶質ガラスのようなガラス材料で形成されている。グレーズ11の熱伝導率は、基板10の熱伝導率よりも低くてもよい。図1及び図2に示されるように、グレーズ11は、主面10aの一部分に設けられている。すなわち、グレーズ11は、いわゆる部分グレーズである。グレーズ11は、ヒーターグレーズ12と、ダイボンディンググレーズ13とを含む。
(【0011】以降は省略されています)
この特許をJ-PlatPat(特許庁公式サイト)で参照する
関連特許
ローム株式会社
半導体装置
今日
ローム株式会社
半導体装置
21日前
ローム株式会社
半導体装置
21日前
ローム株式会社
半導体装置
8日前
ローム株式会社
半導体装置
16日前
ローム株式会社
半導体装置
今日
ローム株式会社
半導体装置
16日前
ローム株式会社
半導体装置
21日前
ローム株式会社
半導体装置
今日
ローム株式会社
電源制御装置
16日前
ローム株式会社
信号伝達装置
16日前
ローム株式会社
定電圧生成回路
今日
ローム株式会社
定電圧生成回路
今日
ローム株式会社
半導体集積回路
1日前
ローム株式会社
半導体集積回路
今日
ローム株式会社
半導体モジュール
9日前
ローム株式会社
モータドライバ回路
16日前
ローム株式会社
比較回路、半導体装置
今日
ローム株式会社
サーマルプリントヘッド
今日
ローム株式会社
逐次比較型AD変換回路
8日前
ローム株式会社
半導体装置およびシステム
8日前
ローム株式会社
監視回路及びレジスタ制御装置
今日
ローム株式会社
信号受信装置、IC及び電気機器
14日前
ローム株式会社
昇圧型スイッチングレギュレータ
2日前
ローム株式会社
モータドライバ回路および駆動方法
1日前
ローム株式会社
電圧調整装置及び電荷蓄積システム
2日前
ローム株式会社
半導体装置および半導体装置の製造方法
21日前
ローム株式会社
半導体装置および半導体装置の製造方法
1日前
ローム株式会社
力率改善回路、制御装置、および電子機器
21日前
ローム株式会社
半導体装置、および半導体装置の製造方法
21日前
ローム株式会社
半導体装置、および半導体装置の製造方法
14日前
ローム株式会社
半導体装置、および半導体装置の製造方法
今日
ローム株式会社
サーマルプリントヘッド及びその製造方法
今日
ローム株式会社
検出回路、信号伝達装置、電子機器、車両
今日
ローム株式会社
電源回路、電子コントロールユニット、自動車
8日前
ローム株式会社
コントローラ、ターゲット、及び通信システム
今日
続きを見る
他の特許を見る