TOP
|
特許
|
意匠
|
商標
特許ウォッチ
Twitter
他の特許を見る
10個以上の画像は省略されています。
公開番号
2025168746
公報種別
公開特許公報(A)
公開日
2025-11-12
出願番号
2024073462
出願日
2024-04-30
発明の名称
電源制御装置
出願人
ローム株式会社
代理人
弁理士法人 佐野特許事務所
主分類
H02M
3/155 20060101AFI20251105BHJP(電力の発電,変換,配電)
要約
【課題】或るチャネルの出力電圧が必要なケース及び不要なケースに対応する。
【解決手段】出力段回路(MM[i])は、入力端子及びスイッチ端子間に設けられる出力トランジスタ(MH[i])とスイッチ端子及びグランド間に設けられる整流素子(ML[i])とを有する。出力段回路、出力コイル及び出力コンデンサが設けられる場合に、制御駆動回路(11[i])は帰還電圧(V
FB
[i])に応じたスイッチング駆動により出力電圧(V
OUT
[i])を発生させる。帰還端子(VO[i])に帰還電圧が加わる。コントローラ(20)は、スイッチング駆動が非実行とされる判定タイミングでのスイッチ端子及び帰還端子の各電圧(V
SW
[i]、V
FB
[i])に基づき、その後にスイッチング駆動を制御駆動回路に行わせるか否かを制御する。
【選択図】図10
特許請求の範囲
【請求項1】
入力端子と、
スイッチ端子と、
前記入力端子と前記スイッチ端子との間に設けられる出力トランジスタ及び前記スイッチ端子とグランドとの間に設けられる整流素子を有する出力段回路と、
前記入力端子に入力電圧が供給され且つ前記スイッチ端子及び出力ノード間に出力コイルが設けられ且つ前記出力ノード及びグランド間に出力コンデンサが設けられる場合において、帰還電圧に応じた前記出力段回路のスイッチング駆動を実行可能であって前記スイッチング駆動により前記入力電圧に基づく出力電圧を前記出力ノードに発生させるよう構成された制御駆動回路と、
前記入力端子に前記入力電圧が供給され且つ前記スイッチ端子及び前記出力ノード間に前記出力コイルが設けられ且つ前記出力ノード及びグランド間に前記出力コンデンサが設けられる場合において、前記出力電圧に応じた前記帰還電圧を受けるよう構成された帰還端子と、
前記スイッチング駆動が非実行とされる判定タイミングでの前記スイッチ端子及び前記帰還端子の各電圧に基づき、その後に前記スイッチング駆動を前記制御駆動回路に行わせるか否かを制御するよう構成されたコントローラと、を備える
、電源制御装置。
続きを表示(約 2,200 文字)
【請求項2】
前記判定タイミングにおいて前記スイッチ端子を通じた電流は遮断され、
前記帰還端子及びグランド間に抵抗が設けられ、
前記コントローラは、
前記判定タイミングにおける前記スイッチ端子の電圧が第1閾電圧未満であって且つ前記判定タイミングにおける前記帰還端子の電圧が第2閾電圧未満である第1ケースでは、前記判定タイミング後において前記制御駆動回路に前記スイッチング駆動を行わせ、
前記判定タイミングにおける前記スイッチ端子の電圧が前記第1閾電圧以上であって且つ前記判定タイミングにおける前記帰還端子の電圧が前記第2閾電圧未満である第2ケースでは、前記判定タイミング後の前記制御駆動回路による前記スイッチング駆動を制止する
、請求項1に記載の電源制御装置。
【請求項3】
前記スイッチング駆動の開始後、前記帰還端子の電圧に基づき前記出力電圧の異常を検出するための電圧監視動作を行うよう構成された電圧監視回路を備え、
前記第2ケースにおいて前記電圧監視回路による前記電圧監視動作は制止される
、請求項2に記載の電源制御装置。
【請求項4】
前記電圧監視回路は、前記電圧監視動作において前記帰還端子の電圧が所定の正常電圧範囲内に収まるかを監視して、当該監視の結果を前記コントローラに出力し、
前記コントローラは、前記第1ケースにおいて前記帰還端子の電圧が前記正常電圧範囲を逸脱する場合、所定の異常対応動作を実行し、前記第2ケースにおいて前記帰還端子の電圧に基づく前記異常対応動作の実行を制止する
、請求項3に記載の電源制御装置。
【請求項5】
前記第1ケースにおいて、前記出力段回路、前記制御駆動回路、前記出力コイル及び前記出力コンデンサにより、降圧型のスイッチングレギュレータが形成され、
前記第2ケースにおいて、前記スイッチ端子は、前記第1閾電圧以上の電圧の印加端に接続される
、請求項2~4の何れかに記載の電源制御装置。
【請求項6】
当該電源制御装置は、複数チャネルのレギュレータを有する電源装置の動作を制御するよう構成され、
前記第1ケースにおいて、前記降圧型のスイッチングレギュレータが前記複数チャネルのレギュレータの1つとして形成される
、請求項5に記載の電源制御装置。
【請求項7】
前記第1ケースにおいて、前記降圧型のスイッチングレギュレータを含むnチャネルのレギュレータの夫々において、直流電圧を他の直流電圧に変換する電力変換が実行され、前記降圧型のスイッチングレギュレータによる前記電力変換にて前記入力電圧から前記出力電圧が生成され、nは2以上の整数を表し、
前記第2ケースにおいて、前記降圧型のスイッチングレギュレータは形成されず、前記nチャネルより少ない1以上のレギュレータの夫々において前記電力変換が実行される
、請求項6に記載の電源制御装置。
【請求項8】
前記整流素子は同期整流トランジスタであって、前記判定タイミングにおいて前記出力トランジスタ及び前記同期整流トランジスタはオフに維持される
、請求項1~4の何れかに記載の電源制御装置。
【請求項9】
入力端子と、
スイッチ端子と、
前記入力端子と前記スイッチ端子との間に設けられる出力トランジスタ及び前記スイッチ端子とグランドとの間に設けられる整流素子を有する出力段回路と、
前記入力端子に入力電圧が供給され且つ前記スイッチ端子及び出力ノード間に出力コイルが設けられ且つ前記出力ノード及びグランド間に出力コンデンサが設けられる場合において、帰還電圧に応じた前記出力段回路のスイッチング駆動を実行可能であって前記スイッチング駆動により前記入力電圧に基づく出力電圧を前記出力ノードに発生させるよう構成された制御駆動回路と、
前記入力端子に前記入力電圧が供給され且つ前記スイッチ端子及び前記出力ノード間に前記出力コイルが設けられ且つ前記出力ノード及びグランド間に前記出力コンデンサが設けられる場合において、前記出力電圧に応じた前記帰還電圧を受けるよう構成された帰還端子と、
前記スイッチング駆動が非実行とされる判定タイミングでの前記スイッチ端子の電圧又は前記帰還端子の電圧に基づき、その後に前記スイッチング駆動を前記制御駆動回路に行わせるか否かを制御するよう構成されたコントローラと、を備える
、電源制御装置。
【請求項10】
前記判定タイミングにおいて前記スイッチ端子を通じた電流は遮断され、
前記帰還端子及びグランド間に抵抗が設けられ、
前記コントローラは、
前記判定タイミングにおける前記スイッチ端子の電圧又は前記帰還端子の電圧が閾電圧未満である第1ケースでは、前記判定タイミング後において前記制御駆動回路に前記スイッチング駆動を行わせ、
前記判定タイミングにおける前記スイッチ端子の電圧又は前記帰還端子の電圧が前記閾電圧以上である第2ケースでは、前記判定タイミング後の前記制御駆動回路による前記スイッチング駆動を制止する
、請求項9に記載の電源制御装置。
(【請求項11】以降は省略されています)
発明の詳細な説明
【技術分野】
【0001】
本開示は、電源制御装置に関する。
続きを表示(約 2,600 文字)
【背景技術】
【0002】
電源装置の動作を制御する装置として電源制御装置が広く普及している(特許文献1参照)。電源制御装置を用いて入力電圧から出力電圧を生成する動作が制御される。スイッチングレギュレータ(スイッチングタイプの電源装置)では、出力段回路のスイッチング駆動を通じて入力電圧から出力電圧が生成される。出力電圧を複数チャネル分、必要とするシステムも多い。
【先行技術文献】
【特許文献】
【0003】
国際公開第2021/054027号
【0004】
[概要]
電源制御装置が組み込まれるシステムによっては、或るチャネルの出力電圧が必要となるケースもあるし、不要となるケースもある。これらのケースに適正に対応することが求められる。
【0005】
本開示の一態様に係る電源制御装置は、入力端子と、スイッチ端子と、前記入力端子と前記スイッチ端子との間に設けられる出力トランジスタ及び前記スイッチ端子とグランドとの間に設けられる整流素子を有する出力段回路と、前記入力端子に入力電圧が供給され且つ前記スイッチ端子及び出力ノード間に出力コイルが設けられ且つ前記出力ノード及びグランド間に出力コンデンサが設けられる場合において、帰還電圧に応じた前記出力段回路のスイッチング駆動を実行可能であって前記スイッチング駆動により前記入力電圧に基づく出力電圧を前記出力ノードに発生させるよう構成された制御駆動回路と、前記入力端子に前記入力電圧が供給され且つ前記スイッチ端子及び前記出力ノード間に前記出力コイルが設けられ且つ前記出力ノード及びグランド間に前記出力コンデンサが設けられる場合において、前記出力電圧に応じた前記帰還電圧を受けるよう構成された帰還端子と、前記スイッチング駆動が非実行とされる判定タイミングでの前記スイッチ端子及び前記帰還端子の各電圧に基づき、その後に前記スイッチング駆動を前記制御駆動回路に行わせるか否かを制御するよう構成されたコントローラと、を備える。
【図面の簡単な説明】
【0006】
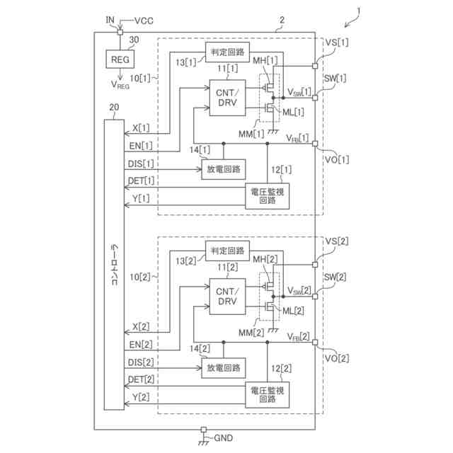
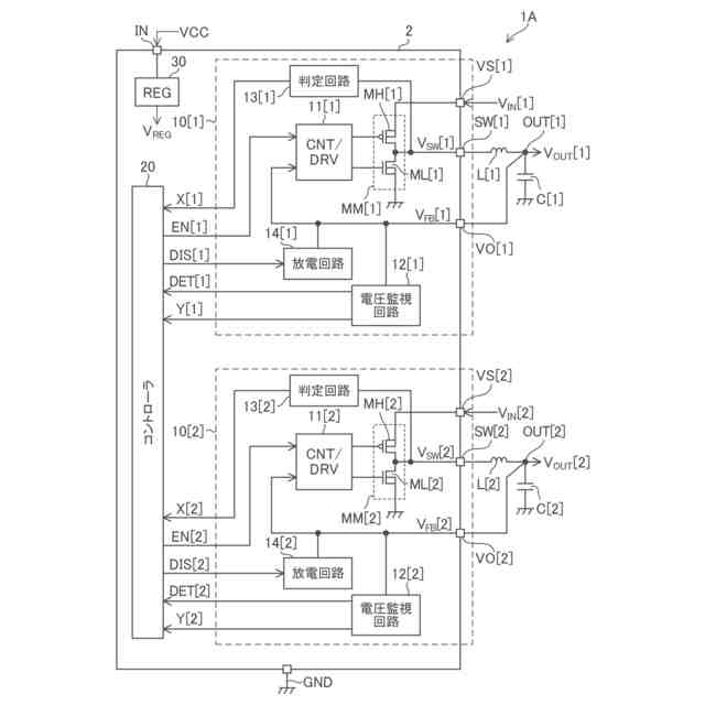
図1は、本開示の実施形態に係る電源装置の概略的な構成ブロック図である。
図2は、本開示の実施形態に係る電源制御装置の外観斜視図である。
図3は、本開示の実施形態に係る電源装置に、複数チャネルのレギュレータが設けられる様子を示す図である。
図4は、本開示の実施形態に係る電源装置に、複数チャネルのレギュレータが設けられる様子を示す図である。
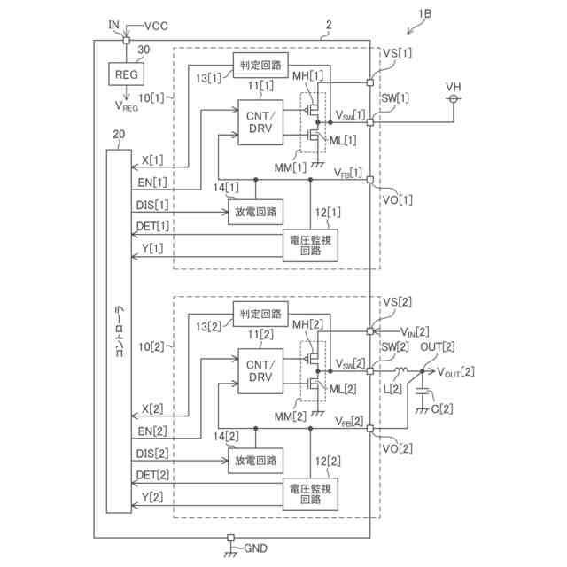
図5は、本開示の実施形態に係り、2つのチャネルに関わる制御ブロックの構成図である。
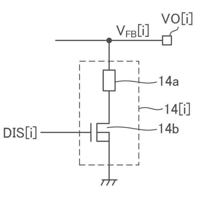
図6は、本開示の実施形態に係り、放電回路の内部構成例を示す図である。
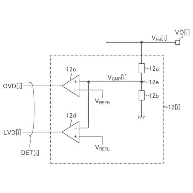
図7は、本開示の実施形態に係り、電圧監視回路の内部構成例を示す図である。
図8は、本開示の実施形態に属する第1実施例に係り、電源装置の一部構成図である。
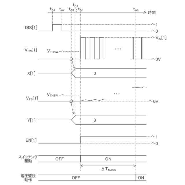
図9は、本開示の実施形態に属する第1実施例に係り、第1チャネルにおけるレギュレータの起動時のタイミングチャートである。
図10は、本開示の実施形態に属する第2実施例に係り、電源装置の一部構成図である。
図11は、本開示の実施形態に属する第2実施例に係り、第1チャネルに関わるタイミングチャートである。
図12は、本開示の実施形態に属する第5実施例に係り、電源装置の一部構成図である。
図13は、本開示の実施形態に属する第5実施例に係り、第1チャネルに関わるタイミングチャートである。
【0007】
[詳細な説明]
以下、本開示の実施形態の例を、図面を参照して具体的に説明する。参照される各図において、同一の部分には同一の符号を付し、同一の部分に関する重複する説明を原則として省略する。尚、本明細書では、記述の簡略化上、情報、信号、物理量、機能部、回路、素子又は部品等を参照する記号又は符号を記すことによって、該記号又は符号に対応する情報、信号、物理量、機能部、回路、素子又は部品等の名称を省略又は略記することがある。例えば、後述の“EN[1]”によって参照されるイネーブル信号は(図5参照)、イネーブル信号EN[1]と表記されることもあるし、信号EN[1]と略記されることもあり得るが、それらは全て同じものを指す。
【0008】
まず、本開示の実施形態の記述にて用いられる幾つかの用語について説明を設ける。グランドとは、基準となる0V(ゼロボルト)の電位を有する基準導電部(reference conductor)を指す又は0Vの電位そのものを指す。基準導電部は金属等の導体を用いて形成されて良い。0Vの電位をグランド電位と称することもある。本開示の実施形態において、特に基準を設けずに示される電圧はグランドから見た電位を表す。レベルとは電位のレベルを指し、任意の注目した信号又は電圧についてハイレベルはローレベルよりも高い電位を有する。
【0009】
MOSFETに例示されるFET(電界効果トランジスタ)として構成された任意のトランジスタについて、オン状態とは、当該トランジスタのドレイン及びソース間が導通している状態を指し、オフ状態とは、当該トランジスタのドレイン及びソース間が非導通となっている状態(遮断状態)を指す。FETに分類されないトランジスタについても同様である。MOSFETは、特に記述無き限り、エンハンスメント型のMOSFETであると解される。MOSFETは“metal-oxide-semiconductor field-effect transistor”の略称である。また、特に記述なき限り、任意のMOSFETにおいて、バックゲートはソースに短絡されていると考えて良い。以下、任意のトランジスタについて、オン状態、オフ状態を、単に、オン、オフと表現することもある。
【0010】
任意の回路素子、配線、ノードなど、回路を形成する複数の部位間についての接続とは、特に記述なき限り、電気的な接続を指すと解して良い。
(【0011】以降は省略されています)
この特許をJ-PlatPat(特許庁公式サイト)で参照する
関連特許
ローム株式会社
光センサ
27日前
ローム株式会社
電源装置
1か月前
ローム株式会社
半導体装置
19日前
ローム株式会社
抵抗チップ
20日前
ローム株式会社
半導体装置
20日前
ローム株式会社
半導体装置
21日前
ローム株式会社
半導体装置
21日前
ローム株式会社
半導体装置
27日前
ローム株式会社
半導体装置
27日前
ローム株式会社
半導体装置
19日前
ローム株式会社
半導体装置
28日前
ローム株式会社
半導体装置
5日前
ローム株式会社
半導体装置
1か月前
ローム株式会社
半導体装置
5日前
ローム株式会社
半導体装置
5日前
ローム株式会社
半導体装置
今日
ローム株式会社
半導体装置
今日
ローム株式会社
電源制御装置
今日
ローム株式会社
信号伝達装置
今日
ローム株式会社
半導体集積回路
14日前
ローム株式会社
窒化物半導体装置
29日前
ローム株式会社
半導体メモリ装置
7日前
ローム株式会社
自己診断システム
22日前
ローム株式会社
半導体パッケージ
20日前
ローム株式会社
窒化物半導体装置
20日前
ローム株式会社
モータドライバ回路
今日
ローム株式会社
検証装置及び検証方法
1か月前
ローム株式会社
半導体装置及び補正方法
1か月前
ローム株式会社
半導体装置、電子機器、車両
14日前
ローム株式会社
半導体装置、電子機器、車両
14日前
ローム株式会社
信号伝達装置、電子機器、車両
29日前
ローム株式会社
半導体回路及び半導体回路のテスト方法
1か月前
ローム株式会社
電圧電流変換回路および半導体集積回路
14日前
ローム株式会社
半導体装置および半導体装置の製造方法
5日前
ローム株式会社
パルス幅変調回路およびモータ駆動装置
14日前
ローム株式会社
半導体装置、および半導体装置の製造方法
5日前
続きを見る
他の特許を見る