TOP
|
特許
|
意匠
|
商標
特許ウォッチ
Twitter
他の特許を見る
10個以上の画像は省略されています。
公開番号
2025174095
公報種別
公開特許公報(A)
公開日
2025-11-28
出願番号
2024080150
出願日
2024-05-16
発明の名称
コントローラ、ターゲット、及び通信システム
出願人
ローム株式会社
代理人
弁理士法人 佐野特許事務所
主分類
H04L
1/00 20060101AFI20251120BHJP(電気通信技術)
要約
【課題】通信効率の低下を抑制しつつ通信品質の向上を図ることができるコントローラを提供する。
【解決手段】コントローラ(CNT1)は、ターゲット(TG1、TG2)とシリアル通信を行うように構成されたコントローラであって、前記コントローラが前記ターゲットの記憶回路(201)に対してデータ書き込みを行う際に、前記ターゲットのアドレス、前記記憶回路のアドレス、及び書き込みデータを含む信号列のCRC値を計算するように構成された演算回路(101)と、前記ターゲットのアドレス、前記記憶回路のアドレス、前記書き込みデータ、及び前記CRC値を前記ターゲットに送信するように構成された通信回路(102)と、を備える。前記演算回路は、前記ターゲットから肯定応答が返ってきたときに計算途中の計算値を保持するように構成されている。
【選択図】図5
特許請求の範囲
【請求項1】
ターゲットとシリアル通信を行うように構成されたコントローラであって、
前記コントローラが前記ターゲットの記憶回路に対してデータ書き込みを行う際に、前記ターゲットのアドレス、前記記憶回路のアドレス、及び書き込みデータを含む信号列のCRC値を計算するように構成された演算回路と、
前記ターゲットのアドレス、前記記憶回路のアドレス、前記書き込みデータ、及び前記CRC値を前記ターゲットに送信するように構成された通信回路と、
を備え、
前記演算回路は、前記ターゲットから肯定応答が返ってきたときに計算途中の計算値を保持するように構成されている、コントローラ。
続きを表示(約 1,300 文字)
【請求項2】
前記ターゲットと前記コントローラとは、前記コントローラから出力されるクロック信号を伝送するように構成された第1信号線及び前記クロック信号に同期するシリアルデータ信号を伝送するように構成された第2信号線を介して接続され、
前記演算回路は、前記シリアルデータ信号を受け取るように構成されている、請求項1に記載のコントローラ。
【請求項3】
コントローラとシリアル通信を行うように構成されたターゲットであって、
前記コントローラが前記ターゲットの記憶回路からデータ読み出しを行う際に、前記ターゲットのアドレス、前記記憶回路のアドレス、及び読み出しデータを含む信号列のCRC値を計算するようにそれぞれ構成された演算回路と、
前記読み出しデータ、及び前記CRC値を前記コントローラに送信するように構成された通信回路と、
を備え、
前記演算回路は、第1演算回路及び第2演算回路を含み、
前記第1演算回路及び前記第2演算回路はそれぞれ、受け取った信号列についてCRC演算を行うように構成されており、
前記第1演算回路は、前記シリアル通信のスタートコンディションでリセット動作を行うように構成され、
前記第2演算回路は、前記ターゲットが最初に受け取った前記ターゲットのアドレスに対して肯定応答を返すタイミングで前記第1演算回路が行っている計算途中の計算値を受け取り、前記シリアル通信のスタートコンディションでリセット動作を回避するように構成されている、ターゲット。
【請求項4】
前記第2演算回路は、前記コントローラに肯定応答を返したとき及び前記コントローラが前記シリアル通信のスタートコンディションを出力したときのそれぞれで計算途中の計算値を保持するように構成されている、請求項3に記載のターゲット。
【請求項5】
前記ターゲットと前記コントローラとは、前記コントローラから出力されるクロック信号を伝送するように構成された第1信号線及び前記クロック信号に同期するシリアルデータ信号を伝送するように構成された第2信号線を介して接続され、
前記第1演算回路は、前記シリアルデータ信号を受け取るように構成されている、請求項3に記載のターゲット。
【請求項6】
請求項1又は請求項2に記載のコントローラと、前記ターゲットと、を備え、
前記ターゲットは、前記ターゲットが受信した前記ターゲットのアドレス、前記記憶回路のアドレス、及び前記書き込みデータに誤りがないかを前記CRC値を用いて検証するように構成されている、通信システム。
【請求項7】
請求項3~5のいずれか一項に記載のターゲットと、前記コントローラと、を備え、
前記コントローラは、前記ターゲットが受信した前記ターゲットのアドレス及び前記記憶回路のアドレスと前記コントローラが受信した前記読み出しデータとに誤りがないかを前記CRC値を用いて検証するように構成されている、通信システム。
発明の詳細な説明
【技術分野】
【0001】
本開示は、コントローラ、ターゲット、及び通信システムに関する。
続きを表示(約 2,000 文字)
【背景技術】
【0002】
送信側から受信側に送信したデータが正確に送られているかどうかを検証するためにCRC(Cyclic Redundancy Check)値が用いられる(例えば特許文献1参照)。
【先行技術文献】
【特許文献】
【0003】
特開2010-16751号公報
【0004】
[概要]
しかしながら、データのみがCRC演算の対象になっている場合、送信側から受信側にデータが送信されるときにデータとともに送信側から受信側に送信されるアドレス情報に誤りがないかを検証することができず、通信品質の面で課題が残る。
【0005】
本開示に係るコントローラは、ターゲットとシリアル通信を行うように構成されたコントローラであって、前記コントローラが前記ターゲットの記憶回路に対してデータ書き込みを行う際に、前記ターゲットのアドレス、前記記憶回路のアドレス、及び書き込みデータを含む信号列のCRC値を計算するように構成された演算回路と、前記ターゲットのアドレス、前記記憶回路のアドレス、前記書き込みデータ、及び前記CRC値を前記ターゲットに送信するように構成された通信回路と、を備え、前記演算回路は、前記ターゲットから肯定応答が返ってきたときに計算途中の計算値を保持するように構成されている。
【0006】
本開示に係るターゲットは、コントローラとシリアル通信を行うように構成されたターゲットであって、前記コントローラが前記ターゲットの記憶回路からデータ読み出しを行う際に、前記ターゲットのアドレス、前記記憶回路のアドレス、及び読み出しデータを含む信号列のCRC値を計算するようにそれぞれ構成された演算回路と、前記読み出しデータ、及び前記CRC値を前記コントローラに送信するように構成された通信回路と、を備え、前記演算回路は、第1演算回路及び第2演算回路を含み、前記第1演算回路及び前記第2演算回路はそれぞれ、受け取った信号列についてCRC演算を行うように構成されており、前記第1演算回路は、前記シリアル通信のスタートコンディションでリセット動作を行うように構成され、前記第2演算回路は、前記ターゲットが最初に受け取った前記ターゲットのアドレスに対して肯定応答を返すタイミングで前記第1演算回路が行っている計算途中の計算値を受け取り、前記シリアル通信のスタートコンディションでリセット動作を回避するように構成されている。
【図面の簡単な説明】
【0007】
図1は、比較例に係るデータ書き込みの通信プロトコルを示す図である。
図2は、比較例に係るデータ読み出しの通信プロトコルを示す図である。
図3は、本開示の実施形態に係るデータ書き込みの通信プロトコルを示す図である。
図4は、本開示の実施形態に係るデータ読み出しの通信プロトコルを示す図である。
図5は、本開示の実施形態に係る通信システムの構成例を示す図である。
図6は、演算回路の構成例を示す図である。
図7は、演算回路の動作を説明するための図である。
図8は、第1演算回路及び第2演算回路の動作を説明するための図である。
図9は、本開示の実施形態に係るデータ書き込みのマルチプルモードにおける通信プロトコルを示す図である。
図10は、本開示の実施形態に係るデータ読み出しのマルチプルモードにおける通信プロトコルを示す図である。
【0008】
[詳細な説明]
<比較例>
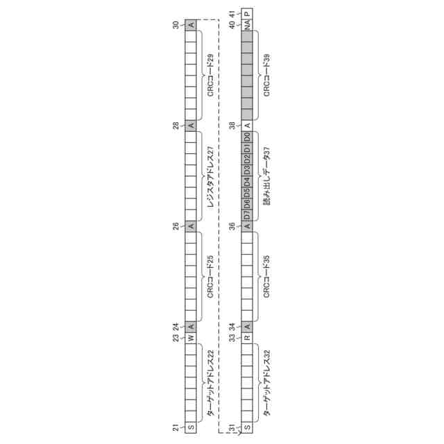
図1は、比較例に係るデータ書き込みの通信プロトコルを示す図である。なお、比較例及び後述する実施形態の通信プロトコルはI2C通信規格に準拠している。また、通信プロトコルを示す各図において、各ブロックは1bitの信号を示しており、白色のブロックはコントローラからターゲットに送信される信号を示しており、灰色のブロックはターゲットからコントローラに送信される信号を示している。
【0009】
図1に示す通信プロトコルでは、スタートコンディション1、ターゲットアドレス2、データ書き込みを示す信号3、肯定応答4、CRCコード(CRC値)5、肯定応答6、レジスタアドレス7、肯定応答8、CRCコード9、肯定応答10、書き込みデータ11、肯定応答12、CRCコード13、肯定応答14、及びストップコンディション15の順で信号が伝送される。
【0010】
CRCコード5は、ターゲットアドレス2及びデータ書き込みを示す信号3に対するCRC演算の結果である。CRCコード9は、レジスタアドレス7に対するCRC演算の結果である。CRCコード13は、書き込みデータ11に対するCRC演算の結果である。
(【0011】以降は省略されています)
この特許をJ-PlatPat(特許庁公式サイト)で参照する
関連特許
ローム株式会社
半導体装置
21日前
ローム株式会社
半導体装置
今日
ローム株式会社
半導体装置
16日前
ローム株式会社
半導体装置
8日前
ローム株式会社
半導体装置
16日前
ローム株式会社
半導体装置
今日
ローム株式会社
半導体装置
今日
ローム株式会社
電源制御装置
16日前
ローム株式会社
信号伝達装置
16日前
ローム株式会社
半導体集積回路
1日前
ローム株式会社
定電圧生成回路
今日
ローム株式会社
半導体集積回路
今日
ローム株式会社
定電圧生成回路
今日
ローム株式会社
半導体モジュール
9日前
ローム株式会社
モータドライバ回路
16日前
ローム株式会社
比較回路、半導体装置
今日
ローム株式会社
逐次比較型AD変換回路
8日前
ローム株式会社
サーマルプリントヘッド
今日
ローム株式会社
半導体装置およびシステム
8日前
ローム株式会社
監視回路及びレジスタ制御装置
今日
ローム株式会社
信号受信装置、IC及び電気機器
14日前
ローム株式会社
昇圧型スイッチングレギュレータ
2日前
ローム株式会社
電圧調整装置及び電荷蓄積システム
2日前
ローム株式会社
モータドライバ回路および駆動方法
1日前
ローム株式会社
半導体装置および半導体装置の製造方法
1日前
ローム株式会社
検出回路、信号伝達装置、電子機器、車両
今日
ローム株式会社
サーマルプリントヘッド及びその製造方法
今日
ローム株式会社
半導体装置、および半導体装置の製造方法
今日
ローム株式会社
半導体装置、および半導体装置の製造方法
14日前
ローム株式会社
コントローラ、ターゲット、及び通信システム
今日
ローム株式会社
電源回路、電子コントロールユニット、自動車
8日前
ローム株式会社
雨検出装置、雨検出システム、および、雨検出方法
2日前
ローム株式会社
窒化物半導体装置および窒化物半導体装置の製造方法
今日
ローム株式会社
信号伝達装置、電子機器、車両、絶縁ゲートドライバIC
8日前
ローム株式会社
半導体装置
今日
ローム株式会社
半導体装置、マルチフェーズDC/DCコンバータ及び電源装置
14日前
続きを見る
他の特許を見る