TOP
|
特許
|
意匠
|
商標
特許ウォッチ
Twitter
他の特許を見る
10個以上の画像は省略されています。
公開番号
2025172319
公報種別
公開特許公報(A)
公開日
2025-11-26
出願番号
2024077755
出願日
2024-05-13
発明の名称
雨検出装置、雨検出システム、および、雨検出方法
出願人
ローム株式会社
代理人
弁理士法人深見特許事務所
主分類
G01N
21/17 20060101AFI20251118BHJP(測定;試験)
要約
【課題】赤外光を用いた雨の検出に関する異常状態の検出精度を向上させることである。
【解決手段】赤外光に応じた第1反射光を受光する第1受光素子11bからの第1検出信号を第1検出データに変換し、第1検出データに応じて雨を検出するための第1データ処理をする第1データ処理回路2と、赤外光を用いる雨の検出に関する異常状態が生じているか否かを判定するための第2データ処理をする第2データ処理回路3とを備える。第1データ処理回路2は、さらに、紫外光に応じた第2反射光を受光する第2受光素子12bからの第2検出信号を第2検出データに変換する。第2データ処理回路3は、第2データ処理において、赤外光を用いる雨の検出に関する異常状態が生じているか否かを第2検出データに応じて判定する。
【選択図】図4
特許請求の範囲
【請求項1】
赤外光を発光する第1発光素子と、
前記第1発光素子から発光される赤外光に応じた第1反射光を受光し、第1検出信号を出力する第1受光素子と、
紫外光を発光する第2発光素子と、
前記第2発光素子から発光される紫外光に応じた第2反射光を受光し、第2検出信号を出力する第2受光素子と、
前記第1検出信号を第1検出データに変換し、前記第1検出データに応じて雨を検出するための第1データ処理をする第1データ処理回路と、
前記第1発光素子から発光される赤外光を用いる雨の検出に関する異常状態が生じているか否かを判定するための第2データ処理をする第2データ処理回路とを備え、
前記第1データ処理回路は、さらに、前記第2検出信号を第2検出データに変換し、
前記第2データ処理回路は、前記第2データ処理において、前記異常状態が生じているか否かを前記第2検出データに応じて判定する、雨検出装置。
続きを表示(約 1,900 文字)
【請求項2】
前記異常状態が生じているか否かを前記第2反射光の検出データにより判定するための判定データを予め記憶したメモリをさらに備え、
前記第2データ処理回路は、前記第2データ処理において、前記判定データと前記第2検出データとを比較することにより前記異常状態が生じているか否かを判定する、請求項1に記載の雨検出装置。
【請求項3】
前記第1発光素子、前記第1受光素子、前記第2発光素子、および、前記第2受光素子は、紫外光の透過を抑制する中間層を有する3層ガラスに向けて配置することが可能であり、
前記第2受光素子が受光する前記第2反射光は、前記第2発光素子から発光された紫外光のうち、前記中間層で反射された紫外光である、請求項1または請求項2に記載の雨検出装置。
【請求項4】
前記第2データ処理回路が判定する前記異常状態は、前記雨検出装置の電気的故障を含む、請求項1または請求項2に記載の雨検出装置。
【請求項5】
前記第2データ処理回路が判定する前記異常状態は、前記雨検出装置の物理的故障を含む、請求項1または請求項2に記載の雨検出装置。
【請求項6】
赤外光により雨を検出する雨検出装置と、
前記雨検出装置の検出データに応じて降雨状態を判定する判定装置とを備え、
前記雨検出装置は、
赤外光を発光する第1発光素子と、
前記第1発光素子から発光される赤外光に応じた第1反射光を受光し、第1検出信号を出力する第1受光素子と、
紫外光を発光する第2発光素子と、
前記第2発光素子から発光される紫外光に応じた第2反射光を受光し、第2検出信号を出力する第2受光素子と、
第1記憶部と、
第2記憶部と、
前記第1検出信号を第1検出データに変換し、前記第1検出データを前記第1記憶部に記憶させる変換回路とを備え、
前記変換回路は、さらに、前記第2検出信号を第2検出データに変換し、前記第2検出データを前記第2記憶部に記憶させ、
前記判定装置は、
前記第1記憶部に記憶された前記第1検出データに応じて雨を検出するための第1データ処理と、
前記第1発光素子から発光される赤外光を用いる雨の検出に関する異常状態が生じているか否かを、前記第2記憶部に記憶された前記第2検出データに応じて判定する第2データ処理とを実行する、雨検出システム。
【請求項7】
前記判定装置は、
前記異常状態が生じているか否かを前記第2反射光の検出データにより判定するための判定データを予め記憶したメモリをさらに備え、
前記第2データ処理において、前記判定データと前記第2検出データとを比較することにより前記異常状態が生じているか否かを判定する、請求項6に記載の雨検出システム。
【請求項8】
第1発光素子から赤外光を発光させるステップと、
前記第1発光素子から発光される赤外光に応じた第1反射光を受光した第1受光素子から出力される第1検出信号を第1検出データに変換するステップと、
第2発光素子から紫外光を発光させるステップと、
前記第2発光素子から発光される紫外光に応じた第2反射光を受光した第2受光素子から出力される第2検出信号を第2検出データに変換するステップと、
前記第1検出データに応じて雨を検出するための第1データ処理をするステップと、
前記第1発光素子から発光される赤外光を用いる雨の検出に関する異常状態が生じているか否かを、前記第2検出データに応じて判定する第2データ処理をするステップとを備える、雨検出方法。
【請求項9】
前記第2データ処理は、前記異常状態が生じているか否かを前記第2反射光の検出データにより判定するための判定データと、前記第2検出データとを比較することにより前記異常状態が生じているか否かを判定する、請求項8に記載の雨検出方法。
【請求項10】
前記第1発光素子、前記第1受光素子、前記第2発光素子、および、前記第2受光素子は、紫外光の透過を抑制する中間層を有する3層ガラスに向けて配置することが可能であり、
前記第2受光素子が受光する前記第2反射光は、前記第2発光素子から発光された紫外光のうち、前記中間層で反射された紫外光である、請求項8または請求項9に記載の雨検出方法。
(【請求項11】以降は省略されています)
発明の詳細な説明
【技術分野】
【0001】
本開示は、雨検出装置、雨検出システム、および、雨検出方法に関する。
続きを表示(約 2,700 文字)
【背景技術】
【0002】
従来の自動車等の車両においては、雨を検出する雨検出装置が設けられたものがある。雨検出装置は、レインセンサと呼ばれる。雨検出装置においては、発光素子から発光される赤外光をフロントウインドウで反射させた反射光を受光素子が受光し、受光素子が受光した赤外光の検出結果に応じて、雨が検出される。
【0003】
特開昭57-88346号公報(特許文献1)および特開2014-211358号公報(特許文献2)には、発光素子からガラス面に光を照射し、当該ガラス面で反射した光を受光素子で検出することによって、ガラス面の雨滴を検出する雨検出装置(レインセンサ)が開示されている。
【先行技術文献】
【特許文献】
【0004】
特開昭57-88346号公報
特開2014-211358号公報[概要] 上記のような雨検出装置において、赤外線を用いて雨検出装置の異常状態を検出する技術が検討されている。しかしながら、赤外光を用いて雨検出装置の異常状態を検出する場合には、異常検出用の赤外光が、外部から雨検出装置に入射する赤外光の影響を受ける可能性があり、そのような場合には、雨検出装置の異常状態の検出精度の低下を招くおそれがある。
【0005】
本開示は、上記のような課題を解決するためになされたものである。本開示の目的は、赤外光を用いた雨の検出に関する異常状態の検出精度を向上させることである。
【0006】
本開示のある局面に従う雨検出装置は、赤外光を発光する第1発光素子と、第1発光素子から発光される赤外光に応じた第1反射光を受光し、第1検出信号を出力する第1受光素子と、紫外光を発光する第2発光素子と、第2発光素子から発光される紫外光に応じた第2反射光を受光し、第2検出信号を出力する第2受光素子と、第1検出信号を第1検出データに変換し、第1検出データに応じて雨を検出するための第1データ処理をする第1データ処理回路と、第1発光素子から発光される赤外光を用いる雨の検出に関する異常状態が生じているか否かを判定するための第2データ処理をする第2データ処理回路とを備え、第1データ処理回路は、さらに、第2検出信号を第2検出データに変換し、第2データ処理回路は、第2データ処理において、異常状態が生じているか否かを第2検出データに応じて判定する。
【0007】
本開示の他の局面に従う雨検出システムは、赤外光により雨を検出する雨検出装置と、雨検出装置の検出データに応じて降雨状態を判定する判定装置とを備え、雨検出装置は、赤外光を発光する第1発光素子と、第1発光素子から発光される赤外光に応じた第1反射光を受光し、第1検出信号を出力する第1受光素子と、紫外光を発光する第2発光素子と、第2発光素子から発光される紫外光に応じた第2反射光を受光し、第2検出信号を出力する第2受光素子と、第1記憶部と、第2記憶部と、第1検出信号を第1検出データに変換し、第1検出データを第1記憶部に記憶させる変換回路とを備え、変換回路は、さらに、第2検出信号を第2検出データに変換し、第2検出データを第2記憶部に記憶させ、判定装置は、第1記憶部に記憶された第1検出データに応じて雨を検出するための第1データ処理と、第1発光素子から発光される赤外光を用いる雨の検出に関する異常状態が生じているか否かを、第2記憶部に記憶された第2検出データに応じて判定する第2データ処理とを実行する。
【0008】
本開示の他の局面に従う雨検出方法は、第1発光素子から赤外光を発光させるステップと、第1発光素子から発光される赤外光に応じた第1反射光を受光した第1受光素子から出力される第1検出信号を第1検出データに変換するステップと、第2発光素子から紫外光を発光させるステップと、第2発光素子から発光される紫外光に応じた第2反射光を受光した第2受光素子から出力される第2検出信号を第2検出データに変換するステップと、第1検出データに応じて雨を検出するための第1データ処理をするステップと、第1発光素子から発光される赤外光を用いる雨の検出に関する異常状態が生じているか否かを、第2検出データに応じて判定する第2データ処理をするステップとを備える。
【図面の簡単な説明】
【0009】
図1は、実施の形態1に係る雨検出装置の設置例を示す図である。
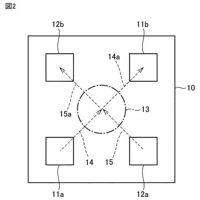
図2は、実施の形態1に係る雨検出装置における発光素子および受光素子の配置例を示す図である。
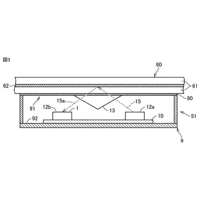
図3は、実施の形態1に係る雨検出装置の内部構成を示す断面図である。
図4は、実施の形態1に係る雨検出装置を含む雨検出システムに関する信号処理回路の構成例を示す図である。
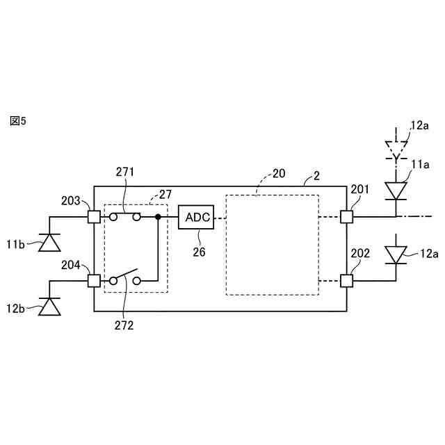
図5は、実施の形態1に係る第1受光素子および第2受光素子とADCとの関係を示すブロック図である。
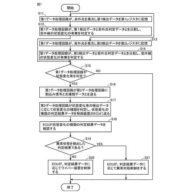
図6は、実施の形態1の雨検出装置を用いたワイパー制御および異常対処制御を示すフローチャートである。
図7は、実施の形態1の雨検出装置を用いたワイパー制御および異常対処制御を示すフローチャートである。
図8は、実施の形態2に係る雨検出装置を含む雨検出システムに関する信号処理回路の構成例を示す図である。
図9は、実施の形態2の雨検出システムのワイパー制御および異常対処制御を示すフローチャートである。
図10は、実施の形態2の雨検出システムのワイパー制御および異常対処制御を示すフローチャートである。[詳細な説明] 以下、本開示の実施の形態について、図面を参照しながら詳細に説明する。なお、以下では図中の同一または相当部分には同一の符号を付して、その説明は原則的に繰返さないものとする。以下では、複数の実施の形態について説明するが、各実施の形態で説明された構成を適宜組み合わせることは出願当初から予定されている。
【0010】
<実施の形態1>
[雨検出装置51の設置例]
図1は、実施の形態1に係る雨検出装置51の設置例を示す図である。図1の例では、車両100の側面図が示されている。図1においては、例えば自動車のような車両100におけるガラス製のフロントウインドウ60の内側に雨検出装置51が設置された構成が示されている。フロントウインドウ60は、透明の板状体である。フロントウインドウ60は、図3に示すように、紫外光の透過を抑制する構造を備える。
(【0011】以降は省略されています)
この特許をJ-PlatPat(特許庁公式サイト)で参照する
関連特許
ローム株式会社
半導体装置
19日前
ローム株式会社
半導体装置
19日前
ローム株式会社
半導体装置
14日前
ローム株式会社
半導体装置
14日前
ローム株式会社
半導体装置
19日前
ローム株式会社
半導体装置
6日前
ローム株式会社
電源制御装置
14日前
ローム株式会社
信号伝達装置
14日前
ローム株式会社
半導体モジュール
7日前
ローム株式会社
半導体メモリ装置
21日前
ローム株式会社
モータドライバ回路
14日前
ローム株式会社
逐次比較型AD変換回路
6日前
ローム株式会社
半導体装置およびシステム
6日前
ローム株式会社
信号受信装置、IC及び電気機器
12日前
ローム株式会社
昇圧型スイッチングレギュレータ
今日
ローム株式会社
電圧調整装置及び電荷蓄積システム
今日
ローム株式会社
半導体装置および半導体装置の製造方法
19日前
ローム株式会社
半導体装置、および半導体装置の製造方法
19日前
ローム株式会社
半導体装置、および半導体装置の製造方法
12日前
ローム株式会社
力率改善回路、制御装置、および電子機器
19日前
ローム株式会社
電源回路、電子コントロールユニット、自動車
6日前
ローム株式会社
雨検出装置、雨検出システム、および、雨検出方法
今日
ローム株式会社
三相ブラシレスモータのドライバ回路および駆動方法
21日前
ローム株式会社
信号伝達装置、電子機器、車両、絶縁ゲートドライバIC
6日前
ローム株式会社
制御装置、力率改善回路、電子機器、およびオフセット設定方法
6日前
ローム株式会社
半導体装置、マルチフェーズDC/DCコンバータ及び電源装置
12日前
ローム株式会社
SiC半導体装置
21日前
ローム株式会社
半導体モジュール
14日前
ローム株式会社
スイッチング装置、絶縁型DC/DCコンバータ及びAC/DCコンバータ
今日
ローム株式会社
半導体装置および半導体モジュール
今日
ローム株式会社
半導体装置、および半導体装置の製造方法
21日前
個人
採尿及び採便具
27日前
日本精機株式会社
検出装置
21日前
個人
計量機能付き容器
16日前
個人
高精度同時多点測定装置
1か月前
個人
アクセサリー型テスター
1か月前
続きを見る
他の特許を見る