TOP
|
特許
|
意匠
|
商標
特許ウォッチ
Twitter
他の特許を見る
公開番号
2025165423
公報種別
公開特許公報(A)
公開日
2025-11-05
出願番号
2024069423
出願日
2024-04-23
発明の名称
検出装置
出願人
日本精機株式会社
代理人
主分類
G01F
23/38 20060101AFI20251028BHJP(測定;試験)
要約
【課題】樹脂製の支持部材の軸部への、固定部材の取付けを容易にする検出装置を提供する。
【解決手段】本発明の検出装置1は、検出対象の変位に応じて軸線AXを中心に回転し、軸線AXが延びる方向に貫通する貫通孔112を有する回転部材10と、回転部材10に保持されている1又は2以上の磁石20a,20bと、回転部材10の回転に伴う磁場の変化を検出する磁気検出素子30と、軸線AXに沿う軸部42を備え、軸部42を貫通孔112に挿通することにより、軸線AXを中心に回転可能に回転部材10を支持する支持部材40と、軸部AXのうち貫通孔112から突出している突出部分421に取付けられている非磁性の固定部材50とを備え、回転部材10が、固定部材50を突出部分421に取付ける際に固定部材50を突出部分421にガイドする、1又は2以上のガイド部113a,113bを備える。
【選択図】図2
特許請求の範囲
【請求項1】
検出対象の変位を検出する検出装置であって、
前記検出装置が、
前記検出対象の変位に応じて軸線を中心に回転し、前記軸線が延びる方向に貫通する貫通孔を有する回転部材と、
前記回転部材に保持されている1又は2以上の磁石と、
前記回転部材の回転に伴う磁場の変化を検出する磁気検出素子と、
前記軸線に沿う軸部を備え、前記軸部を前記貫通孔に挿通することにより、前記軸線を中心に回転可能に前記回転部材を支持する支持部材と、
前記軸部のうち前記貫通孔から突出している突出部分に取付けられている非磁性の固定部材と
を備え、
前記回転部材が、前記固定部材を前記突出部分に取付ける際に前記固定部材を前記突出部分にガイドする、1又は2以上のガイド部を備える、検出装置。
続きを表示(約 510 文字)
【請求項2】
前記軸部が、片側に閉口部を有する円筒状であり、前記突出部分が、前記軸部の外周に沿って円状又は円弧状に溝部を有する、請求項1に記載の検出装置。
【請求項3】
前記固定部材が、前記突出部分を取り巻く有リング状部と、前記溝部に嵌合する1又は2以上の嵌合部とを備える、請求項2に記載の検出装置。
【請求項4】
前記固定部材が、Eリングである、請求項3に記載の検出装置。
【請求項5】
前記1又は2以上のガイド部が、一対の隆起部である、請求項1に記載の検出装置。
【請求項6】
前記回転部材が、前記一対の隆起部の間に1又は2以上の凸部を有する、請求項5に記載の検出装置。
【請求項7】
前記回転部材が1又は2以上の窪み部を備え、前記1又は2以上の磁石のそれぞれが前記1又は2以上の窪み部に保持される、請求項1に記載の検出装置。
【請求項8】
前記1又は2以上の窪み部が、前記軸部の基部側から前記突出部分に向かう方向に窪んでおり、前記軸部の前記突出部分から前記基部側に向かう方向に開口している、請求項7に記載の検出装置。
発明の詳細な説明
【技術分野】
【0001】
本発明は、検出装置に関し、例えば、液体の液面を検出する検出装置に関する。
続きを表示(約 1,400 文字)
【背景技術】
【0002】
従来、対象の変位を検出する検出装置にあっては、例えば、特許文献1に開示された液体の液面を検出する検出装置が知られている。この特許文献1に記載の検出装置は、内部に磁石を収容し、液体の液面に浮くフロートの変位に応じて回転する樹脂製の磁石ホルダと、この磁石ホルダの回転に伴う磁場の変化を検出する磁気検出素子と、磁石ホルダを回転可能に支持するとともに磁気検出素子を収容する樹脂製のケースと、磁石ホルダを覆うように配置される樹脂カバーとを備え、樹脂カバーは、ケースの主要部を構成する台部の四隅に設けた4つの溶着用突起を溶融させることでケースに溶着固定されていた。
【先行技術文献】
【特許文献】
【0003】
特開2014-71042号公報
【発明の概要】
【発明が解決しようとする課題】
【0004】
特許文献1に記載の検出装置の場合、磁石ホルダやケース、樹脂カバーは何れも樹脂(溶融樹脂)を射出成形することによって得られた射出成形品であり、磁石ホルダ、ケース及び樹脂カバーを成形するにあたって、部材毎に金型が必要であった。そのため、検出装置を製造するための部品費が嵩み、コストアップの原因となっていた。また、樹脂カバーをケースに溶着固定する必要があり、容易に組付け可能な検出装置が求められていた。
【0005】
本発明は、組付けを容易にする検出装置を提供することを目的とする。
【課題を解決するための手段】
【0006】
上記課題を解決するために、本発明は、検出対象の変位を検出する検出装置であって、
前記検出装置が、
前記検出対象の変位に応じて軸線を中心に回転し、前記軸線が延びる方向に貫通する貫通孔を有する回転部材と、
前記回転部材に保持されている1又は2以上の磁石と、
前記回転部材の回転に伴う磁場の変化を検出する磁気検出素子と、
前記軸線に沿う軸部を備え、前記軸部を前記貫通孔に挿通することにより、前記軸線を中心に回転可能に前記回転部材を支持する支持部材と、
前記軸部のうち前記貫通孔から突出している突出部分に取り付けられている非磁性の固定部材と
を備え、
前記回転部材が、前記固定部材を前記突出部分に取り付ける際に前記固定部材を前記突出部分にガイドする、1又は2以上のガイド部を備える検出装置を提供する。
【発明の効果】
【0007】
本発明によれば、組付けを容易にする検出装置が提供される。
【図面の簡単な説明】
【0008】
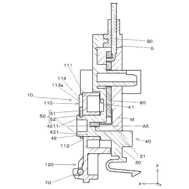
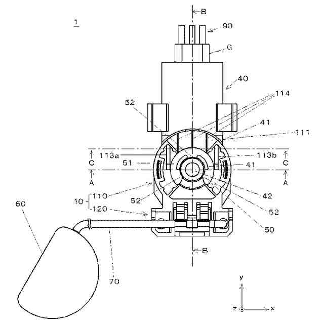
図1は、本発明の一実施形態における検出装置を示す正面図である。
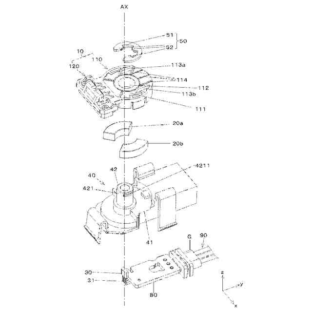
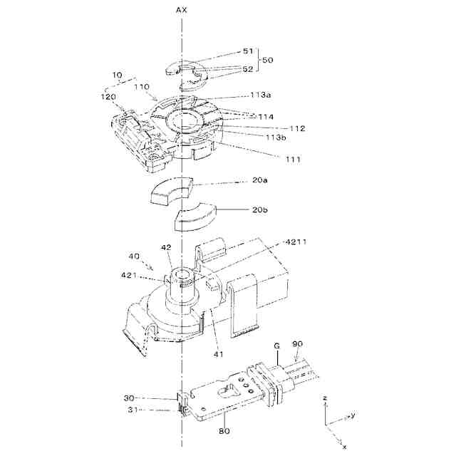
図2は、図1の検出装置の分解斜視図である。
図3は、図1のA-A線断面図である。
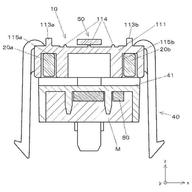
図4は、図1のB-B線断面図である。
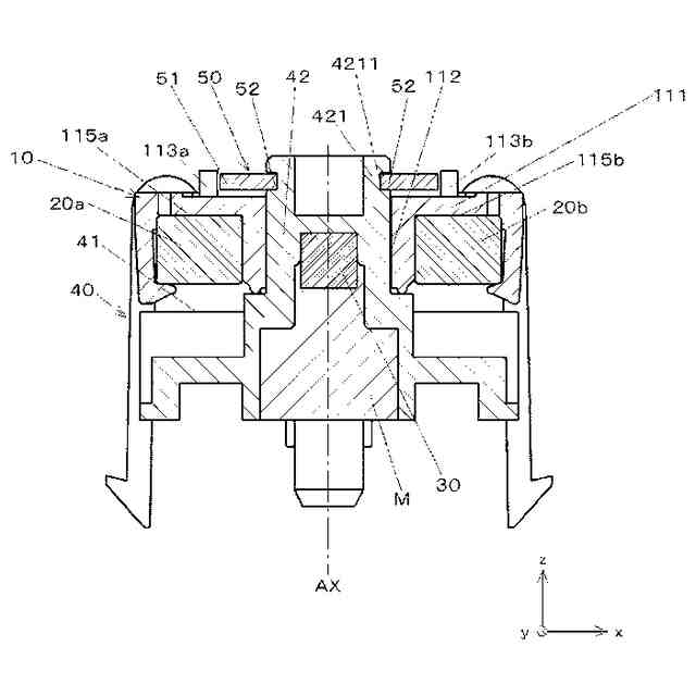
図5は、図1のC-C線断面図である。
【発明を実施するための形態】
【0009】
以下、図面を参照して本発明の実施形態について説明する。
【0010】
図1は、本発明の一実施形態における液面検出装置1を示す正面図である。図2は、図1の液面検出装置1の分解斜視図であり、図3~5はそれぞれ、図1のA-A線断面図、B-B線断面図及びC-C線断面図である。
(【0011】以降は省略されています)
この特許をJ-PlatPat(特許庁公式サイト)で参照する
関連特許
日本精機株式会社
照明装置
21日前
日本精機株式会社
検出装置
20日前
日本精機株式会社
表示装置
21日前
日本精機株式会社
位置検出装置
1か月前
日本精機株式会社
車載表示装置
27日前
日本精機株式会社
位置検出装置
1か月前
日本精機株式会社
画像投映装置
1か月前
日本精機株式会社
運転支援装置
19日前
日本精機株式会社
車載表示装置
1か月前
日本精機株式会社
車載表示装置
29日前
日本精機株式会社
車両用投射装置
1か月前
日本精機株式会社
車両用表示装置
1か月前
日本精機株式会社
サージ保護回路
1か月前
日本精機株式会社
車両用投射装置
1か月前
日本精機株式会社
車両用報知装置
1か月前
日本精機株式会社
車両用表示装置
27日前
日本精機株式会社
ミラーユニット
27日前
日本精機株式会社
スペックル低減装置
1か月前
日本精機株式会社
鞍乗型車両用表示装置
18日前
日本精機株式会社
表示装置及びその製造方法
21日前
日本精機株式会社
スクリーン反射型表示装置
19日前
日本精機株式会社
ヘッドアップディスプレイ
21日前
日本精機株式会社
ヘッドアップディスプレイ
18日前
日本精機株式会社
ヘッドアップディスプレイ装置
19日前
日本精機株式会社
ヘッドアップディスプレイ装置
1か月前
日本精機株式会社
ヘッドアップディスプレイ装置
18日前
日本精機株式会社
表示制御装置、表示装置、及び表示制御方法
18日前
日本精機株式会社
ヘッドアップディスプレイ装置及び表示制御装置
18日前
日本精機株式会社
嚥下異常検出システム、嚥下異常検出装置および嚥下異常検出用プログラム
18日前
日本精機株式会社
ヘッドアップディスプレイ装置
1か月前
日本精機株式会社
音圧制御装置、及びサウンダーの音圧制御システム、並びにサウンダーの音圧制御方法
1か月前
日本精機株式会社
ヘッドアップディスプレイ装置、ヘッドアップディスプレイ装置の制御方法、および表示制御プログラム
1か月前
日本精機株式会社
表示制御装置、ヘッドアップディスプレイ装置、表示装置の制御方法、プログラム、および車両用表示システム
1か月前
日本精機株式会社
表示制御装置、ヘッドアップディスプレイ装置、表示制御方法、表示制御プログラム、および車両用表示システム
19日前
日本精機株式会社
車両用表示制御装置、ヘッドアップディスプレイ装置、表示制御方法、表示制御プログラム、および車両用表示システム
19日前
個人
採尿及び採便具
26日前
続きを見る
他の特許を見る