TOP
|
特許
|
意匠
|
商標
特許ウォッチ
Twitter
他の特許を見る
公開番号
2025166304
公報種別
公開特許公報(A)
公開日
2025-11-06
出願番号
2024070225
出願日
2024-04-24
発明の名称
車両用表示制御装置、ヘッドアップディスプレイ装置、表示制御方法、表示制御プログラム、および車両用表示システム
出願人
日本精機株式会社
代理人
個人
,
個人
,
個人
,
個人
,
個人
主分類
B60K
35/23 20240101AFI20251029BHJP(車両一般)
要約
【課題】車両の走行予定経路上の路面形状の変化を、例えば、地図の仮想視点を変更して強調して表示することにより、乗員へ、よりわかりやすく情報伝達する。
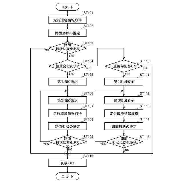
【解決手段】仮想視点から見下ろしたような地図を表示する車両用表示装置の制御を行う表示制御装置10であって、外部から取得される車両の走行環境情報から判定され又は推定される、車両の走行予定経路上の路面形状の変化の有無に応じて、第1地図、又は前記第1地図とは仮想視点が異なる第2地図を車両用表示装置20に表示する制御を行う制御部11、を有する。
【選択図】図1
特許請求の範囲
【請求項1】
仮想視点から見下ろしたような地図を表示する車両用表示装置の制御を行う表示制御装置であって、
外部から取得される車両の走行環境情報から判定され又は推定される、前記車両の走行予定経路上の路面形状の変化の有無に応じて、第1地図、又は前記第1地図とは前記仮想視点が異なる第2地図あるいは第3地図を前記車両用表示装置に表示する制御を行う制御部、を有する車両用表示制御装置。
続きを表示(約 1,600 文字)
【請求項2】
前記制御部は、
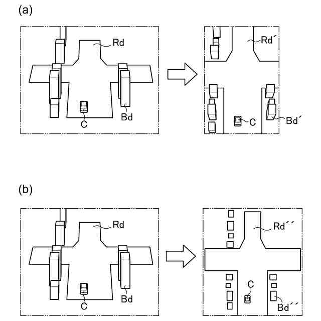
前記車両の予定経路上の道路に幅員変化があると判定された場合、前記第1地図に比べて大きな俯角を取りうる前記仮想視点の位置に基づき映し出される前記第2地図によって前記幅員変化を強調して表示する制御を行う、請求項1記載の車両用表示制御装置。
【請求項3】
前記制御部は、
前記車両の予定経路上の路面に勾配変化があると判定された場合、前記第1地図より左右のいずれかに前記仮想視点を移して映し出される前記第2地図により前記勾配変化を強調して表示する制御を行う、請求項1記載の車両用表示制御装置。
【請求項4】
前記制御部は、
前記車両の予定経路上の道路に幅員変化があると推定された場合、前記車両の斜め後ろから俯瞰して見える前記第1地図を表示した後、前記第1地図より狭域の前記第2地図を前記車両用表示装置に表示する制御を行う、請求項1記載の車両用表示制御装置。
【請求項5】
前記制御部は、
前記車両用表示装置に前記第2地図を表示するにあたり、前記第2地図の仮想視点位置を変更して前記道路の前記幅員変化を強調する制御を行う、請求項4記載の車両用表示制御装置。
【請求項6】
前記制御部は、
前記車両の予定経路上の道路に勾配変化があると推定された場合、前記車両の斜め後ろから俯瞰して見える前記第1地図を表示した後、前記第1地図より左右のいずれかに前記仮想視点を移動させて立体的な差異を強調した前記第3地図を前記車両用表示装置に表示する制御を行う、請求項1記載の車両用表示制御装置。
【請求項7】
前記制御部は、
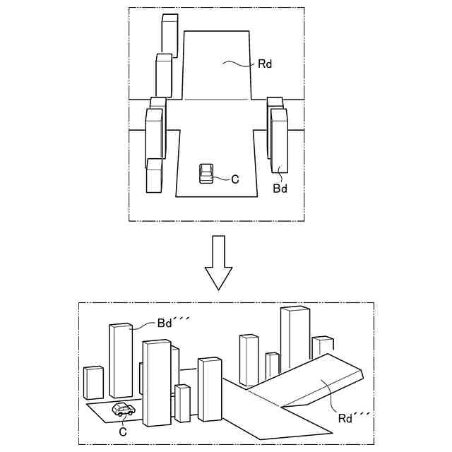
前記第3地図を表示するにあたり、前記車両の手前に立体構造物がある場合、前記立体構造物を非表示にするか、もしくは半透明表示する制御を行う、請求項6記載の車両用表示制御装置。
【請求項8】
前記制御部は、
前記車両の予定経路上の道路に勾配変化があってかつ幅員が減少すると判定されるか推定された場合、
前記第1地図に比べて大きな俯角を取りうる前記仮想視点の位置に基づき映し出される前記第2地図と、前記第1地図より左右のいずれかに前記仮想視点を移動させて映し出される前記第3地図とを並べて前記車両用表示装置に表示するか、
又は、前記勾配変化と幅員減少の表示に対して優先度を付与し、付与された表示の前記優先度にしたがい、前記幅員減少に関して前記第1地図に比べて大きな俯角を取りうる前記仮想視点の位置に基づき映し出される前記第2地図を前記車両用表示装置に表示するか、前記勾配変化に関して前記第1地図より左右に前記仮想視点を移して映し出される前記第3地図を前記車両用表示装置に表示するかを切り替えて表示する制御を行う、請求項1記載の車両用表示制御装置。
【請求項9】
前記制御部は、
前記第1地図を映す前記仮想視点が前記車両の斜め後方に俯瞰した位置にあって、前記車両の移動に追従して切り出し範囲が変化するように制御し、前記第2地図を映す前記仮想視点が前記第1地図より前方に位置し、前記車両の位置に依存せず所定の報知領域を含むように固定して前記車両用表示装置に表示する制御を行う、請求項1記載の車両用表示制御装置。
【請求項10】
車両の前方に仮想的に設定される結像面に、仮想視点から見下ろしたような地図を表示するヘッドアップディスプレイ装置であって、
前記地図を表示する画像表示部と、
外部から取得される前記車両の走行環境情報から判定され又は推定される、前記車両の走行予定経路上の路面形状の変化の有無に応じて、第1地図、又は前記第1地図とは前記仮想視点が異なる第2地図あるいは第3地図を前記画像表示部に表示する制御を行う制御部と、を有するヘッドアップディスプレイ装置。
(【請求項11】以降は省略されています)
発明の詳細な説明
【技術分野】
【0001】
本発明は、仮想視点から見下ろしたような地図を表示する車両用表示装置を制御する車両用表示制御装置、等に関する。
続きを表示(約 1,700 文字)
【背景技術】
【0002】
例えば、特許文献1の段落[0006]~[0007]に、自車速度が低速であれば、表示の縮尺を望遠に設定し、自車周辺の周辺画像と自車を示す自車画像とを表示装置に表示させ、自車速度が高速であれば、表示の縮尺を広角に設定し、周辺画像と自車画像とを表示装置に表示させる制御を行う車両用表示制御装置が記載されている。
【0003】
特許文献1の車両用表示制御装置では、自車速度が低速であれば、表示の縮尺を望遠に設定することで自車周辺の走行環境の詳細な情報をドライバに提示することが出来、一方、自車速度が増加すれば表示の縮尺を望遠に設定したままでは周辺画像の表示移動が速かったり前方表示距離が短く運転操作に余裕が持たせられなかったりする等の不具合があることから、自車速度が高速であれば、表示の縮尺を広角に設定して周辺画像と自車画像とを表示装置に表示することで、周辺画像の表示移動による煩わしさを解消すると共に前方表示距離を長く確保でき、自車周辺の走行環境に加えて遠方までの走行環境もドライバに提示することができる。これにより、自車周辺の走行環境を乗員(ドライバー)に適切に提示することができる。
【先行技術文献】
【特許文献】
【0004】
特開2023-4192号公報
【発明の概要】
【発明が解決しようとする課題】
【0005】
しかしながら、特許文献1に記載の車両用表示制御装置では、例えば、車両の走行予定経路上での路面の幅員減少、あるいは道路勾配、段差、凹凸等、地形の起伏の変化がある場合に、表示上の変化が乏しいことから、乗員は、車両の予定経路上でこれらの存在が分かりづらい。したがって、例えば、不慣れな道をレンタカー等で自身が普段運転しないような車幅を持つ車両を運転する際に、現状のナビゲーションでは幅員減少等の情報が得られず、もしくはわかりづらいことから、直前になって予想外に狭い道を通らざるを得ないような状況が発生することがあり、この場合、余裕を持って路面を確認できないため、急激な進路変更等、危険な運転操作を強いられる等の問題があった。
【0006】
このため、本発明の目的は、車両の走行予定経路上の路面形状の変化を、例えば、地図の仮想視点を変更して強調して表示することにより、乗員(ドライバー)に、よりわかりやすく情報伝達が可能な、表示制御装置等を提供することにある。
【0007】
本発明の他の目的は、以下に例示する態様及び最良の実施形態、並びに添付の図面を参照することによって、当業者に明らかになるであろう。
【課題を解決するための手段】
【0008】
以下に、本発明の概要を容易に理解するために、本発明に従う態様を例示する。
【0009】
本発明に従う第1の態様は、仮想視点から見下ろしたような地図を表示する車両用表示装置の制御を行う表示制御装置であって、外部から取得される車両の走行環境情報から判定され又は推定される、前記車両の走行予定経路上の路面形状の変化の有無に応じて、第1地図、又は前記第1地図とは前記仮想視点が異なる第2地図あるいは第3地図を前記車両用表示装置に表示する制御を行う制御部、を有する。
【0010】
第1の態様では、制御部が、外部から取得される車両の走行環境情報から判定され又は推定される、車両の走行予定経路上の路面形状の変化の有無に応じて、第1地図、又は第1地図とは仮想視点が異なる第2地図あるいは第3地図を車両用表示装置に表示する制御を行う。ここで、「外部から取得される車両の走行環境情報」とは、例えば、図1に示すロケータ40、ナビゲーション装置50、GNSS装置60、周辺監視センサ70、IMU80、地図情報記憶装置90、あるいは、車外通信接続機器100を介して取得される、地図情報(3Dマップを含む)、車両の予定経路上の道路の幅員減少や勾配ありといった注意標識データ等をいう。
(【0011】以降は省略されています)
この特許をJ-PlatPat(特許庁公式サイト)で参照する
関連特許
日本精機株式会社
回路基板
2か月前
日本精機株式会社
検出装置
25日前
日本精機株式会社
表示装置
2か月前
日本精機株式会社
表示装置
26日前
日本精機株式会社
照明装置
26日前
日本精機株式会社
車載表示装置
2か月前
日本精機株式会社
位置検出装置
2か月前
日本精機株式会社
位置検出装置
2か月前
日本精機株式会社
位置検出装置
2か月前
日本精機株式会社
画像投映装置
1か月前
日本精機株式会社
発光表示装置
3日前
日本精機株式会社
車載表示装置
1か月前
日本精機株式会社
車載表示装置
1か月前
日本精機株式会社
車載表示装置
1か月前
日本精機株式会社
運転支援装置
24日前
日本精機株式会社
車両用投射装置
1か月前
日本精機株式会社
車両用投影装置
2か月前
日本精機株式会社
ミラーユニット
1か月前
日本精機株式会社
車両用表示装置
1か月前
日本精機株式会社
車両用報知装置
1か月前
日本精機株式会社
車両用投射装置
1か月前
日本精機株式会社
車両用表示装置
1か月前
日本精機株式会社
サージ保護回路
1か月前
日本精機株式会社
車両用センサ装置
2か月前
日本精機株式会社
スペックル低減装置
1か月前
日本精機株式会社
投射型表示システム
2か月前
日本精機株式会社
投射型表示システム
2か月前
日本精機株式会社
鞍乗型車両用表示装置
23日前
日本精機株式会社
車両用投射型表示装置
2か月前
日本精機株式会社
照明装置及び表示装置
2日前
日本精機株式会社
ヘッドアップディスプレイ
23日前
日本精機株式会社
表示装置及びその製造方法
26日前
日本精機株式会社
報知装置及び報知システム
2か月前
日本精機株式会社
ヘッドアップディスプレイ
26日前
日本精機株式会社
スクリーン反射型表示装置
24日前
日本精機株式会社
ヘッドアップディスプレイ装置
1か月前
続きを見る
他の特許を見る