TOP
|
特許
|
意匠
|
商標
特許ウォッチ
Twitter
他の特許を見る
公開番号
2025166303
公報種別
公開特許公報(A)
公開日
2025-11-06
出願番号
2024070224
出願日
2024-04-24
発明の名称
表示制御装置、ヘッドアップディスプレイ装置、表示制御方法、表示制御プログラム、および車両用表示システム
出願人
日本精機株式会社
代理人
個人
,
個人
,
個人
,
個人
,
個人
主分類
B60K
35/233 20240101AFI20251029BHJP(車両一般)
要約
【課題】高速域での立体表示により感じる煩わしさを、例えば、車速に応じて仮想3Dマップの視点の位置を変更することにより抑制する。
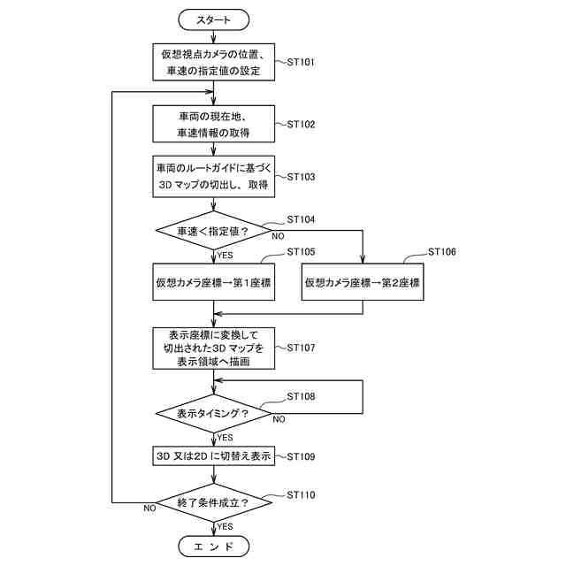
【解決手段】仮想視点から見下ろしたような仮想3Dマップを表示する車両用表示装置20を制御する表示制御装置10であって、ナビゲーションにより取得した車両の車速と所定の速度閾値とを比較し、車両の車速が所定の速度閾値未満の場合に、仮想3Dマップを映す仮想カメラ座標を第1座標に配置し、ナビゲーションにより取得した車両の車速が所定の速度閾値以上の場合に、仮想3Dマップを映す仮想カメラ座標を第1座標より高所の座標値を取りうる第2座標に配置し、第1座標又は第2座標に基づき、仮想3Dマップを車両用表示装置20に表示する制御を行う制御部11を有する。
【選択図】図1
特許請求の範囲
【請求項1】
仮想視点から見下ろしたような仮想3Dマップを表示する車両用表示装置を制御する表示制御装置であって、
ナビゲーションにより取得した車両の車速と所定の速度閾値とを比較し、前記車両の車速が所定の速度閾値未満の場合に、前記仮想3Dマップを映す仮想カメラ座標を第1座標に配置し、前記ナビゲーションにより取得した前記車両の車速が所定の速度閾値以上の場合に、前記仮想カメラ座標を前記第1座標より高所の座標値を取りうる第2座標に配置し、前記第1座標又は前記第2座標に基づき、前記仮想3Dマップを前記車両用表示装置に表示する制御を行う制御部、を有する表示制御装置。
続きを表示(約 1,600 文字)
【請求項2】
前記制御部は、
前記第2座標の画角の中心を前記第1座標の画角の中心と同じとし、かつ前記第2座標を、前記仮想3Dマップのxy平面に対して垂直に配置する制御を行う、請求項1記載の表示制御装置。
【請求項3】
前記制御部は、
前記第1座標又は前記第2座標を表示座標に透視変換して前記車両用表示装置の表示領域に前記仮想3Dマップを描画し、前記車両用表示装置の表示タイミングに同期して前記表示領域から前記仮想3Dマップを読み出して前記車両用表示装置に表示する制御を行う、請求項1又は請求項2記載の表示制御装置。
【請求項4】
車両の前方に仮想的に設定される結像面に、仮想視点から見下ろしたような仮想3Dマップを表示するヘッドアップディスプレイ装置であって、
前記仮想3Dマップを表示する画像表示部と、
ナビゲーションにより取得した前記車両の車速と所定の速度閾値とを比較し、前記車両の車速が所定の速度閾値未満の場合に、前記仮想3Dマップを映す仮想カメラ座標を第1座標に配置し、前記ナビゲーションにより取得した前記車両の車速が所定の速度閾値以上の場合に、前記仮想カメラ座標を前記第1座標より高所の座標値を取りうる第2座標に配置し、前記第1座標又は前記第2座標に基づき、前記画像表示部に前記仮想3Dマップを表示する制御を行う制御部と、を有するヘッドアップディスプレイ装置。
【請求項5】
車両の移動に追従して所定の軌道を移動する仮想視点カメラによって映し出される仮想3Dマップを表示する車両用表示装置を制御する表示制御方法であって、
ナビゲーションにより取得される前記車両の車速と所定の速度閾値とを比較し、前記車両の車速が所定の速度閾値未満の場合に、前記仮想3Dマップを映す仮想カメラ座標を第1座標に配置し、前記ナビゲーションにより取得した前記車両の車速が所定の速度閾値以上の場合に、前記仮想カメラ座標を前記第1座標より高所の座標値を取りうる第2座標に配置するステップと、
前記第1座標又は前記第2座標に基づき前記仮想3Dマップを前記車両用表示装置に表示する制御を行うステップと、を有する表示制御方法。
【請求項6】
仮想視点から見下ろしたような仮想3Dマップを表示する車両用表示装置を制御する表示制御プログラムであって、
表示制御装置が有するプロセッサに、
ナビゲーションにより取得した車両の車速と所定の速度閾値とを比較し、前記車両の車速が所定の速度閾値未満の場合に、前記仮想3Dマップを映す仮想カメラ座標を第1座標に配置し、前記ナビゲーションにより取得した前記車両の車速が所定の速度閾値以上の場合に、前記仮想カメラ座標を前記第1座標より高所の座標値を取りうる第2座標に配置する処理と、
前記第1座標又は前記第2座標に基づき前記仮想3Dマップを前記車両用表示装置に表示する制御を行う処理と、を実行させる表示制御プログラム。
【請求項7】
車両の前方に仮想的に設定される結像面に、仮想視点から見下ろしたような仮想3Dマップを表示するヘッドアップディスプレイ装置と、
ナビゲーションにより取得した前記車両の車速と所定の速度閾値とを比較し、前記車両の車速が所定の速度閾値未満の場合に、前記仮想3Dマップを映す仮想カメラ座標を第1座標に配置し、前記ナビゲーションにより取得した前記車両の車速が所定の速度閾値以上の場合に、前記仮想カメラ座標を前記第1座標より高所の座標値を取りうる第2座標に配置し、前記第1座標又は前記第2座標に基づき前記仮想3Dマップを前記ヘッドアップディスプレイ装置に表示する制御を行う表示制御装置と、を有する車両用表示システム。
発明の詳細な説明
【技術分野】
【0001】
本発明は、仮想視点から見下ろしたような仮想三次元地図(仮想3Dマップ)を表示する車両用表示装置を制御する表示制御装置、等に関する。
続きを表示(約 1,900 文字)
【背景技術】
【0002】
例えば、特許文献1の段落[0006]~[0007](図1参照)に、自車速度が低速であれば表示の縮尺を望遠に設定し、自車周辺の周辺画像と自車を示す自車画像とを表示装置に表示させ、自車速度が高速であれば表示の縮尺を広角に設定し、周辺画像と自車画像とを表示装置に表示させる制御を行う車両用表示制御装置が記載されている。
【0003】
特許文献1の車両用表示制御装置では、自車速度が低速であれば、表示の縮尺を望遠に設定することで自車周辺の走行環境の詳細な情報をドライバに提示することが出来、一方、自車速度が増加すれば表示の縮尺を望遠に設定したままでは周辺画像の表示移動が速かったり前方表示距離が短く運転操作に余裕が持たせられなかったりする等の不具合があることから、自車速度が高速であれば、表示の縮尺を広角に設定して周辺画像と自車画像とを表示装置に表示する。このことにより、周辺画像の表示移動による煩わしさを解消すると共に前方表示距離を長く確保でき、自車周辺の走行環境に加えて遠方までの走行環境もドライバに提示することができる。したがって、自車周辺の走行環境をドライバに適切に提示することができる。
【先行技術文献】
【特許文献】
【0004】
特開2023-4192号公報
【発明の概要】
【発明が解決しようとする課題】
【0005】
しかしながら特許文献1の車両用表示制御装置では、特に、高速域で車両走行中に立体表示を行うと、ビル等の立体表示物が表示領域内で高速に移動するため、乗員(ドライバ)は、立体表示物がリアルに迫りくるような感覚を覚え、煩わしく感じることがある。
【0006】
このため、本発明の目的は、高速域での立体表示により感じる煩わしさを、例えば、車速に応じて仮想3Dマップの視点位置を変更して表示することにより抑制可能な、表示制御装置等を提供することにある。
【0007】
本発明の他の目的は、以下に例示する態様及び最良の実施形態、並びに添付の図面を参照することによって、当業者に明らかになるであろう。
【課題を解決するための手段】
【0008】
以下に、本発明の概要を容易に理解するために、本発明に従う態様を例示する。
【0009】
本発明に従う第1の態様は、仮想視点から見下ろしたような仮想3Dマップを表示する車両用表示装置を制御する表示制御装置であって、ナビゲーションにより取得した車両の車速と所定の速度閾値とを比較し、前記車両の車速が所定の速度閾値未満の場合に、前記仮想3Dマップを映す仮想カメラ座標を第1座標に配置し、前記ナビゲーションにより取得した前記車両の車速が所定の速度閾値以上の場合に、前記仮想3Dマップを映す前記仮想カメラ座標を前記第1座標より高所の座標値を取りうる第2座標に配置し、前記第1座標又は前記第2座標に基づき前記仮想3Dマップを前記車両用表示装置に表示する制御を行う制御部、を有する。
【0010】
第1の態様では、制御部が、ナビゲーションにより取得した車両の車速が所定の速度閾値未満の場合に仮想3Dマップを映す仮想カメラ座標を第1座標に配置し、所定の速度閾値以上の場合に、仮想カメラ座標を第1座標より高所の座標値を取りうる第2座標に配置し、第1座標又は第2座標に基づき仮想3Dマップを車両用表示装置に表示する制御を行う。このように、車両がルートガイドに沿って移動しているときの仮想3Dマップを映す仮想カメラ座標を車速にしたがい、例えば、俯瞰視点から見下ろした場合の座標位置である第1座標、又は、例えば、天頂視点から見下ろした場合の座標位置である第2座標に配置することで、例えば、車速が40km/h未満の低速域では、第1座標を用い車両用表示装置に建造物や道路等の地物を車両用表示装置に立体的に表示することで、リアリティが高く直感的に地理が把握しやすい表示を行うことが出来、一方、例えば、車速が40km/h以上の高速域では、仮想カメラ座標を第1座標より高所の座標値を取りうる第2座標を用い車両用表示装置に平面表示することにより、建物や道路の情報を損なうことなく立体表示により感じる煩わしさを抑制することができる。すなわち、高速域での立体表示により感じる煩わしさを、車速に応じて仮想3Dマップの視点位置を変更して表示することにより抑制可能な表示制御装置を提供することができる。
(【0011】以降は省略されています)
この特許をJ-PlatPat(特許庁公式サイト)で参照する
関連特許
日本精機株式会社
プロジェクタ
3日前
日本精機株式会社
発光表示装置
11日前
日本精機株式会社
車両用表示装置
3日前
日本精機株式会社
鞍乗型車両用表示装置
4日前
日本精機株式会社
照明装置及び表示装置
10日前
日本精機株式会社
鞍乗型車両用表示装置
1か月前
日本精機株式会社
車両表示装置用回路基板
3日前
日本精機株式会社
ヘッドアップディスプレイ
1か月前
日本精機株式会社
表示制御装置、表示装置、及び表示制御方法
3日前
日本精機株式会社
ヘッドアップディスプレイ装置、及び画像回転角度設定方法
3日前
日本精機株式会社
表示制御装置、ヘッドアップディスプレイ装置、表示制御方法、表示制御プログラム、及び車両用表示システム
11日前
個人
前輪キャスター
3か月前
個人
上部一体型自動車
2か月前
個人
タイヤ脱落防止構造
3か月前
個人
空間形成装置
1か月前
日本精機株式会社
照明装置
1か月前
個人
マスタシリンダ
2か月前
個人
常設収納型サンバイザー
1か月前
日本精機株式会社
画像投映装置
2か月前
株式会社ニフコ
収納装置
3か月前
日本精機株式会社
車室演出装置
3か月前
日本精機株式会社
車載表示装置
1か月前
日本精機株式会社
車載表示装置
2か月前
株式会社豊田自動織機
産業車両
1か月前
日本精機株式会社
車載表示装置
1か月前
日本精機株式会社
車載表示装置
1か月前
個人
回転窓ワイパー装置
1か月前
日本精機株式会社
車両用報知装置
1か月前
日本精機株式会社
車両用投射装置
2か月前
株式会社SUBARU
車両
2か月前
日本精機株式会社
車両用投影装置
2か月前
日本精機株式会社
車両用表示装置
2か月前
個人
聴覚と触覚を利用する速度計
3日前
井関農機株式会社
作業車両
2か月前
個人
音による速度計とプログラム
1か月前
日産自動車株式会社
伝動部材
2か月前
続きを見る
他の特許を見る