TOP
|
特許
|
意匠
|
商標
特許ウォッチ
Twitter
他の特許を見る
公開番号
2025166302
公報種別
公開特許公報(A)
公開日
2025-11-06
出願番号
2024070223
出願日
2024-04-24
発明の名称
スクリーン反射型表示装置
出願人
日本精機株式会社
代理人
個人
,
個人
,
個人
,
個人
,
個人
主分類
B60K
35/231 20240101AFI20251029BHJP(車両一般)
要約
【課題】スクリーンの高さ・形状を問わず、常に同じ形状の虚像を表示することができるスクリーン反射型表示装置を提供する。
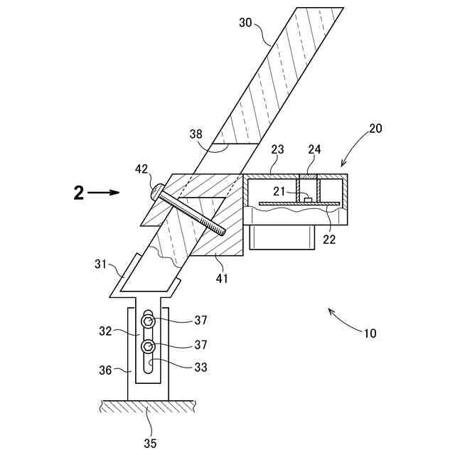
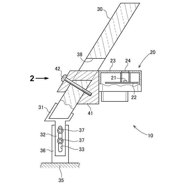
【解決手段】光源(21)を含む回路基板(22)が内蔵された筐体(23)を有する表示装置(20)と、この表示装置(20)が発する光線を反射させて虚像を表示するスクリーン(30)とからなり、スクリーン(30)は、車体外装部(35)に上下移動可能に支持され、表示装置(20)は、スクリーン(30)に連結されている、スクリーン反射型表示装置(10)。
【選択図】図1
特許請求の範囲
【請求項1】
光源を含む回路基板が内蔵された筐体を有する表示装置と、この表示装置が発する光線を反射させて虚像を表示するスクリーンとからなり、
前記スクリーンは、車体外装部に上下移動可能に支持され、
前記表示装置は、前記スクリーンに連結されている、スクリーン反射型表示装置。
続きを表示(約 300 文字)
【請求項2】
前記スクリーンに開口が設けられ、
前記表示装置は、前記開口の下縁部に嵌るフック形状体を介して前記スクリーンに固定されている、請求項1記載のスクリーン反射型表示装置。
【請求項3】
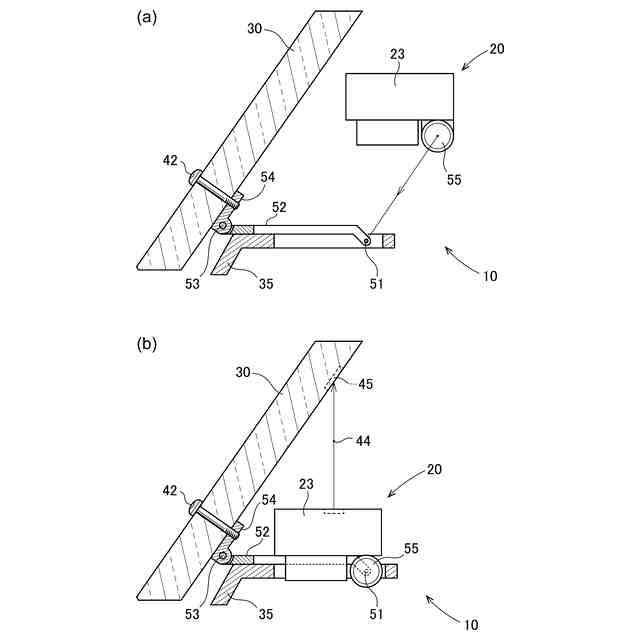
前記車体外装部に第1回転軸を介して第1ステー部が取付けられ、この第1ステー部の先端に第2回転軸を介して第2ステー部が取付けられ、この第2ステー部に前記スクリーンが取付けられることで、前記スクリーンは、前記車体外装部に上下移動可能に支持され、
前記表示装置は、前記第1回転軸を介して回転可能に前記車体外装部に取付けられている、請求項1記載のスクリーン反射型表示装置。
発明の詳細な説明
【技術分野】
【0001】
本発明は、表示装置とスクリーンを要部とするスクリーン反射型表示装置に関する。
続きを表示(約 1,200 文字)
【背景技術】
【0002】
従来のスクリーン反射型表示装置は、例えば特許文献1に開示されるものがある。
特許文献1に開示されるスクリーン反射型表示装置では、ステアリングハンドルに映像用スクリーンを兼ねた透明なウインドシールド(以下、スクリーンという。)が立てられ、プロジェクターが車体側に埋め込まれている。
【0003】
プロジェクターからの光線がスクリーンで反射し、虚像を表示させることで、運転者に種々の情報を伝える。
【0004】
ところで、二輪車にあっては、ハンドルにスクリーンが固定されているものが主流であるが、スクリーンの高さが調節可能なものもある。
特許文献1に開示されるスクリーン反射型表示装置を、スクリーンの高さが調節可能な二輪車に適用した場合、スクリーンの高さと形状に応じて虚像が崩れてしまい、正しい表示ができないといった問題点があった。
【0005】
虚像が崩れることは好ましくない。そこで、スクリーンの高さ・形状を問わず、常に同じ形状の虚像を表示することができるスクリーン反射型表示装置が求められる。
【先行技術文献】
【特許文献】
【0006】
特開2001-278153号公報
【発明の概要】
【発明が解決しようとする課題】
【0007】
本発明は、スクリーンの高さ・形状を問わず、常に同じ形状の虚像を表示することができるスクリーン反射型表示装置を提供することを課題とする。
【課題を解決するための手段】
【0008】
第1の態様におけるスクリーン反射型表示装置では、光源を含む回路基板が内蔵された筐体を有する表示装置と、この表示装置が発する光線を反射させて虚像を表示するスクリーンとからなり、
前記スクリーンは、車体外装部に上下移動可能に支持され、前記表示装置は、前記スクリーンに連結されている。
【0009】
第1の態様に従属し得る第2の態様におけるスクリーン反射型表示装置では、前記スクリーンに開口が設けられ、前記表示装置は、前記開口の下縁部に嵌るフック形状体を介して前記スクリーンに固定されている。
【0010】
第3の態様におけるスクリーン反射型表示装置では、前記車体外装部に第1回転軸を介して第1ステー部が取付けられ、この第1ステー部の先端に第2回転軸を介して第2ステー部が取付けられ、この第2ステー部に前記スクリーンが取付けられることで、前記スクリーンは、前記車体外装部に上下移動可能に支持され、
前記表示装置は、前記第1回転軸を介して回転可能に前記車体外装部に取付けられている。
すなわち、表示装置は、第1回転軸、第1ステー部、第2回転軸および第2ステー部を介して、スクリーンに機械的に連結されている。
【発明の効果】
(【0011】以降は省略されています)
この特許をJ-PlatPat(特許庁公式サイト)で参照する
関連特許
日本精機株式会社
表示装置
25日前
日本精機株式会社
検出装置
24日前
日本精機株式会社
照明装置
25日前
日本精機株式会社
発光表示装置
2日前
日本精機株式会社
車載表示装置
1か月前
日本精機株式会社
車載表示装置
1か月前
日本精機株式会社
車載表示装置
1か月前
日本精機株式会社
運転支援装置
23日前
日本精機株式会社
車両用報知装置
1か月前
日本精機株式会社
車両用表示装置
1か月前
日本精機株式会社
ミラーユニット
1か月前
日本精機株式会社
照明装置及び表示装置
1日前
日本精機株式会社
鞍乗型車両用表示装置
22日前
日本精機株式会社
スクリーン反射型表示装置
23日前
日本精機株式会社
ヘッドアップディスプレイ
25日前
日本精機株式会社
ヘッドアップディスプレイ
22日前
日本精機株式会社
表示装置及びその製造方法
25日前
日本精機株式会社
ヘッドアップディスプレイ装置
23日前
日本精機株式会社
ヘッドアップディスプレイ装置
22日前
日本精機株式会社
表示制御装置、表示装置、及び表示制御方法
22日前
日本精機株式会社
ヘッドアップディスプレイ装置及び表示制御装置
22日前
日本精機株式会社
嚥下異常検出システム、嚥下異常検出装置および嚥下異常検出用プログラム
22日前
日本精機株式会社
ヘッドアップディスプレイ装置
1か月前
日本精機株式会社
音圧制御装置、及びサウンダーの音圧制御システム、並びにサウンダーの音圧制御方法
1か月前
日本精機株式会社
ヘッドアップディスプレイ装置、ヘッドアップディスプレイ装置の制御方法、および表示制御プログラム
1か月前
日本精機株式会社
表示制御装置、ヘッドアップディスプレイ装置、表示制御方法、表示制御プログラム、及び車両用表示システム
2日前
日本精機株式会社
表示制御装置、ヘッドアップディスプレイ装置、表示装置の制御方法、プログラム、および車両用表示システム
1か月前
日本精機株式会社
表示制御装置、ヘッドアップディスプレイ装置、表示制御方法、表示制御プログラム、および車両用表示システム
23日前
日本精機株式会社
車両用表示制御装置、ヘッドアップディスプレイ装置、表示制御方法、表示制御プログラム、および車両用表示システム
23日前
個人
タイヤレバー
4か月前
個人
前輪キャスター
3か月前
個人
上部一体型自動車
1か月前
個人
ルーフ付きトライク
3か月前
個人
ホイルのボルト締結
5か月前
個人
タイヤ脱落防止構造
3か月前
個人
空間形成装置
1か月前
続きを見る
他の特許を見る