TOP
|
特許
|
意匠
|
商標
特許ウォッチ
Twitter
他の特許を見る
10個以上の画像は省略されています。
公開番号
2025163375
公報種別
公開特許公報(A)
公開日
2025-10-29
出願番号
2024066546
出願日
2024-04-17
発明の名称
ミラーユニット
出願人
日本精機株式会社
代理人
主分類
G02B
7/182 20210101AFI20251022BHJP(光学)
要約
【課題】異なる種類のミラーを保持する弾性部材を共通化することができるミラーユニットを提供する。
【解決手段】表示器からの表示光をウインドシールドに導くように反射するミラーユニットは、表示光を反射する第1ミラー11と、第1ミラー11からの表示光を反射する第2ミラー12と、第1ミラー11を回動不能に保持する受け部34L,34Rと、第2ミラー12を回動軸Axを中心に回動可能に保持する受け部70Rと、第1ミラー11を受け部34L,34Rへ押圧する板ばね40L,40Rと、第2ミラー12を受け部70Rへ押圧する板ばね50と、を備える。板ばね40L,40R及び板ばね50は、共通の形状により形成されている。
【選択図】図2
特許請求の範囲
【請求項1】
表示器からの表示光を被投射部材に導くように反射するミラーユニットであって、
前記表示光を反射する第1ミラーと、
前記第1ミラーからの前記表示光を反射する第2ミラーと、
前記第1ミラーを回動不能に保持する第1ミラー保持部と、
前記第2ミラーを回動軸を中心に回動可能に保持する第2ミラー保持部と、
前記第1ミラーを前記第1ミラー保持部へ押圧する第1弾性部材と、
前記第2ミラーを前記第2ミラー保持部へ押圧する第2弾性部材と、を備え、
前記第1弾性部材及び前記第2弾性部材は、共通の形状により形成されている、
ミラーユニット。
続きを表示(約 740 文字)
【請求項2】
前記第1弾性部材及び前記第2弾性部材は、共通の形状で形成される接触部を備え、
前記第1弾性部材の前記接触部は、前記第1ミラー保持部に対して接触状態と非接触状態の何れか一方の状態となり、
前記第2弾性部材の前記接触部は、前記第2ミラー保持部に対して接触状態と非接触状態の何れか他方の状態となる、
請求項1に記載のミラーユニット。
【請求項3】
前記接触部は、前記第1ミラー保持部又は前記第2ミラー保持部の一部に前記接触状態として仮固定が可能な仮固定部である、
請求項2に記載のミラーユニット。
【請求項4】
前記第1弾性部材及び前記第2弾性部材は、
平板状に形成される本体部と、
前記本体部の長手方向の一方の端部に位置し、それぞれ対応する前記第1ミラー保持部又は前記第2ミラー保持部に対して抜け止め状態とされる抜け止め端部と、を備え、
前記本体部には、前記本体部の長手方向の他方の端部に形成され、ビスが通過可能な孔が形成され、
前記ビスは、前記第1弾性部材及び前記第2弾性部材をそれぞれ対応する前記第1ミラー保持部及び前記第2ミラー保持部に前記仮固定よりも強固に固定する、
請求項3に記載のミラーユニット。
【請求項5】
前記仮固定部は、前記孔よりも前記他方の端部側に位置する、
請求項4に記載のミラーユニット。
【請求項6】
前記第1ミラー保持部及び前記第2ミラー保持部は、筐体と中ケースと軸受ステーのうち1つ又は複数の部材から構成されている、
請求項1から5の何れか1項に記載のミラーユニット。
発明の詳細な説明
【技術分野】
【0001】
本開示は、ミラーユニットに関する。
続きを表示(約 1,900 文字)
【背景技術】
【0002】
特許文献1に記載のヘッドアップディスプレイ装置では、凹面鏡の被支持部が回転可能に支持体に回転可能に支持された状態で板バネにより被支持部が支持体に押し付けられる。
特許文献2に記載のヘッドアップディスプレイ装置では、表示器からの表示光を回転ミラーに向けて反射する固定ミラーが設けられ、この固定ミラーの軸部及び位置決め部が板バネによりミラー支持部に向けて押し付けられる。
【先行技術文献】
【特許文献】
【0003】
特許第6836718号公報
国際公開第2021/157633号
【発明の概要】
【発明が解決しようとする課題】
【0004】
上記特許文献1に記載の板バネと上記特許文献2に記載の板バネでは形状が異なるため、回転ミラーと固定ミラーそれぞれを板バネで保持する場合には、形状の異なる板バネを用意する必要があった。
【0005】
本開示は、上記実状を鑑みてなされたものであり、異なる種類のミラーを保持する弾性部材を共通化することができるミラーユニットを提供することを目的とする。
【課題を解決するための手段】
【0006】
上記目的を達成するため、本開示に係るミラーユニットは、
表示器からの表示光を被投射部材に導くように反射するミラーユニットであって、
前記表示光を反射する第1ミラーと、
前記第1ミラーからの前記表示光を反射する第2ミラーと、
前記第1ミラーを回動不能に保持する第1ミラー保持部と、
前記第2ミラーを回動軸を中心に回動可能に保持する第2ミラー保持部と、
前記第1ミラーを前記第1ミラー保持部へ押圧する第1弾性部材と、
前記第2ミラーを前記第2ミラー保持部へ押圧する第2弾性部材と、を備え、
前記第1弾性部材及び前記第2弾性部材は、共通の形状により形成されている。
【発明の効果】
【0007】
本開示によれば、異なる種類のミラーを保持する弾性部材を共通化することができる。
【図面の簡単な説明】
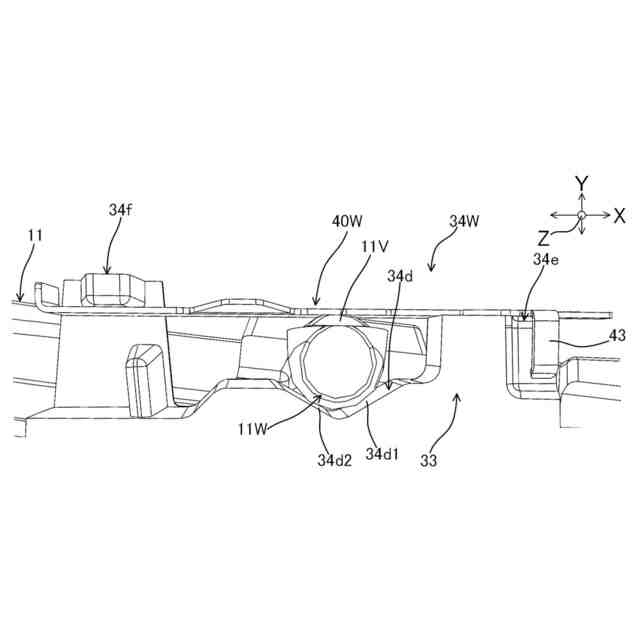
【0008】
本開示の一実施形態に係るヘッドアップディスプレイ装置の模式的な断面図である。
本開示の一実施形態に係る上ケース部を取り外した状態のヘッドアップディスプレイ装置の斜視図である。
本開示の一実施形態に係る上ケース部を取り外した状態のヘッドアップディスプレイ装置の一部の斜視図である。
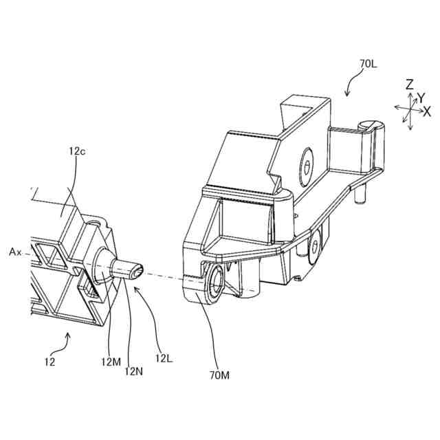
本開示の一実施形態に係る第2ミラーと受け部の分解斜視図である。
本開示の一実施形態に係る上ケース部を取り外した状態のヘッドアップディスプレイ装置の一部の斜視図である。
本開示の一実施形態に係る上ケース部を取り外した状態のヘッドアップディスプレイ装置の正面図である。
本開示の一実施形態に係る第1ミラー、板バネ及び中ケース部の斜視図である。
本開示の一実施形態に係る第1ミラー、板バネ及び中ケース部の底面図である。
本開示の一実施形態に係る第1ミラー、板バネ及び中ケース部の側面図である。
本開示の一実施形態に係る第1ミラー、板バネ及び中ケース部の斜視図である。
本開示の一実施形態に係る板バネの斜視図である。
本開示の一実施形態に係る第2ミラー、板バネ及び受け部の斜視図である。
本開示の一実施形態に係る板バネ及び受け部の正面図である。
図12のXIII-XIII線の断面図である。
【発明を実施するための形態】
【0009】
本開示の一実施形態に係るミラーユニットを有するヘッドアップディスプレイ装置について図面を参照して説明する。
図1に示すように、ヘッドアップディスプレイ装置10は、車両に搭載され、表示光Lを被投射部材の一例であるウインドシールド19に投射することにより車両情報を含む虚像としての投影像を表示する。なお、以下の説明では、車両の高さ方向をZ方向と規定し、車両の幅方向をX方向と規定し、車両の前後方向をY方向と規定する。
【0010】
ヘッドアップディスプレイ装置10は、図1に示すように、固定ミラーの一例である第1ミラー11と、回転ミラーの一例である第2ミラー12と、ケース30と、光源13と、表示器14と、制御基板15と、ミラー回転駆動部18と、図2及び図6に示すように、各ミラー11,12を保持する板ばね40L,40R,40W,50と、を備える。
(【0011】以降は省略されています)
この特許をJ-PlatPat(特許庁公式サイト)で参照する
関連特許
日本精機株式会社
照明装置
25日前
日本精機株式会社
検出装置
24日前
日本精機株式会社
表示装置
25日前
日本精機株式会社
車載表示装置
1か月前
日本精機株式会社
車載表示装置
1か月前
日本精機株式会社
車載表示装置
1か月前
日本精機株式会社
運転支援装置
23日前
日本精機株式会社
発光表示装置
2日前
日本精機株式会社
車両用報知装置
1か月前
日本精機株式会社
車両用表示装置
1か月前
日本精機株式会社
ミラーユニット
1か月前
日本精機株式会社
スペックル低減装置
1か月前
日本精機株式会社
照明装置及び表示装置
1日前
日本精機株式会社
鞍乗型車両用表示装置
22日前
日本精機株式会社
ヘッドアップディスプレイ
22日前
日本精機株式会社
表示装置及びその製造方法
25日前
日本精機株式会社
ヘッドアップディスプレイ
25日前
日本精機株式会社
スクリーン反射型表示装置
23日前
日本精機株式会社
ヘッドアップディスプレイ装置
23日前
日本精機株式会社
ヘッドアップディスプレイ装置
22日前
日本精機株式会社
ヘッドアップディスプレイ装置
1か月前
日本精機株式会社
表示制御装置、表示装置、及び表示制御方法
22日前
日本精機株式会社
ヘッドアップディスプレイ装置及び表示制御装置
22日前
日本精機株式会社
嚥下異常検出システム、嚥下異常検出装置および嚥下異常検出用プログラム
22日前
日本精機株式会社
ヘッドアップディスプレイ装置
1か月前
日本精機株式会社
音圧制御装置、及びサウンダーの音圧制御システム、並びにサウンダーの音圧制御方法
1か月前
日本精機株式会社
ヘッドアップディスプレイ装置、ヘッドアップディスプレイ装置の制御方法、および表示制御プログラム
1か月前
日本精機株式会社
表示制御装置、ヘッドアップディスプレイ装置、表示装置の制御方法、プログラム、および車両用表示システム
1か月前
日本精機株式会社
表示制御装置、ヘッドアップディスプレイ装置、表示制御方法、表示制御プログラム、及び車両用表示システム
2日前
日本精機株式会社
表示制御装置、ヘッドアップディスプレイ装置、表示制御方法、表示制御プログラム、および車両用表示システム
23日前
日本精機株式会社
車両用表示制御装置、ヘッドアップディスプレイ装置、表示制御方法、表示制御プログラム、および車両用表示システム
23日前
個人
立体像表示装置
1か月前
住友化学株式会社
偏光板
1か月前
カンタツ株式会社
光学系
1か月前
株式会社シグマ
結像光学系
22日前
株式会社シグマ
結像光学系
1か月前
続きを見る
他の特許を見る