TOP
|
特許
|
意匠
|
商標
特許ウォッチ
Twitter
他の特許を見る
公開番号
2025167791
公報種別
公開特許公報(A)
公開日
2025-11-07
出願番号
2024072706
出願日
2024-04-26
発明の名称
ヘッドアップディスプレイ
出願人
日本精機株式会社
代理人
主分類
G02B
27/01 20060101AFI20251030BHJP(光学)
要約
【課題】多様な演出が可能なヘッドアップディスプレイを提供する。
【解決手段】本実施形態におけるヘッドアップディスプレイ1は、第一表示光を投影して第一像を表示し、第二表示光を投影して第二像を第一像とは異なる位置に表示するヘッドアップディスプレイ1であって、第一像の表示時、第一像に対応する第一像用音声S1を第一方向に出力する第一スピーカ41aと、第二像の表示時、第二像に対応する第二像用音声S2を第一方向とは異なる第二方向に出力する第二スピーカ41bと、を備える。
【選択図】 図3
特許請求の範囲
【請求項1】
第一表示光を投影して第一像を表示し、第二表示光を投影して第二像を前記第一像とは異なる位置に表示するヘッドアップディスプレイであって、
前記第一像の表示時、前記第一像に対応する第一像用音声を第一方向に出力する第一スピーカと、
前記第二像の表示時、前記第二像に対応する第二像用音声を前記第一方向とは異なる第二方向に出力する第二スピーカと、を備える、ヘッドアップディスプレイ。
続きを表示(約 1,000 文字)
【請求項2】
前記第一像は虚像であり、前記第二像は実像である、請求項1記載のヘッドアップディスプレイ。
【請求項3】
前記第一表示光及び前記第二表示光は、内側面及び外側面を有するウインドシールドに投影され、
前記虚像は前記外側面側で視認され、
前記実像は前記内側面側で視認され、
前記第一方向は、前記第一像用音声が前記ウインドシールドで反射し前記虚像の視認者に向う方向であり、
前記第二方向は、前記第二像用音声が前記視認者に直接又は前記ウインドシールドで反射し前記実像の前記視認者に向う方向である、請求項2記載のヘッドアップディスプレイ。
【請求項4】
前記第二スピーカは、前記実像の表示位置の下方に配置される、請求項3記載のヘッドアップディスプレイ。
【請求項5】
前記第一スピーカは、右耳に向う右耳用音声を出力する右耳用スピーカと、左耳に向う左耳用音声を出力する左耳用スピーカーと、を有し、
前記第一方向は、前記ウインドシールドで反射した前記右耳用音声及び前記左耳用音声の前記ウインドシールドの前記外側面側へ向う方向の延長線が前記虚像の表示位置で交差する方向である、請求項3記載のヘッドアップディスプレイ。
【請求項6】
前記第二スピーカは、右耳に向う右耳用音声を出力する右耳用スピーカと、左耳に向う左耳用音声を出力する左耳用スピーカーと、を有し、
前記第二方向は、前記ウインドシールドで反射した前記右耳用音声及び前記左耳用音声が交差して前記視認者に向う方向である、請求項3記載のヘッドアップディスプレイ。
【請求項7】
前記右耳用音声及び前記左耳用音声は、前記実像の表示位置に関して略前後左右方向において重なり合う位置で交差する、請求項5記載のヘッドアップディスプレイ。
【請求項8】
前記第一スピーカ及び前記第二スピーカは、パラメトリックスピーカーである、請求項1記載のヘッドアップディスプレイ。
【請求項9】
前記第一スピーカは前記第二スピーカを兼ねており、回転機構を有し、音声の射出方向が可変である、請求項1記載のヘッドアップディスプレイ。
【請求項10】
前記第一スピーカは前記第二スピーカを兼ねるパラメトリックスピーカーであって、電気的に音声の射出方向が可変である、請求項1記載のヘッドアップディスプレイ。
発明の詳細な説明
【技術分野】
【0001】
本開示は、ヘッドアップディスプレイに関する。
続きを表示(約 1,300 文字)
【背景技術】
【0002】
従来、車両のウインドシールド等の反射部材で表示光を反射させ、像を車両内外の複数箇所で視認させるヘッドアップディスプレイが知られている。また、像に応じて、スピーカから音声も出力される。
【先行技術文献】
【特許文献】
【0003】
特開2021-085990号公報
【発明の概要】
【発明が解決しようとする課題】
【0004】
ヘッドアップディスプレイは、例えば共通の光源から出射された光を光学部材の配置を異ならせて焦点距離を切り替えることで、車両の内側と外側との間で像の表示位置を切り替えることができる。これにより、ヘッドアップディスプレイは、画像の内容に応じて視覚的な演出が可能である。例えば、自動運転中は、運転者をサポートするために種々の情報を提供するアシスタントとしてのキャラクターを表示する。また、手動運転中は、運転に必要な情報や注意喚起等を表示する。このような場合、表示の内容や種類、位置は異なるものの、音声の出力源や出力方向が一定であると、臨場感に欠けるという課題があった。
【0005】
本開示はこのような事情を考慮してなされたもので、多様な演出が可能なヘッドアップディスプレイを提供することを目的とする。
【課題を解決するための手段】
【0006】
本開示のヘッドアップディスプレイは、上述した課題を解決するために、第一表示光を投影して第一像を表示し、第二表示光を投影して第二像を第一像とは異なる位置に表示するヘッドアップディスプレイであって、第一像の表示時、第一像に対応する第一像用音声を第一方向に出力する第一スピーカと、第二像の表示時、第二像に対応する第二像用音声を第一方向とは異なる第二方向に出力する第二スピーカと、を備える。
【発明の効果】
【0007】
本開示のヘッドアップディスプレイにおいては、多様な演出が可能である。
【図面の簡単な説明】
【0008】
本開示のHUDの一実施形態のシステム構成例を示す図。
本開示のHUDの一実施形態のシステム構成例を示す図。
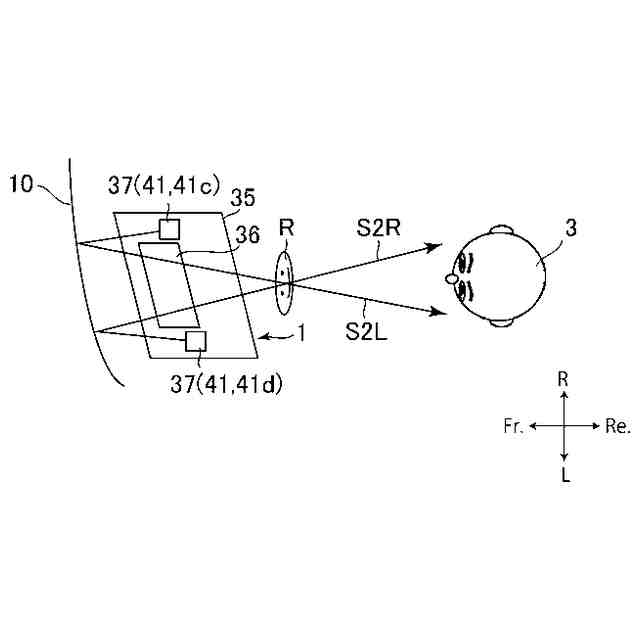
スピーカの配置を説明するためのHUDの俯瞰図。
右スピーカの配置を特に示すHUDの説明図。
左スピーカの配置を特に示すHUDの説明図。
虚像用音声を出力する変形例としてのHUDの俯瞰図。
実像用音声を出力する変形例としてのHUDの俯瞰図。
【発明を実施するための形態】
【0009】
本開示のヘッドアップディスプレイ(以下、「HUD(Head-Up Display)」という。)の実施形態を添付図面に基づいて説明する。本開示のHUDは、例えば自動車、農業機械、建設機械等の車両等に搭載されるHUDに適用することができる。
【0010】
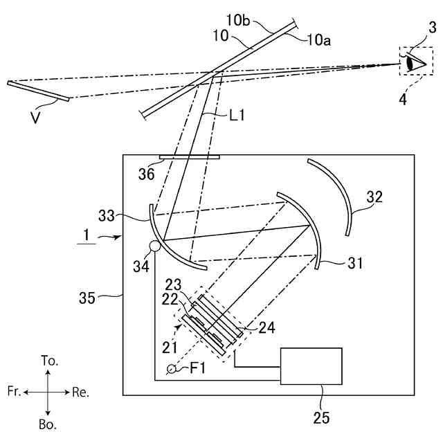
図1は、本開示のHUDの一実施形態のシステム構成例を示す図であり、虚像Vを表示する際の説明図である。
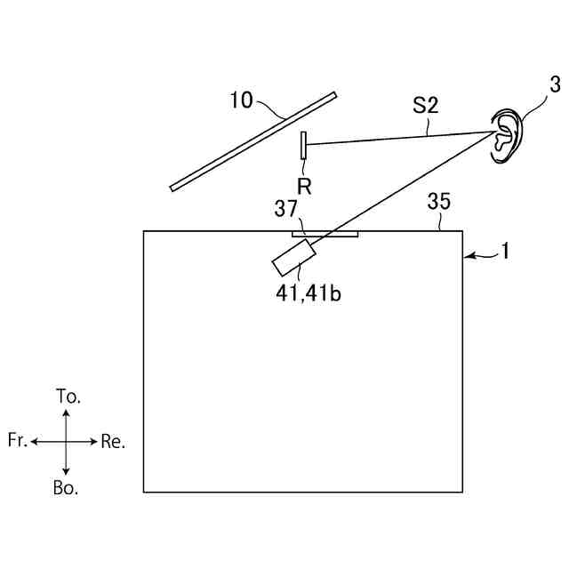
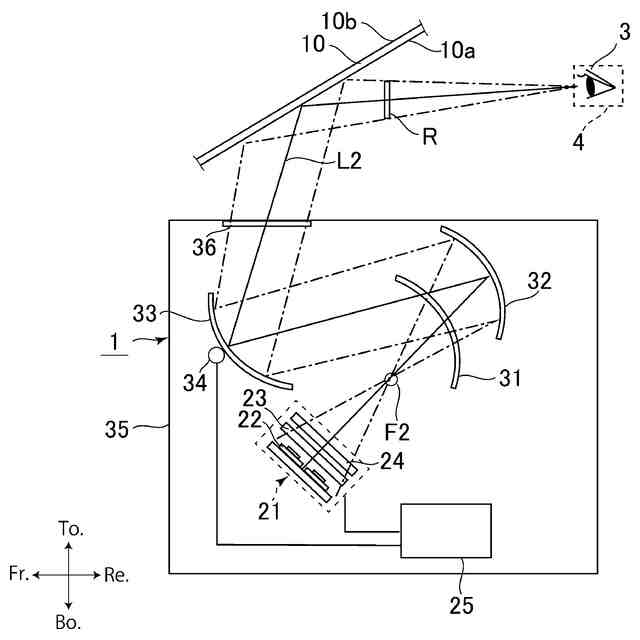
図2は、本開示のHUDの一実施形態のシステム構成例を示す図であり、実像Rを表示する際の説明図である。
(【0011】以降は省略されています)
この特許をJ-PlatPat(特許庁公式サイト)で参照する
関連特許
日本精機株式会社
表示装置
24日前
日本精機株式会社
照明装置
24日前
日本精機株式会社
検出装置
23日前
日本精機株式会社
車載表示装置
1か月前
日本精機株式会社
画像投映装置
1か月前
日本精機株式会社
車載表示装置
1か月前
日本精機株式会社
車載表示装置
1か月前
日本精機株式会社
発光表示装置
1日前
日本精機株式会社
運転支援装置
22日前
日本精機株式会社
ミラーユニット
1か月前
日本精機株式会社
車両用投射装置
1か月前
日本精機株式会社
車両用表示装置
1か月前
日本精機株式会社
車両用投射装置
1か月前
日本精機株式会社
サージ保護回路
1か月前
日本精機株式会社
車両用表示装置
1か月前
日本精機株式会社
車両用報知装置
1か月前
日本精機株式会社
スペックル低減装置
1か月前
日本精機株式会社
照明装置及び表示装置
今日
日本精機株式会社
鞍乗型車両用表示装置
21日前
日本精機株式会社
表示装置及びその製造方法
24日前
日本精機株式会社
ヘッドアップディスプレイ
21日前
日本精機株式会社
ヘッドアップディスプレイ
24日前
日本精機株式会社
スクリーン反射型表示装置
22日前
日本精機株式会社
ヘッドアップディスプレイ装置
22日前
日本精機株式会社
ヘッドアップディスプレイ装置
21日前
日本精機株式会社
ヘッドアップディスプレイ装置
1か月前
日本精機株式会社
表示制御装置、表示装置、及び表示制御方法
21日前
日本精機株式会社
ヘッドアップディスプレイ装置及び表示制御装置
21日前
日本精機株式会社
嚥下異常検出システム、嚥下異常検出装置および嚥下異常検出用プログラム
21日前
日本精機株式会社
ヘッドアップディスプレイ装置
1か月前
日本精機株式会社
音圧制御装置、及びサウンダーの音圧制御システム、並びにサウンダーの音圧制御方法
1か月前
日本精機株式会社
ヘッドアップディスプレイ装置、ヘッドアップディスプレイ装置の制御方法、および表示制御プログラム
1か月前
日本精機株式会社
表示制御装置、ヘッドアップディスプレイ装置、表示装置の制御方法、プログラム、および車両用表示システム
1か月前
日本精機株式会社
表示制御装置、ヘッドアップディスプレイ装置、表示制御方法、表示制御プログラム、及び車両用表示システム
1日前
日本精機株式会社
表示制御装置、ヘッドアップディスプレイ装置、表示制御方法、表示制御プログラム、および車両用表示システム
22日前
日本精機株式会社
車両用表示制御装置、ヘッドアップディスプレイ装置、表示制御方法、表示制御プログラム、および車両用表示システム
22日前
続きを見る
他の特許を見る