TOP
|
特許
|
意匠
|
商標
特許ウォッチ
Twitter
他の特許を見る
10個以上の画像は省略されています。
公開番号
2025159363
公報種別
公開特許公報(A)
公開日
2025-10-21
出願番号
2024061825
出願日
2024-04-08
発明の名称
ヘッドアップディスプレイ装置、ヘッドアップディスプレイ装置の制御方法、および表示制御プログラム
出願人
日本精機株式会社
代理人
個人
,
個人
,
個人
,
個人
,
個人
主分類
G09G
5/00 20060101AFI20251014BHJP(教育;暗号方法;表示;広告;シール)
要約
【課題】視認者の身長に依存して決まる俯角が小さい場合であっても、車両の前方視界と虚像が重なることによって視認者が感じる煩わしさを軽減する。
【解決手段】車両の前方に仮想的に設定される結像面に、車両の前方視界の風景と、生成される虚像を重畳して結像して視認者に視認させるヘッドアップディスプレイ装置(HUD装置100)であって、虚像を表示する画像表示部30と、視認者の目の高さ方向の視点位置から路面に平行な仮想線と、視点位置と虚像の中心とを結ぶ直線とがなす角度である俯角が標準値より小さい場合、虚像の表示輝度を低くして画像表示部30に表示する制御を行う制御部10と、を有する。
【選択図】図2
特許請求の範囲
【請求項1】
車両の前方に仮想的に設定される結像面に、車両の前方視界の風景である前景と生成される虚像とを重畳して結像し、被投影部材に投影して視認者に視認させるヘッドアップディスプレイ装置であって、
前記虚像を表示する画像表示部と、
前記視認者の目の高さ方向の視点位置から路面に平行な仮想線と、前記視点位置と前記虚像の中心とを結ぶ直線とがなす角度である俯角が標準値より小さい場合、前記虚像の表示輝度を低くして前記画像表示部に表示する制御を行う制御部と、
を有するヘッドアップディスプレイ装置。
続きを表示(約 1,600 文字)
【請求項2】
前記制御部は、
前記表示輝度が設定される調光テーブルを有し、前記俯角が小さくなればなるほど前記調光テーブルに設定される前記表示輝度の設定値を徐々に低下させる制御を行う、請求項1記載のヘッドアップディスプレイ装置。
【請求項3】
前記制御部は、
前記表示輝度が設定される調光テーブルを有し、前記俯角が前記標準値と同じかあるいは大きい場合であれば、前記俯角に依らず、前記表示輝度の設定値を一定にする制御を行う、請求項1記載のヘッドアップディスプレイ装置。
【請求項4】
前記制御部は、
前記俯角が前記標準値に比べ所定の差分だけ小さい場合に前記表示輝度を段階的に低下させる制御を行い、
第1の領域で前記俯角が第1の差分だけ小さいと前記表示輝度を段階的に低下させる制御を行い、更に、前記第1の領域より低い第2の領域で前記俯角が前記第1の差分より小さい第2の差分だけ小さいと前記表示輝度を段階的に低下させる制御を行う、請求項1記載のヘッドアップディスプレイ装置。
【請求項5】
前記制御部は、
前記調光テーブルへの前記表示輝度の設定値が決定された後、前記視認者による俯角調整により前記俯角が変化しても前記調光テーブルの変更を行わない制御を行う、請求項2記載のヘッドアップディスプレイ装置。
【請求項6】
前記制御部は、
前記調光テーブルへの前記表示輝度の設定値が決定された後、前記視認者による俯角調整により前記俯角が変化した場合、変化した前記俯角に応じて前記調光テーブルへの前記表示輝度の設定値を変更する制御を行う、請求項2記載のヘッドアップディスプレイ装置。
【請求項7】
操作部材と、
前記虚像を前記結像面に投射する光学部材を含む結像光学系を有し、
前記制御部は、
前記操作部材を操作して前記光学部材を回転駆動することによって前記視認者による俯角調整を行う、請求項5又は請求項6記載のヘッドアップディスプレイ装置。
【請求項8】
前記制御部は、
前記視認者の目の高さ方向の視点位置について、前記視認者を撮影することにより取得される目の画像に基づき画像認識を行ない、あるいは前記視認者が着座するシートの設定位置を検出することにより、前記俯角を推定する、請求項1記載のヘッドアップディスプレイ装置。
【請求項9】
車両の前方に仮想的に設定される結像面に、車両の前方視界の風景である前景と生成される虚像とを重畳して結像し、被投影部材に投影して視認者に視認させる、制御部と画像表示部とを有するヘッドアップディスプレイ装置の制御方法であって、
前記制御部は、
前記視認者の高さ方向の目の視点位置から路面に平行な仮想線と、前記視点位置と前記虚像の中心とを結ぶ直線とがなす角度である俯角を標準値と比較する第1のステップと、
前記俯角が前記標準値より小さい場合、前記虚像の表示輝度を低くして前記画像表示部に表示する制御を行う第2のステップと、
を有するヘッドアップディスプレイ装置の制御方法。
【請求項10】
車両の前方に仮想的に設定される結像面に、車両の前方視界の風景である前景と生成される虚像とを重畳して結像し、被投影部材に投影して視認者に視認させる、制御部と画像表示部とを有するヘッドアップディスプレイ装置の表示制御プログラムであって、
前記制御部が有するプロセッサに、
前記視認者の目の高さ方向の視点位置から路面に平行な仮想線と、前記視点位置と前記虚像の中心とを結ぶ直線とがなす角度である俯角を標準値と比較する第1の処理と、
前記俯角が前記標準値より小さい場合、前記虚像の表示輝度を低くして前記画像表示部に表示する制御を行う第2の処理と、
を実行させるアップディスプレイ装置の表示制御プログラム。
発明の詳細な説明
【技術分野】
【0001】
本発明は、車両の前方に仮想的に設定される結像面に車両の前方視界の風景である前景と生成される虚像とを重畳して結像し、被投影部材に投影して視認者に視認させる、ヘッドアップディスプレイ装置等に関する。
続きを表示(約 1,800 文字)
【背景技術】
【0002】
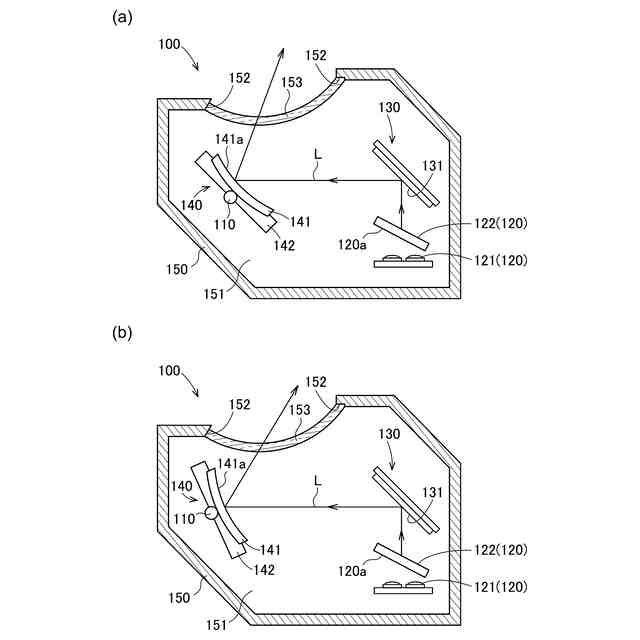
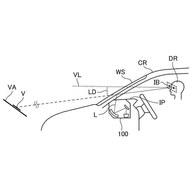
車両に設けられる被投影部材に画像を投影する結像光学系を有し、車両の前方に仮想的に設定される結像面に車両の前方視界の風景(前景)と生成される虚像を重畳して結像し、被投影部材に照射することによって視認者に視認させるヘッドアップディスプレイ装置が知られている。ヘッドアップディスプレイ装置は、視認者であるドライバに虚像を認識させるために視認者の身長に応じてアイボックスの位置を認識して設定する必要がある。これによって、視認者の目の高さ方向の視点位置(アイボックス)から路面に平行な仮想線と、視認者の視点位置と虚像の中心とを結ぶ直線とがなす角度である俯角が変化する。
【0003】
例えば、特許文献1に、ピッチング補正あるいはローリング補正の少なくとも一方を含む画像補正を行う制御部が、視認者であるドライバの目の高さ方向の視点位置が標準位置よりも高いと判定された場合に、画像補正の補正量を標準位置よりにおける補正量より大きくし、低いと判定された場合に、標準位置における補正量よりも小さくする制御を行うことにより、車両のピッチングやローリングに伴う画像の表示位置の変動を抑制する表示制御装置の技術が記載されている。
【先行技術文献】
【特許文献】
【0004】
特開2012-128906号公報(段落[0011]~[0015]、図3参照)
【発明の概要】
【発明が解決しようとする課題】
【0005】
ところで、上述したヘッドアップディスプレイ装置において、視認者の身長に依存して決まる俯角が小さい場合、すなわち身長が低い視認者の場合、必然的に虚像の表示位置が高くなることから、視認者であるドライバが運転のために前方に視線を向けるとその視線に虚像が入りやすくなる。ヘッドアップディスプレイ装置は、少ない視線の移動で情報(ヘッドアップディスプレイ装置が表示する画像)を視認できるという利点が想定されるが、ドライバが運転のために視線を向ける方向と同じ方向(とても近い方向)に虚像が表示された場合、ドライバの視覚的注意が車両の前方にある前景ではなく虚像に過渡に向けられてしまう。このため、ドライバは、虚像が視線に入ることにより運転のために前方視界を確認しようとした場合に虚像が邪魔になり虚像を煩わしく感じることが想定される。このような課題については特許文献1に何ら記載はなく、またその対策についても言及がない。
【0006】
本発明の目的は、視認者であるドライバの身長に依存して決まる俯角が小さい場合であっても、車両の前方視界と虚像が重なることによってドライバが感じる煩わしさを低減することができるヘッドアップディスプレイ装置等を提供することにある。
【0007】
本発明の他の目的は、以下に例示する態様及び最良の実施形態、並びに添付の図面を参照することによって、当業者に明らかになるであろう。
【課題を解決するための手段】
【0008】
以下に、本発明の概要を容易に理解するために、本発明に従う態様を例示する。
【0009】
本発明に従う第1の態様は、車両の前方に仮想的に設定される結像面に、車両の前方視界の風景である前景と生成される虚像とを重畳して結像し、被投影部材に投影して視認者に視認させるヘッドアップディスプレイ装置であって、前記虚像を表示する画像表示部と、前記視認者の目の高さ方向の視点位置から路面に平行な仮想線と、前記視点位置と前記虚像の中心とを結ぶ直線とがなす角度である俯角が標準値より小さい場合、前記虚像の表示輝度を低くして前記画像表示部に表示する制御を行う制御部と、を有する。
【0010】
第1の態様では、制御部は、例えば、図1に示すように、視認者の目の高さ方向の視点位置から路面に平行な仮想線VLと、視認者の視点位置と虚像Vの中心とを結ぶ直線(図1において破線表記)とがなす角度である俯角LDが標準値より小さい場合に、言い換えると、視認者の身長が低い場合に、虚像Vの表示輝度を低くする制御を行うことで、視認者であるドライバが前方視界を確認しようとした場合に、前方視界に重なって表示される虚像が目立たなくなり、したがって虚像が邪魔になって視認者が感じる煩わしさを低減することができる。
(【0011】以降は省略されています)
この特許をJ-PlatPat(特許庁公式サイト)で参照する
関連特許
日本精機株式会社
表示装置
12日前
日本精機株式会社
検出装置
11日前
日本精機株式会社
照明装置
12日前
日本精機株式会社
位置検出装置
1か月前
日本精機株式会社
位置検出装置
1か月前
日本精機株式会社
位置検出装置
1か月前
日本精機株式会社
運転支援装置
10日前
日本精機株式会社
画像投映装置
1か月前
日本精機株式会社
車載表示装置
18日前
日本精機株式会社
車載表示装置
20日前
日本精機株式会社
車載表示装置
25日前
日本精機株式会社
車両用表示装置
18日前
日本精機株式会社
ミラーユニット
18日前
日本精機株式会社
サージ保護回路
1か月前
日本精機株式会社
車両用表示装置
1か月前
日本精機株式会社
車両用投射装置
1か月前
日本精機株式会社
車両用投射装置
1か月前
日本精機株式会社
車両用報知装置
24日前
日本精機株式会社
スペックル低減装置
1か月前
日本精機株式会社
鞍乗型車両用表示装置
9日前
日本精機株式会社
車両用投射型表示装置
1か月前
日本精機株式会社
表示装置及びその製造方法
12日前
日本精機株式会社
スクリーン反射型表示装置
10日前
日本精機株式会社
ヘッドアップディスプレイ
12日前
日本精機株式会社
ヘッドアップディスプレイ
9日前
日本精機株式会社
ヘッドアップディスプレイ装置
1か月前
日本精機株式会社
ヘッドアップディスプレイ装置
9日前
日本精機株式会社
ヘッドアップディスプレイ装置
10日前
日本精機株式会社
表示制御装置、表示装置、及び表示制御方法
9日前
日本精機株式会社
ヘッドアップディスプレイ装置及び表示制御装置
9日前
日本精機株式会社
嚥下異常検出システム、嚥下異常検出装置および嚥下異常検出用プログラム
9日前
日本精機株式会社
ヘッドアップディスプレイ装置
1か月前
日本精機株式会社
音圧制御装置、及びサウンダーの音圧制御システム、並びにサウンダーの音圧制御方法
26日前
日本精機株式会社
ヘッドアップディスプレイ装置、ヘッドアップディスプレイ装置の制御方法、および表示制御プログラム
26日前
日本精機株式会社
表示制御装置、ヘッドアップディスプレイ装置、表示装置の制御方法、プログラム、および車両用表示システム
26日前
日本精機株式会社
表示制御装置、ヘッドアップディスプレイ装置、表示制御方法、表示制御プログラム、および車両用表示システム
10日前
続きを見る
他の特許を見る