TOP
|
特許
|
意匠
|
商標
特許ウォッチ
Twitter
他の特許を見る
公開番号
2025142660
公報種別
公開特許公報(A)
公開日
2025-10-01
出願番号
2024042145
出願日
2024-03-18
発明の名称
位置検出装置
出願人
日本精機株式会社
代理人
主分類
G01D
5/20 20060101AFI20250924BHJP(測定;試験)
要約
【課題】回路基板及びターゲットを保護することができる位置検出装置を提供する。
【解決手段】位置検出装置1は、回路基板3、ターゲット4及びケース5を備える。回路基板3は、電圧の印加により励磁される励磁コイル、及び、励磁された励磁コイルによって誘導起電力が発生する検出部を有する。ターゲット4は、回路基板3と間隔を空けて対向する非磁性金属部を有し、対象物が有する回転軸2の回転に応じて軸線AXを中心に回転し、非磁性金属部によって検出部に発生する誘導起電力を変化させる。ケース5は、回路基板3を支持する支持体51、及び、支持体51に固定されるカバー52を有し、回路基板3及びターゲット4を収容する。
【選択図】図3
特許請求の範囲
【請求項1】
電圧の印加により励磁される励磁コイル、及び、励磁された前記励磁コイルによって誘導起電力が発生する検出部を有する回路基板と、
前記回路基板と間隔を空けて対向する非磁性金属部を有し、対象物が有する回転軸の回転に応じて軸線を中心に回転し、前記非磁性金属部によって前記検出部に発生する誘導起電力を変化させるターゲットと、
前記回路基板を支持する支持体、及び、前記支持体に固定されるカバーを有し、前記回路基板及び前記ターゲットを収容するケースと、を備える、
位置検出装置。
続きを表示(約 260 文字)
【請求項2】
前記ターゲットは、前記回転軸に取り付けられる円筒部と、前記円筒部の周囲に形成されて前記非磁性金属部を有するフランジと、を有し、
前記フランジは、前記軸線が延びる方向において、前記カバーと前記回路基板の間に位置する、
請求項1に記載の位置検出装置。
【請求項3】
前記支持体には、前記軸線を中心とする孔である支持体貫通孔が形成され、
前記回転軸が、前記支持体貫通孔と、前記支持体貫通孔と連通する前記円筒部の中へ挿入可能である、
請求項2に記載の位置検出装置。
発明の詳細な説明
【技術分野】
【0001】
本開示は、位置検出装置に関する。
続きを表示(約 1,200 文字)
【背景技術】
【0002】
例えば、特許文献1,2には、インダクティブポジションセンサと呼ばれる位置検出装置が記載されている。この位置検出装置は、励磁コイルと、励磁コイルによって誘導起電力が発生する検出部とを有する回路基板を備え、非磁性金属部を有するターゲットの変位によって、検出部に発生する誘導起電力を変化させる。ターゲットは、対象物の変位に応じて変位する。当該装置は、このように変化する誘導起電力に基づいて対象物の位置を検出する。
【先行技術文献】
【特許文献】
【0003】
特開2021-76548号公報
特開2023-159506号公報
【発明の概要】
【発明が解決しようとする課題】
【0004】
特許文献1,2においては装置の構造上の詳細については明らかにされておらず、回路基板及びターゲットをどのような構造で装置内に実装するかについて改善の余地がある。
【0005】
本開示は、上記実情に鑑みてなされたものであり、回路基板及びターゲットを保護することができる位置検出装置を提供することを目的とする。
【課題を解決するための手段】
【0006】
上記目的を達成するため、本開示に係る位置検出装置は、
電圧の印加により励磁される励磁コイル、及び、励磁された前記励磁コイルによって誘導起電力が発生する検出部を有する回路基板と、
前記回路基板と間隔を空けて対向する非磁性金属部を有し、対象物が有する回転軸の回転に応じて軸線を中心に回転し、前記非磁性金属部によって前記検出部に発生する誘導起電力を変化させるターゲットと、
前記回路基板を支持する支持体、及び、前記支持体に固定されるカバーを有し、前記回路基板及び前記ターゲットを収容するケースと、を備える。
【発明の効果】
【0007】
本開示によれば、回路基板及びターゲットを保護することができる。
【図面の簡単な説明】
【0008】
本開示の一実施形態に係る位置検出装置の斜視図。
同上実施形態に係る位置検出装置の概略分解図。
同上実施形態に係る位置検出装置の図1のI-I線での概略断面図。
同上実施形態に係るターゲット及び回路基板の機能を説明するための機能ブロック図。
【発明を実施するための形態】
【0009】
本開示の一実施形態について図面を参照して説明する。
【0010】
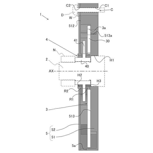
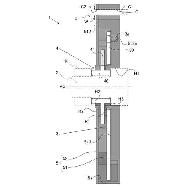
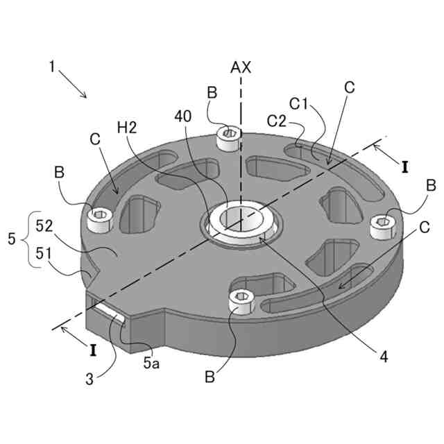
図1~図3に示す位置検出装置1は、対象物に取り付けられ、対象物が有する回転軸2(図3参照)の回転位置を検出する。対象物は、例えば、軸線AXを中心に回転軸2を回転させるモータである。位置検出装置1は、回路基板3と、回転軸2の回転に応じて軸線AXを中心に回転するターゲット4と、ケース5と、を備える。
(【0011】以降は省略されています)
この特許をJ-PlatPat(特許庁公式サイト)で参照する
関連特許
日本精機株式会社
表示装置
23日前
日本精機株式会社
照明装置
23日前
日本精機株式会社
検出装置
22日前
日本精機株式会社
発光表示装置
今日
日本精機株式会社
運転支援装置
21日前
日本精機株式会社
車載表示装置
29日前
日本精機株式会社
鞍乗型車両用表示装置
20日前
日本精機株式会社
ヘッドアップディスプレイ
20日前
日本精機株式会社
スクリーン反射型表示装置
21日前
日本精機株式会社
表示装置及びその製造方法
23日前
日本精機株式会社
ヘッドアップディスプレイ
23日前
日本精機株式会社
ヘッドアップディスプレイ装置
20日前
日本精機株式会社
ヘッドアップディスプレイ装置
21日前
日本精機株式会社
表示制御装置、表示装置、及び表示制御方法
20日前
日本精機株式会社
ヘッドアップディスプレイ装置及び表示制御装置
20日前
日本精機株式会社
嚥下異常検出システム、嚥下異常検出装置および嚥下異常検出用プログラム
20日前
日本精機株式会社
表示制御装置、ヘッドアップディスプレイ装置、表示制御方法、表示制御プログラム、及び車両用表示システム
今日
日本精機株式会社
表示制御装置、ヘッドアップディスプレイ装置、表示制御方法、表示制御プログラム、および車両用表示システム
21日前
日本精機株式会社
車両用表示制御装置、ヘッドアップディスプレイ装置、表示制御方法、表示制御プログラム、および車両用表示システム
21日前
日本精機株式会社
検出装置
22日前
個人
計量機能付き容器
17日前
日本精機株式会社
発光表示装置
今日
甲神電機株式会社
電流検出装置
22日前
株式会社カクマル
境界杭
7日前
大成建設株式会社
風洞実験装置
17日前
日本信号株式会社
距離画像センサ
20日前
日本特殊陶業株式会社
ガスセンサ
15日前
個人
計量具及び計量機能付き容器
17日前
個人
非接触による電磁パルスの測定方法
20日前
株式会社不二越
X線測定装置
20日前
キーコム株式会社
画像作成システム
7日前
個人
液位検視及び品質監視システム
15日前
日本特殊陶業株式会社
センサ
1日前
株式会社電巧社
試験装置及び試験方法
23日前
株式会社エルメックス
希釈液収容容器
17日前
理研計器株式会社
ガス検知装置
7日前
続きを見る
他の特許を見る