TOP
|
特許
|
意匠
|
商標
特許ウォッチ
Twitter
他の特許を見る
10個以上の画像は省略されています。
公開番号
2025171153
公報種別
公開特許公報(A)
公開日
2025-11-20
出願番号
2024076197
出願日
2024-05-08
発明の名称
画像作成システム
出願人
キーコム株式会社
代理人
個人
主分類
G01S
7/497 20060101AFI20251113BHJP(測定;試験)
要約
【課題】対象物(ターゲット)、特には、例えば、自動車の前方に位置する対象物(前方のターゲット)を画像化することができる、画像作成システムを提供すること。
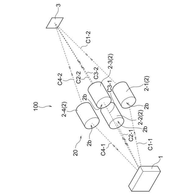
【解決手段】本発明は、ビームを送受信し、対象物を画像化する画像化装置と、該ビームを反射する少なくとも1つの反射部と、該画像化装置と該少なくとも1つの反射部との間に配される少なくとも1つのビーム反射体と、を備え、該画像化装置によって送信された該ビームが、該少なくとも1つの反射部で反射されて折り返されて、該反射されて折り返されたビームが、該少なくとも1つのビーム反射体で反射されることによって、該対象物を画像化するための対象物画像化ビームが形成され、該画像化装置によって、該対象物画像化ビームが受信されて該対象物の画像が形成される、画像作成システムを提供する。
【選択図】図1
特許請求の範囲
【請求項1】
ビームを送受信し、対象物を画像化する画像化装置と、
該ビームを反射する少なくとも1つの反射部と、
該画像化装置と該少なくとも1つの反射部との間に配される少なくとも1つのビーム反射体と、を備え、
該画像化装置によって送信された該ビームが、該少なくとも1つの反射部で反射されて折り返されて、
該反射されて折り返されたビームが、該少なくとも1つのビーム反射体で反射されることによって、該対象物を画像化するための対象物画像化ビームが形成され、
該画像化装置によって、該対象物画像化ビームが受信されて該対象物の画像が形成される、画像作成システム。
続きを表示(約 1,700 文字)
【請求項2】
該少なくとも1つのビーム反射体が、該画像化装置から前記少なくとも1つの反射部までの距離の略中間に配される、請求項1に記載の画像作成システム。
【請求項3】
複数の前記ビーム反射体を備え、
該複数のビーム反射体のそれぞれは開口部を有し、
前記対象物を画像化するための前記対象物画像化ビームが形成されるように、前記画像化装置の位置を基準とした該複数のビーム反射体のそれぞれの開口部の方向が定まる、請求項1に記載の画像作成システム。
【請求項4】
複数の前記ビーム反射体を備え、
該複数のビーム反射体のそれぞれは開口部を有し、
前記対象物を画像化するための前記対象物画像化ビームが形成されるように、前記画像化装置の位置を基準とした該複数のビーム反射体のそれぞれの開口部の方向が時系列で変化する、請求項1に記載の画像作成システム。
【請求項5】
複数の前記反射部と、
複数の前記ビーム反射体と、を備え、
該複数のビーム反射体のそれぞれは開口部を有し、
前記画像化装置によって送信されたビームが、該複数の反射部のそれぞれで反射されて折り返されて、
前記複数の反射部のそれぞれで反射されて折り返されたビームのそれぞれが、前記対象物を画像化するための前記対象物画像化ビームが形成されるように、前記画像化装置の位置を基準とした該複数のビーム反射体のそれぞれの開口部の方向が時系列で変化する、請求項1に記載の画像作成システム。
【請求項6】
ビームを送受信し、対象物を画像化する画像化装置と、
該ビームを反射する少なくとも1つの反射部と、
該画像化装置と該少なくとも1つの反射部との間に配される少なくとも1つのビーム反射体と、を備え、
該画像化装置によって送信された該ビームが、該少なくとも1つのビーム反射体で反射され、
該少なくとも1つのビーム反射体で反射されたビームが、該少なくとも1つの反射部で反射されて折り返されて、
該反射されて折り返されたビームが、該少なくとも1つのビーム反射体で再度反射されることによって、該対象物を画像化するための対象物画像化ビームが形成され、
該画像化装置によって、該対象物画像化ビームが受信されて該対象物の画像が形成される、画像作成システム。
【請求項7】
前記少なくとも1つのビーム反射体が、前記画像化装置から前記少なくとも1つの反射部までの距離の略中間に配される、請求項6に記載の画像作成システム。
【請求項8】
複数の前記ビーム反射体を備え、
該複数のビーム反射体のそれぞれは開口部を有し、
前記対象物を画像化するための前記対象物画像化ビームが形成されるように、前記画像化装置の位置を基準とした該複数のビーム反射体のそれぞれの開口部の方向が定まる、請求項6に記載の画像作成システム。
【請求項9】
複数の前記ビーム反射体を備え、
該複数のビーム反射体のそれぞれは開口部を有し、
前記対象物を画像化するための前記対象物画像化ビームが形成されるように、前記画像化装置の位置を基準とした該複数のビーム反射体のそれぞれの開口部の方向が時系列で変化する、請求項6に記載の画像作成システム。
【請求項10】
複数の前記反射部と、
複数の前記ビーム反射体と、を備え、
該複数のビーム反射体のそれぞれは開口部を有し、
前記画像化装置によって送信されたビームが、該少なくとも1つのビーム反射体で反射され、
該少なくとも1つのビーム反射体で反射されたビームが、該複数の反射部のそれぞれで反射されて折り返されて、
前記複数の反射部のそれぞれで反射されて折り返されたビームのそれぞれが、前記対象物を画像化するための前記対象物画像化ビームが形成されるように、前記画像化装置の位置を基準とした該複数のビーム反射体のそれぞれの開口部の方向が時系列で変化する、請求項6に記載の画像作成システム。
(【請求項11】以降は省略されています)
発明の詳細な説明
【技術分野】
【0001】
本発明は、画像作成システムに関する。
続きを表示(約 1,300 文字)
【背景技術】
【0002】
従来から、例えば、自動運転の「目」として期待の高いレーダ(Radar)、ライダー(Lidar)等の試験を室内で行うことができるためのテストシステムに関する研究開発が盛んに行われている。
【0003】
例えば、特許文献1では、レーダ(Radar)テストシステム及びライダー(Lidar)テストシステムに関する技術が提案されている。
【先行技術文献】
【特許文献】
【0004】
特開2017-161488号公報
【発明の概要】
【発明が解決しようとする課題】
【0005】
しかしながら、特許文献1で提案された技術では、対象物(ターゲット)、特には、例えば、自動車の前方に位置する対象物(前方のターゲット)を画像化することは困難である。
【0006】
本発明は、このような状況に鑑みてなされたものであり、対象物(ターゲット)、特には、例えば、自動車の前方に位置する対象物(前方のターゲット)を画像化することができる、画像作成システムを提供することを主目的とする。
【課題を解決するための手段】
【0007】
本発明者らは、上述の目的を解決するために鋭意研究を行った結果、対象物(ターゲット)、特には、例えば、自動車の前方に位置する対象物(前方のターゲット)の画像化を実現することができる画像作成システムの開発に成功し、本発明を完成するに至った。
【0008】
すなわち、本発明では、第1の側面として、
ビームを送受信し、対象物を画像化する画像化装置と、
該ビームを反射する少なくとも1つの反射部と、
該画像化装置と該少なくとも1つの反射部との間に配される少なくとも1つのビーム反射体と、を備え、
該画像化装置によって送信された該ビームが、該少なくとも1つの反射部で反射されて折り返されて、
該反射されて折り返されたビームが、該少なくとも1つのビーム反射体で反射されることによって、該対象物を画像化するための対象物画像化ビームが形成され、
該画像化装置によって、該対象物画像化ビームが受信されて該対象物の画像が形成される、画像作成システムを提供する。
【0009】
本発明に係る第1の側面の画像作成システムにおいて、
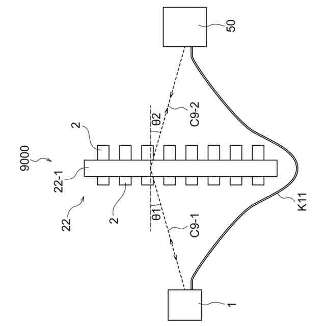
該少なくとも1つのビーム反射体が、該画像化装置から前記少なくとも1つの反射部までの距離の略中間に配されてもよい。
【0010】
本発明に係る第1の側面の画像作成システムは、
複数の前記ビーム反射体を備えてもよく、
本発明に係る第1の側面の画像作成システムにおいて、
該複数のビーム反射体のそれぞれは開口部を有してもよく、
前記対象物を画像化するための前記対象物画像化ビームが形成されるように、前記画像化装置の位置を基準とした該複数のビーム反射体のそれぞれの開口部の方向が定まってよい。
(【0011】以降は省略されています)
この特許をJ-PlatPat(特許庁公式サイト)で参照する
関連特許
他の特許を見る