TOP
|
特許
|
意匠
|
商標
特許ウォッチ
Twitter
他の特許を見る
10個以上の画像は省略されています。
公開番号
2025168603
公報種別
公開特許公報(A)
公開日
2025-11-10
出願番号
2024073282
出願日
2024-04-28
発明の名称
計量具及び計量機能付き容器
出願人
個人
代理人
個人
主分類
G01F
11/26 20060101AFI20251031BHJP(測定;試験)
要約
【課題】実用的な計量機能付き容器を提供すること。
【解決手段】計量具は、貯蔵室内の内容物を排出する第1排出路を区画する第1排出路区画部と、貯蔵室内の内容物を計量する第1計量室を区画する第1計量室区画部と、貯蔵室内の内容物を容器外に排出する第2排出路を区画する第2排出路区画部と、貯蔵室内の内容物を計量する第2計量室区画部とを備える。第1流入孔は、第1計量姿勢において第1流出孔及び第2流入孔よりも重力方向上側に位置するように、第1流出孔から離間して第1計量室区画部に設けられ、第2流入孔は、第2計量姿勢において第2流出孔及び第1流入孔よりも重力方向上側に位置するように、第2流出孔から離間して第2計量室区画部に設けられている。
【選択図】図1
特許請求の範囲
【請求項1】
容器に取り付けられ、前記容器の底部を重力方向下側にして水平面に載置された載置姿勢から前記容器を特定方向に傾けた計量姿勢において、前記容器の貯蔵室内に貯蔵されている流体又は粒体の内容物を、前記貯蔵室内で計量する計量具であって、
前記貯蔵室内の前記内容物を第1排出口から前記容器外に排出する第1排出路を区画する第1排出路区画部と、
前記第1排出路の前記第1排出口とは反対側に設けられ、前記貯蔵室と前記第1排出路とにそれぞれ第1流入孔と第1流出孔とを介して連通し、前記貯蔵室内の前記内容物を計量する第1計量室を区画する第1計量室区画部と、
前記第1排出口とは別の第2排出口から前記貯蔵室内の前記内容物を前記容器外に排出する第2排出路を区画する第2排出路区画部と、
前記第2排出路の前記第2排出口とは反対側に設けられ、前記貯蔵室と前記第2排出路とにそれぞれ前記第1流入孔とは別の第2流入孔と前記第1流出孔とは別の第2流出孔とを介して連通し、前記貯蔵室内の前記内容物を計量する、前記第1計量室とは異なる第2計量室を区画する第2計量室区画部と、を備え、
前記第1流入孔は、2つの異なる前記計量姿勢のうち一方の第1計量姿勢において前記第1流出孔及び前記第2流入孔よりも重力方向上側に位置するように、前記第1流出孔から離間して前記第1計量室区画部に設けられ、
前記第2流入孔は、2つの異なる前記計量姿勢のうち他方の第2計量姿勢において前記第2流出孔及び前記第1流入孔よりも重力方向上側に位置するように、前記第2流出孔から離間して前記第2計量室区画部に設けられていることを特徴とする計量具。
続きを表示(約 610 文字)
【請求項2】
前記第1計量室区画部と前記第2計量室区画部とは、前記第2計量室の少なくとも一部が前記第1計量室に含まれるように構成されている、請求項1に記載の計量具。
【請求項3】
前記第1計量室区画部と前記第2計量室区画部とは、前記第1計量室と前記第2計量室との少なくとも一部が前記計量姿勢において水平方向に並ぶように構成されている、請求項1に記載の計量具。
【請求項4】
請求項1から請求項3のいずれか一項に記載の前記計量具を備えている計量機能付き容器であって、
前記計量具は、前記第1排出口及び前記第2排出口が前記容器外に位置し、前記第1計量室区画部及び前記第2計量室区画部が前記貯蔵室内の前記底部側に位置し、前記第1計量姿勢において、前記第1流入孔が前記第1流出孔及び前記第2流入孔よりも重量方向上側に位置し、前記第2計量姿勢において、前記第2流入孔が前記第2流出孔及び前記第1流入孔よりも重力方向上側に位置するように、前記容器に取り付けられ、
前記載置姿勢において、前記貯蔵室内の前記内容物が前記第1計量室内及び前記第2計量室内に流入し、前記第1計量姿勢において、前記第1計量室内の前記内容物が前記第1計量室外の前記内容物と分離され、前記第2計量室内の前記内容物が前記第2計量室外の前記内容物と分離されるように構成されていることを特徴とする計量機能付き容器。
発明の詳細な説明
【技術分野】
【0001】
本開示は、計量具及び計量機能付き容器に関する。
続きを表示(約 2,400 文字)
【背景技術】
【0002】
従来から、容器内の貯蔵室に貯蔵されている流体の内容物を貯蔵室内で計量し、計量された内容物を容器外に排出する計量機能付き容器が知られている。特許文献1に開示されている計量機能付き容器は、内容物を計量する計量室内に進退可能な調整ボルトを備えている。この容器によれば、当該調整ボルトの計量室への侵入量を変更することで、計量室で計量される内容物の容量を変更することができる。しかしながら、上述した計量容量の変更は、手軽なものとは言い難い。
【先行技術文献】
【特許文献】
【0003】
特開2000-346692号公報
【発明の概要】
【発明が解決しようとする課題】
【0004】
本発明は、実用的な計量機能付き容器を提供することを課題とする。
【課題を解決するための手段】
【0005】
本発明に係る計量具は、容器に取り付けられ、前記容器の底部を重力方向下側にして水平面に載置された載置姿勢から前記容器を特定方向に傾けた計量姿勢において、前記容器の貯蔵室内に貯蔵されている流体又は粒体の内容物を、前記貯蔵室内で計量するものであって、前記貯蔵室内の前記内容物を第1排出口から前記容器外に排出する第1排出路を区画する第1排出路区画部と、前記第1排出路の前記第1排出口とは反対側に設けられ、前記貯蔵室と前記第1排出路とにそれぞれ第1流入孔と第1流出孔とを介して連通し、前記貯蔵室内の前記内容物を計量する第1計量室を区画する第1計量室区画部と、前記貯蔵室内の前記内容物を前記第1排出口とは別の第2排出口から前記容器外に排出する第2排出路を区画する第2排出路区画部と、前記第2排出路の前記第2排出口とは反対側に設けられ、前記貯蔵室と前記第2排出路とにそれぞれ前記第1流入孔とは別の第2流入孔と前記第1流出孔とは別の第2流出孔とを介して連通し、前記内容物を計量する前記第1計量室とは異なる第2計量室を区画する第2計量室区画部と、を備え、前記第1流入孔は、2つの異なる前記計量姿勢のうち一方の第1計量姿勢において前記第1流出孔及び前記第2流入孔よりも重力方向上側に位置するように、前記第1流出孔から離間して前記第1計量室区画部に設けられ、前記第2流入孔は、2つの異なる前記計量姿勢のうち他方の第2計量姿勢において前記第2流出孔及び前記第1流入孔よりも重力方向上側に位置するように、前記第2流出孔から離間して前記第2計量室区画部に設けられている。
【発明の効果】
【0006】
本発明に係る計量具を取り付けた容器によれば、容器を第1計量姿勢にすることにより、貯蔵室内の内容物を第1計量室の容量に計量することができ、容器を第2計量姿勢にすることにより、貯蔵室内の内容物を第2計量室の容量に計量することができる。すなわち、載置姿勢の容器を異なる方向に傾けるだけで、貯蔵室内の内容物を異なる容量に計量することができる。
【図面の簡単な説明】
【0007】
第1実施形態に係る計量機能付き容器の模式図である。
第1実施形態に係る容器の模式図である。
第1実施形態に係る計量具の模式図である。
第1実施形態に係る計量室区画部の模式図である。
第1実施形態に係る計量機能付き容器の第1計量姿勢を示す模式図である。
第1実施形態に係る計量機能付き容器の第1排出姿勢を示す模式図である。
第1実施形態に係る計量機能付き容器の第2計量姿勢を示す模式図である。
第1実施形態に係る計量機能付き容器の第2排出姿勢を示す模式図である。
第2実施形態に係る計量機能付き容器の模式図である。
第2実施形態に係る計量室区画部の模式図である。
第3実施形態に係る計量機能付き容器の模式図である。
第4実施形態に係る計量機能付き容器の模式図である。
第5実施形態に係る計量機能付き容器の模式図である。
第6実施形態に係る計量機能付き容器の模式図である。
【発明を実施するための形態】
【0008】
(第1実施形態)
<計量機能付き容器の構成>
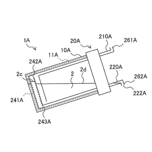
図1は、計量機能付き容器1Aの模式図である。計量機能付き容器1Aは、容器10Aと計量具20Aとを備えている。計量機能付き容器1Aは、計量具20Aにより容器10A内に貯蔵されている内容物2を容器10A内で計量する計量機能を有している。
内容物2は流体や粒体である。流体の内容物2としては、水やジュース等の飲料や、ソースや酢等の調味料や、液体の洗剤や薬品が考えられる。粒体の内容物2としては、砂糖や塩等の調味料や、粒体の洗剤や薬品が考えられる。
【0009】
<容器>
図2は容器10Aの模式図である。容器10Aは貯蔵室11Aを区画する。貯蔵室11Aは内容物2を貯蔵する空間である。
容器10Aの載置姿勢における上方には連通孔12Aが設けられている。ここで載置姿勢とは、容器10Aの底部を重力方向下側にして、容器10Aを水平面に載置させた姿勢である。連通孔12Aは、計量具20Aを容器10A内に取り付けるための孔である。
本実施形態では、容器10Aは有底円筒状であるものとする。
【0010】
<計量具>
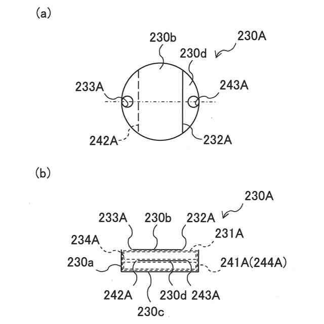
図3は計量具20Aの模式図である。図3(a)は計量具20Aの上面を示す模式図である。図3(b)は計量具20Aの側面を示す模式図である。
計量具20Aは、第1排出路区画部210Aと、第2排出路区画部220Aと、計量室区画部230Aと、蓋部250Aと、第1計量姿勢誘導部261Aと、第2計量姿勢誘導部262Aとを有している。
(【0011】以降は省略されています)
特許ウォッチbot のツイートを見る
この特許をJ-PlatPat(特許庁公式サイト)で参照する
関連特許
個人
採尿及び採便具
1か月前
日本精機株式会社
検出装置
25日前
個人
計量機能付き容器
20日前
個人
アクセサリー型テスター
1か月前
個人
高精度同時多点測定装置
1か月前
甲神電機株式会社
電流検出装置
25日前
株式会社ミツトヨ
測定器
1か月前
日本精機株式会社
発光表示装置
3日前
株式会社カクマル
境界杭
10日前
株式会社トプコン
測量装置
2日前
アズビル株式会社
電磁流量計
1か月前
トヨタ自動車株式会社
監視装置
1か月前
大成建設株式会社
風洞実験装置
20日前
ダイキン工業株式会社
監視装置
1か月前
双庸電子株式会社
誤配線検査装置
26日前
個人
システム、装置及び実験方法
1か月前
個人
非接触による電磁パルスの測定方法
23日前
個人
計量具及び計量機能付き容器
20日前
愛知時計電機株式会社
ガスメータ
1か月前
ローム株式会社
半導体装置
1か月前
ローム株式会社
半導体装置
1か月前
日本特殊陶業株式会社
ガスセンサ
2日前
TDK株式会社
磁気センサ
1か月前
愛知電機株式会社
軸部材の外観検査装置
1か月前
日本信号株式会社
距離画像センサ
23日前
日本特殊陶業株式会社
ガスセンサ
18日前
大和製衡株式会社
組合せ計量装置
1か月前
大和製衡株式会社
組合せ計量装置
1か月前
長崎県
形状計測方法
1か月前
株式会社デンソー
電流センサ
1か月前
多摩川精機株式会社
冗長エンコーダ
1か月前
ダイハツ工業株式会社
移動支援装置
1か月前
キーコム株式会社
画像作成システム
10日前
日本特殊陶業株式会社
センサ
4日前
日本特殊陶業株式会社
センサ
1か月前
個人
液位検視及び品質監視システム
18日前
続きを見る
他の特許を見る