TOP
|
特許
|
意匠
|
商標
特許ウォッチ
Twitter
他の特許を見る
公開番号
2025165002
公報種別
公開特許公報(A)
公開日
2025-11-04
出願番号
2024068829
出願日
2024-04-22
発明の名称
誤配線検査装置
出願人
双庸電子株式会社
代理人
個人
主分類
G01R
31/55 20200101AFI20251027BHJP(測定;試験)
要約
【課題】電流の回り込みによる誤診を防止できる誤配線検査装置を提供する。
【解決手段】誤配線検査装置は、交流生成回路によって交流信号を印加している間、測定電圧と測定電流とに基づいて抵抗値と位相差の有無とを判断する。抵抗値が設定値以上である場合、誤配線検査装置は、第1の報知回路および第2の報知回路を駆動しない。抵抗値が設定値未満であり、かつ、位相差が存在しない場合、誤配線検査装置は、第2の報知回路を駆動せずに、第1の報知回路を駆動することによって第1の態様で誤配線の検査結果を報知する。抵抗値が設定値未満であり、かつ、位相差が存在する場合、誤配線検査装置は、第1の報知回路を駆動せずに、第2の報知回路を駆動することによって第2の態様で誤配線の検査結果を報知する。交流生成回路は、交流信号の周波数を第1の周波数と第2の周波数との間で定期的に交互に切り替える。
【選択図】図2
特許請求の範囲
【請求項1】
電気回路における誤配線の有無を検査するための誤配線検査装置であって、
前記電気回路における第1の測定点と接触により導通可能に構成された第1のプローブと、
前記電気回路における前記第1の測定点と対になる第2の測定点と接触により導通可能に構成された第2のプローブと、
前記第1のプローブに印加する交流信号を生成する交流生成回路と、
前記第1のプローブと前記第2のプローブとの間の電圧を測定する電圧測定回路と、
前記第2のプローブを流れる電流を測定する電流測定回路と、
第1の態様で前記誤配線の検査結果を報知する第1の報知回路と、
前記第1の態様とは異なる第2の態様で前記誤配線の検査結果を報知する第2の報知回路と、
プロセッサと、
プログラム命令を記憶するメモリと
を備え、前記プロセッサにより前記プログラム命令が実行されることによって、
前記交流生成回路によって前記第1のプローブに前記交流信号を印加している間、前記電圧測定回路によって測定される測定電圧と、前記電流測定回路によって測定される測定電流とに基づいて、前記第1の測定点と前記第2の測定点との間の抵抗値と、前記測定電圧と前記測定電流との位相差の有無とを判断し、
前記抵抗値が設定値以上である場合、前記第1の報知回路および前記第2の報知回路を駆動せず、
前記抵抗値が前記設定値未満であり、かつ、前記位相差が存在しない場合、前記第2の報知回路を駆動せずに、前記第1の報知回路を駆動することによって前記第1の態様で前記誤配線の検査結果を報知し、
前記抵抗値が前記設定値未満であり、かつ、前記位相差が存在する場合、前記第1の報知回路を駆動せずに、前記第2の報知回路を駆動することによって前記第2の態様で前記誤配線の検査結果を報知し、
前記交流生成回路は、前記第1のプローブに前記交流信号を印加している間、前記交流信号の周波数を、相互に異なる第1の周波数と第2の周波数との間で定期的に交互に切り替える、誤配線検査装置。
続きを表示(約 130 文字)
【請求項2】
請求項1に記載の誤配線検査装置であって、
前記第1の報知回路は、前記第1の態様として音を出力する音発生ユニットであり、
前記第2の報知回路は、前記第2の態様として可視光を出力する発光ユニットである、誤配線検査装置。
発明の詳細な説明
【技術分野】
【0001】
本明細書は、誤配線検査装置に関する技術を開示する。
続きを表示(約 2,600 文字)
【背景技術】
【0002】
誤配線検査装置は、配電盤、分電盤および制御盤などの電気回路における誤配線の有無を検査する誤配線検査に用いられる装置である。誤配線検査においては、トランス、モータおよび半導体など、直流抵抗が比較的に低い部品が被検査回路に並列接続されている場合における電流の回り込みによる誤診が問題となる。特許文献1には、電流の回り込みによる誤診を防止するために、被検査回路のインピーダンスが所定値以下である場合に発振する発振回路を備え、この発振回路によってブザー音を発生させる誤配線検査装置について記載されている。
【先行技術文献】
【特許文献】
【0003】
特開2005-17263号公報
【発明の概要】
【発明が解決しようとする課題】
【0004】
誤配線検査装置においては、電流の回り込みによる誤診を防止する観点から改良の余地があった。特に、特許文献1の誤配線検査装置では、導通、抵抗、コイルおよびコンデンサの有無をブザー音の音色および変化によって報知するため、検査結果の判断に熟練を要するという問題があった。
【課題を解決するための手段】
【0005】
本明細書に開示する技術は、以下の形態として実現できる。
【0006】
(1)本明細書に開示する一形態における誤配線検査装置は、電気回路における誤配線の有無を検査するための誤配線検査装置である。この誤配線検査装置は、前記電気回路における第1の測定点と接触により導通可能に構成された第1のプローブと;前記電気回路における前記第1の測定点と対になる第2の測定点と接触により導通可能に構成された第2のプローブと;前記第1のプローブに印加する交流信号を生成する交流生成回路と;前記第1のプローブと前記第2のプローブとの間の電圧を測定する電圧測定回路と;前記第2のプローブを流れる電流を測定する電流測定回路と;第1の態様で前記誤配線の検査結果を報知する第1の報知回路と;前記第1の態様とは異なる第2の態様で前記誤配線の検査結果を報知する第2の報知回路と;プロセッサと;プログラム命令を記憶するメモリとを備える。誤配線検査装置は、前記プロセッサにより前記プログラム命令が実行されることによって、前記交流生成回路によって前記第1のプローブに前記交流信号を印加している間、前記電圧測定回路によって測定される測定電圧と、前記電流測定回路によって測定される測定電流とに基づいて、前記第1の測定点と前記第2の測定点との間の抵抗値と、前記測定電圧と前記測定電流との位相差の有無とを判断する。前記抵抗値が設定値以上である場合、誤配線検査装置は、前記第1の報知回路および前記第2の報知回路を駆動しない。前記抵抗値が前記設定値未満であり、かつ、前記位相差が存在しない場合、誤配線検査装置は、前記第2の報知回路を駆動せずに、前記第1の報知回路を駆動することによって前記第1の態様で前記誤配線の検査結果を報知する。前記抵抗値が前記設定値未満であり、かつ、前記位相差が存在する場合、誤配線検査装置は、前記第1の報知回路を駆動せずに、前記第2の報知回路を駆動することによって前記第2の態様で前記誤配線の検査結果を報知する。前記交流生成回路は、前記第1のプローブに前記交流信号を印加している間、前記交流信号の周波数を、相互に異なる第1の周波数と第2の周波数との間で定期的に交互に切り替える。この形態の誤配線検査装置によれば、位相差が存在せずに抵抗値が設定値未満である場合に検査結果として「導通」を第1の態様で報知でき、一方、位相差が存在しながら抵抗値が設定値未満である場合に検査結果として「回り込み」を第2の態様で報知できる。また、この形態の誤配線検査装置によれば、交流信号の周波数を、相互に異なる第1の周波数と第2の周波数との間で定期的に交互に切り替えるため、コイルおよびコンデンサを介した回り込みを検知する精度を向上させることができる。また、この形態の誤配線検査装置によれば、交流信号の周波数を、相互に異なる第1の周波数と第2の周波数との間で定期的に交互に切り替えるため、コイルおよびコンデンサを介した回り込みを検知可能な境界付近であることを、第2の態様のオンオフを交互に繰り返すことによって報知できる。
【0007】
(2)上記形態の誤配線検査装置において、前記第1の報知回路は、前記第1の態様として音を出力する音発生ユニットであり、前記第2の報知回路は、前記第2の態様として可視光を出力する発光ユニットであってもよい。この形態の誤配線検査装置によれば、位相差が存在せずに抵抗値が設定値未満である場合に検査結果として「導通」を音で報知でき、一方、位相差が存在しながら抵抗値が設定値未満である場合に検査結果として「回り込み」を可視光で報知できる。これによって、使用者は、第1のプローブと第2のプローブを持つ手元から視線を移動させずに、検査結果が「導通」であることを音で認識できる。また、使用者は、検査結果が「非導通」である無音である場合に、発光ユニットからの可視光を確認することによって検査結果が「回り込み」であることを確認できる。
【0008】
本明細書に開示する技術は、誤配線検査装置とは異なる種々の形態で実現できる。本明細書に開示する技術は、例えば、誤配線検査装置の部品、誤配線検査方法などの形態で実現できる。
【図面の簡単な説明】
【0009】
誤配線検査装置の外観構成を示す説明図である。
誤配線検査装置の内部構成を示す説明図である。
交流生成処理を示すフローチャートである。
誤配線検査処理を示すフローチャートである。
【発明を実施するための形態】
【0010】
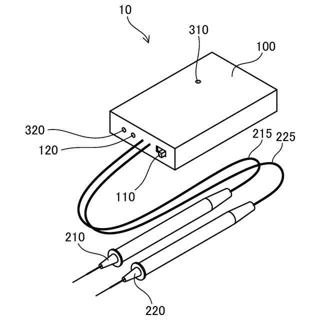
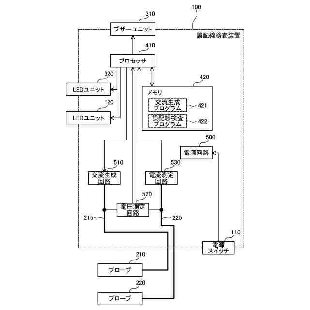
図1は、誤配線検査装置10の外観構成を示す説明図である。誤配線検査装置10は、配電盤、分電盤および制御盤などの電気回路における誤配線の有無を検査する誤配線検査に用いられる装置である。誤配線検査装置10は、筐体100と、電源スイッチ110と、LEDユニット120と、ブザーユニット310と、LEDユニット320と、プローブ210と、ケーブル215と、プローブ220と、ケーブル225とを備える。
(【0011】以降は省略されています)
この特許をJ-PlatPat(特許庁公式サイト)で参照する
関連特許
双庸電子株式会社
誤配線検査装置
1か月前
個人
視触覚センサ
4日前
個人
採尿及び採便具
1か月前
日本精機株式会社
検出装置
1か月前
個人
計量機能付き容器
29日前
日本精機株式会社
発光表示装置
12日前
甲神電機株式会社
電流検出装置
1か月前
株式会社ミツトヨ
測定器
1か月前
株式会社カクマル
境界杭
19日前
愛知電機株式会社
外観検査装置
今日
愛知電機株式会社
外観検査方法
今日
ユニパルス株式会社
トルク変換器
4日前
株式会社トプコン
測量装置
11日前
ユニパルス株式会社
トルク変換器
4日前
ユニパルス株式会社
トルク変換器
4日前
アズビル株式会社
電磁流量計
1か月前
大成建設株式会社
風洞実験装置
29日前
個人
非接触による電磁パルスの測定方法
1か月前
日本特殊陶業株式会社
ガスセンサ
4日前
日本特殊陶業株式会社
ガスセンサ
27日前
日本特殊陶業株式会社
ガスセンサ
5日前
個人
システム、装置及び実験方法
1か月前
日本特殊陶業株式会社
ガスセンサ
11日前
個人
計量具及び計量機能付き容器
29日前
双庸電子株式会社
誤配線検査装置
1か月前
愛知時計電機株式会社
ガスメータ
1か月前
日本信号株式会社
距離画像センサ
1か月前
大和製衡株式会社
組合せ計量装置
1か月前
大和製衡株式会社
組合せ計量装置
1か月前
愛知電機株式会社
軸部材の外観検査装置
1か月前
株式会社タイガーカワシマ
揚穀装置
11日前
キーコム株式会社
画像作成システム
19日前
日東精工株式会社
振動波形検査装置
1か月前
株式会社不二越
X線測定装置
1か月前
日置電機株式会社
絶縁抵抗測定装置
4日前
個人
液位検視及び品質監視システム
27日前
続きを見る
他の特許を見る