TOP
|
特許
|
意匠
|
商標
特許ウォッチ
Twitter
他の特許を見る
公開番号
2025153019
公報種別
公開特許公報(A)
公開日
2025-10-10
出願番号
2024055275
出願日
2024-03-29
発明の名称
監視装置
出願人
ダイキン工業株式会社
代理人
個人
主分類
G01R
31/34 20200101AFI20251002BHJP(測定;試験)
要約
【課題】三相交流に接続されるモータを搭載した機器について、劣化を正確に診断できる監視装置を提供する。
【解決手段】モータ30を搭載した機器の監視装置100であって、モータは三相交流と接続され、三相交流の1相分の電流を取得する、三相交流が供給される線を通す方式の電流検出器CT1、CT2を2つ備え、2つの電流検出器から2相分の電流を取得する取得部111と、取得部から出力された2相分の電流の位相差が、2つの電流検出器を同一方向に取り付けた場合の位相差よりも小さい場合に、取得した2相分の電流のうち1相分の正負の極性を補正する補正部112と、補正部による補正後の2相分の電流から残り1相分の電流を算出する算出部113と、算出部により算出された残り1相分の電流を少なくとも含む情報を用いて機器の劣化に関する情報を出力する出力部115と、を備える。
【選択図】図2
特許請求の範囲
【請求項1】
モータを搭載した機器の監視装置であって、
前記モータは三相交流と接続され、
前記三相交流の1相分の電流を取得する、当該三相交流が供給される線を通す方式の電流検出器を2つ備え、
2つの前記電流検出器から2相分の電流を取得する取得部と、
前記取得部から出力された2相分の電流の位相差が、2つの前記電流検出器を同一方向に取り付けた場合の位相差よりも小さい場合に、取得した当該2相分の電流のうち1相分の正負の極性を補正する補正部と、
前記補正部による補正後の前記2相分の電流から残り1相分の電流を算出する算出部と、
前記算出部により算出された前記残り1相分の電流を少なくとも含む情報を用いて前記機器の劣化に関する情報を出力する出力部と、
を備える監視装置。
続きを表示(約 430 文字)
【請求項2】
前記補正部による補正後の前記2相分の電流と、前記算出部により算出された前記残り1相分の電流とを用いて、前記機器の劣化に関する情報を出力する、請求項1に記載の監視装置。
【請求項3】
前記取得部は、前記電流検出器から取得した2相分の電流のオフセットをそれぞれ補正するオフセット補正部を備える、請求項1または2に記載の監視装置。
【請求項4】
前記補正部は、前記取得部から出力された前記2相分の電流の合成波の振幅が、当該取得部から出力された当該電流の振幅よりも大きくなった場合に、当該取得部から出力された当該2相分の電流の位相差が、2つの前記電流検出器を同一方向に取り付けた場合の位相差よりも小さいと判定する、請求項1または2に記載の監視装置。
【請求項5】
前記取得部は、前記電流検出器から取得した2相分の電流のうち、少なくとも一方のゲインを補正するゲイン補正部を備える、請求項4に記載の監視装置。
発明の詳細な説明
【技術分野】
【0001】
本開示は、監視装置に関する。
続きを表示(約 3,000 文字)
【背景技術】
【0002】
特許文献1には、電気駆動される回転機械の電気的特徴量に基づき、前記回転機械を搭載する機器の機械要素の異常に関する判断を行う判断部を備え、前記電気的特徴量は、前記回転機械を駆動する電動機の電流と相関のある信号の特定の周波数成分であり、前記特定の周波数成分は、前記回転機械の回転周波数の所定の正の整数倍の成分であり、前記判断部は、前記回転機械の回転周波数の変化による、前記機械要素の異常と前記電気的特徴量との関係の変動を考慮して、前記判断を行う、異常判断装置が開示されている。
【先行技術文献】
【特許文献】
【0003】
特開2022-28644号公報
【発明の概要】
【発明が解決しようとする課題】
【0004】
三相交流に接続されるモータを搭載した機器の劣化を診断する場合に、作業スペースやコストの観点から、2つの電流検出器を用いて三相交流の2相分の電流を取得し、取得した2相分の電流から残り1相分の電流を算出して機器の劣化を診断することがある。2相分に対する電流検出器の取り付け方向を正しい関係で設置しなければ残り1相分の電流を正しく算出することができず、算出した残り1相分の電流を用いて劣化を診断する場合に正確な診断ができない。
本開示は、三相交流に接続されるモータを搭載した機器について、2相分の電流を2つの電流検出器により取得して残り1相分の電流を算出し、算出した残り1相分の電流を用いて機器の劣化を診断する場合に、2相分に対する電流検出器の取り付け方向に関して補正をしないで機器の劣化を診断する場合よりも正確に診断を行うことを目的とする。
【課題を解決するための手段】
【0005】
本開示の監視装置は、モータを搭載した機器の監視装置であって、前記モータは三相交流と接続され、前記三相交流の1相分の電流を取得する、当該三相交流が供給される線を通す方式の電流検出器を2つ備え、2つの前記電流検出器から2相分の電流を取得する取得部と、前記取得部から出力された2相分の電流の位相差が、2つの前記電流検出器を同一方向に取り付けた場合の位相差よりも小さい場合に、取得した当該2相分の電流のうち1相分の正負の極性を補正する補正部と、前記補正部による補正後の前記2相分の電流から残り1相分の電流を算出する算出部と、前記算出部により算出された前記残り1相分の電流を少なくとも含む情報を用いて前記機器の劣化に関する情報を出力する出力部と、を備える。この場合、三相交流に接続されるモータを搭載した機器について、2相分の電流を2つの電流検出器により取得して残り1相分の電流を算出し、算出した残り1相分の電流を用いて機器の劣化を診断する場合に、2相分に対する電流検出器の取り付け方向に関して補正をしないで機器の劣化を診断する場合よりも正確に診断を行うことができる。
また、本開示の監視装置は、前記補正部による補正後の前記2相分の電流と、前記算出部により算出された前記残り1相分の電流とを用いて、前記機器の劣化に関する情報を出力する。この場合、1相分の電流から劣化診断を行う場合よりも正確に診断を行うことができる。
ここで、前記取得部は、前記電流検出器から取得した2相分の電流のオフセットをそれぞれ補正するオフセット補正部を備える。この場合、取得した2相分の電流の位相差を正確に算出することができる。
また、前記補正部は、前記取得部から出力された前記2相分の電流の合成波の振幅が、当該取得部から出力された当該電流の振幅よりも大きくなった場合に、当該取得部から出力された当該2相分の電流の位相差が、2つの前記電流検出器を同一方向に取り付けた場合の位相差よりも小さいと判定する。この場合、位相差を算出することなく、取得した2相分の電流の位相差が2つの当該電流検出器を同一方向に取り付けた場合の位相差よりも小さいか否かを判定することができる。
また、前記取得部は、前記電流検出器から取得した2相分の電流のうち、少なくとも一方のゲインを補正するゲイン補正部を備える。この場合、取得した2相分の電流の合成波を正確に算出することができる。
【図面の簡単な説明】
【0006】
本実施の形態に係る監視装置を適用した監視システムの構成例を示す図である。
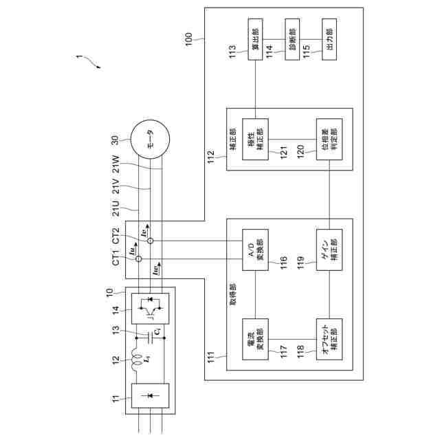
本実施の形態に係る監視装置の構成例を示す図である。
取得部から出力された2相分の電流の波形を示す図であり、(a)は2つの電流センサが同一方向に取り付けられた場合の波形を、(b)は2つの電流センサが互い違いの方向に取り付けられた場合の波形を示す。
位相差の算出方法を説明する図であり、(a)は第1電流センサおよび第2電流センサにより検出された電流の波形の例を、(b)は各検出時間における電流の振幅の測定値の例を示す図である。
本実施の形態に係る監視装置によるモータを搭載した機器の劣化の診断処理の流れの例を示す図である。
取得部から出力された2相分の電流を合成した合成波の波形を示す図であり、(a)は2つの電流センサが同一方向に取り付けられた場合の合成波の波形を、(b)は2つの電流センサが互い違いの方向に取り付けられた場合の合成波の波形を示す。
【発明を実施するための形態】
【0007】
以下、添付図面を参照して、実施の形態について詳細に説明する。
<監視システムの構成>
図1は、本実施の形態に係る監視装置100を適用した監視システム1の構成例を示す図である。
監視システム1は、インバータ装置10と、モータ30と、監視装置100とを備える。
【0008】
インバータ装置10は、例えば三相の交流電源(商用電源)と接続され、交流電源から供給される交流電力によりモータ30を駆動する。インバータ装置10の構成についての詳細は後述する。
【0009】
モータ30は、例えば、IPMモータ(Interior Permanent Magnet Motor)である。モータ30は、例えば空気調和装置に備えられた冷媒回路の圧縮機を駆動する。
インバータ装置10とモータ30とは、U相電流Iu、V相電流Iv、W相電流Iwがそれぞれ流れる3本の電線21U、21V、21Wにより接続される。以下において、3本の電線21U、21V、21Wを区別しない場合、電線21と呼ぶことがある。
【0010】
監視装置100は、モータ30を搭載した機器の劣化を診断する。モータ30を搭載した機器とは、例えば圧縮機である。機器の劣化は、例えば、モータ30の軸受の摩耗(以下、「軸受摩耗」)、モータ30の軸受の摩擦変動の増加、地絡あるいはレアショートに至る絶縁劣化等を含む。また、機器がモータ30を備える圧縮機である場合、機器の劣化は、圧縮機の油シール性の低下、圧縮機の圧縮室に液冷媒が入り込み圧縮される液圧縮等を含む。
(【0011】以降は省略されています)
この特許をJ-PlatPat(特許庁公式サイト)で参照する
関連特許
ダイキン工業株式会社
撥剤
2日前
ダイキン工業株式会社
監視装置
2日前
ダイキン工業株式会社
冷凍装置
17日前
ダイキン工業株式会社
冷凍装置
13日前
ダイキン工業株式会社
冷凍装置
2日前
ダイキン工業株式会社
冷凍装置
13日前
ダイキン工業株式会社
流体機械
4日前
ダイキン工業株式会社
冷凍装置
5日前
ダイキン工業株式会社
空気調和装置
9日前
ダイキン工業株式会社
電力変換装置
2日前
ダイキン工業株式会社
回転電気機械
16日前
ダイキン工業株式会社
冷媒充填方法
2日前
ダイキン工業株式会社
発電システム
13日前
ダイキン工業株式会社
空気調和装置
2日前
ダイキン工業株式会社
空気調和装置
2日前
ダイキン工業株式会社
固体冷凍装置
9日前
ダイキン工業株式会社
デポジションガス
23日前
ダイキン工業株式会社
空調ゾーニング方法
3日前
ダイキン工業株式会社
熱交換器及び冷凍装置
11日前
ダイキン工業株式会社
熱源ユニット及び冷凍装置
5日前
ダイキン工業株式会社
電力変換装置及び冷凍装置
2日前
ダイキン工業株式会社
空調機のための保守システム
2日前
ダイキン工業株式会社
フルオロポリマーの製造方法
23日前
ダイキン工業株式会社
ノイズ抑制回路、空気調和機
2日前
ダイキン工業株式会社
電力変換システム、空気調和機
2日前
ダイキン工業株式会社
電力変換システム、空気調和機
2日前
ダイキン工業株式会社
スクロール圧縮機、及び冷凍装置
9日前
ダイキン工業株式会社
冷凍サイクル装置および冷凍機油
16日前
ダイキン工業株式会社
冷凍サイクル装置および冷凍機油
16日前
ダイキン工業株式会社
紫外線照射装置および空気調和機
2日前
ダイキン工業株式会社
磁気ユニット、圧縮機及び冷凍装置
2日前
ダイキン工業株式会社
半導体装置及び半導体装置の製造方法
3日前
ダイキン工業株式会社
樹脂組成物、成形体、及び、相溶化剤
2日前
ダイキン工業株式会社
冷凍装置、および臭気成分の供給方法
2日前
ダイキン工業株式会社
フルオロポリマー水性分散液の製造方法
23日前
ダイキン工業株式会社
紫外線照射ユニット、及び空気調和装置
2日前
続きを見る
他の特許を見る