TOP
|
特許
|
意匠
|
商標
特許ウォッチ
Twitter
他の特許を見る
公開番号
2025167086
公報種別
公開特許公報(A)
公開日
2025-11-07
出願番号
2024071373
出願日
2024-04-25
発明の名称
磁界検出素子
出願人
株式会社マグネア
代理人
個人
,
個人
主分類
G01R
33/02 20060101AFI20251030BHJP(測定;試験)
要約
【課題】磁性ワイヤと検出コイルとの距離を狭め、感度の減衰を低減できる磁界検出素子を提供する。
【解決手段】本開示の磁界検出素子1は、溝3を有する基板2と、溝3に配置される磁性ワイヤ5と、磁性ワイヤ5を周回する検出コイル4とを備える。検出コイル4は、溝3に配置される下部コイル42と、下部コイル42に接続された上部コイル41とを有する。上部コイル41に、下部コイル42と磁性ワイヤ5との間隙sに向けて凹む凹部41aを設ける。
【選択図】図2
特許請求の範囲
【請求項1】
溝を有する基板と、前記溝に配置される磁性ワイヤと、前記磁性ワイヤを周回する検出コイルと、を備え、
前記検出コイルが、前記溝に配置される下部コイルと、前記下部コイルに接続された上部コイルと、を含み、
前記上部コイルが、前記下部コイルと前記磁性ワイヤとの間隙に向けて凹む凹部を含むことを特徴とする磁界検出素子。
続きを表示(約 290 文字)
【請求項2】
前記上部コイルが、複数の前記凹部を含み、
複数の前記凹部は、同じ深さとなるように形成された、請求項1に記載の磁界検出素子。
【請求項3】
前記上部コイルが、複数の前記凹部を含み、
一の前記凹部は、他の凹部よりも深く形成された、請求項1に記載の磁界検出素子。
【請求項4】
前記磁性ワイヤは、前記溝の中央よりも片側に寄せて配置された、請求項1に記載の磁界検出装置。
【請求項5】
前記凹部が、前記上部コイルと前記下部コイルとを接続した接続部を含む、請求項1~4の何れか一項に記載の磁界検出素子。
発明の詳細な説明
【技術分野】
【0001】
本開示は、磁界検出装置に搭載される磁界検出素子に関する。
続きを表示(約 1,600 文字)
【背景技術】
【0002】
従来、磁界検出装置に搭載される磁界検出素子が知られている。例えば、特許文献1~3には、基板に形成した溝に下部コイルを形成し、下部コイルの上に磁性ワイヤを配置し、磁性ワイヤの上に上部コイルを形成してなる磁界検出素子が紹介されている。下部コイルは上部コイルと接続され、磁性ワイヤを周回する検出コイルを構成する。
【先行技術文献】
【特許文献】
【0003】
特許第7201194号公報
特許第7207676号公報
特許第7329782号公報
【発明の概要】
【発明が解決しようとする課題】
【0004】
磁界検出装置は、磁性ワイヤの磁場応答変化が検出コイルに及ぼす影響を誘導電圧信号として取り出すものである。磁場応答変化、即ち磁界検出装置の感度は、磁性ワイヤと検出コイルとの距離の3乗に反比例して減衰する。
【0005】
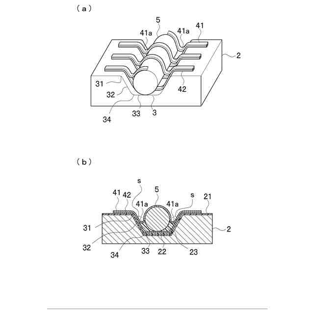
図5(a)に示すように、特許文献1~3の技術によれば、検出コイルは溝に沿って形成される。このため、図5(b)のように、磁性ワイヤ5の径が小さくなるにつれて、検出コイル4と磁性ワイヤ5との距離が大きくなり、感度の減衰が大きくなるという問題があった。一方、磁性ワイヤの径に応じて溝幅や溝の深さを変更すると、共通の基板を使用できなくなり、製造コストが増大するという問題もあった。
【0006】
そこで、本開示の目的は、磁性ワイヤと検出コイルとの距離を狭め、感度の減衰を低減できる磁界検出素子を提供することにある。
【課題を解決するための手段】
【0007】
上記課題を解決するために、本開示の磁界検出装置は、溝を有する基板と、溝に配置される磁性ワイヤと、磁性ワイヤを周回する検出コイルと、を備え、検出コイルが、溝に配置される下部コイルと、下部コイルに接続された上部コイルと、を含み、上部コイルが、下部コイルと磁性ワイヤとの間隙に向けて凹む凹部を含むことを特徴とする。
【図面の簡単な説明】
【0008】
本開示の磁界検出素子の平面図である。
磁界検出素子の要部Aの(a)拡大斜視図、(b)B-B線拡大断面図である。
凹部のバリエーションを表した断面模式図である。
磁界検出素子の製造方法を示す説明図である。
従来の磁界検出素子の断面模式図である。
【発明を実施するための形態】
【0009】
以下、本開示を磁界検出素子1に具体化した一実施形態を図面に基づいて説明する。磁界検出素子1を搭載する磁界センサは、例えば、FG(Fluxgate)センサ、MI(Magneto Impedance)センサ、GSRセンサ(登録商標)等がある。これらの磁界センサでは、磁界検出素子1は、ASIC(Application Specific Integrated Circuit)(図示なし)とは別体に設けられる。また、磁界検出素子1とASICとは、ワイヤボンディングで接合される。
【0010】
図1、図2に示すように、磁界検出素子1は、溝3を有する基板2と、外部磁界に応じて特性が変化する磁性ワイヤ5と、磁性ワイヤ5を周回する検出コイル4とを備える。また、磁界検出素子1は、磁性ワイヤ5に電気を供給するワイヤ電極7と、磁性ワイヤ5とワイヤ電極7とを電気的に接続する配線8と、検出コイル4に電気を供給するコイル電極6と、検出コイル4とコイル電極6とを電気的に接続する配線8と、溝3と磁性ワイヤ5との段差を解消する樹脂層23とを備える。樹脂層23は、ポジレジスト系の樹脂材料から形成されている。
(【0011】以降は省略されています)
この特許をJ-PlatPat(特許庁公式サイト)で参照する
関連特許
株式会社マグネア
磁界検出素子
22日前
株式会社マグネア
磁気センサシステム、磁気センサユニット、処理装置
2か月前
日本精機株式会社
検出装置
24日前
個人
採尿及び採便具
1か月前
個人
アクセサリー型テスター
1か月前
個人
高精度同時多点測定装置
1か月前
個人
計量機能付き容器
19日前
甲神電機株式会社
電流検出装置
24日前
日本精機株式会社
発光表示装置
2日前
株式会社カクマル
境界杭
9日前
株式会社ミツトヨ
測定器
1か月前
株式会社トプコン
測量装置
1日前
アズビル株式会社
電磁流量計
1か月前
大成建設株式会社
風洞実験装置
19日前
ローム株式会社
半導体装置
1か月前
双庸電子株式会社
誤配線検査装置
25日前
長崎県
形状計測方法
1か月前
個人
システム、装置及び実験方法
1か月前
日本信号株式会社
距離画像センサ
22日前
日本特殊陶業株式会社
ガスセンサ
1日前
愛知時計電機株式会社
ガスメータ
1か月前
個人
計量具及び計量機能付き容器
19日前
個人
非接触による電磁パルスの測定方法
22日前
ローム株式会社
半導体装置
1か月前
愛知電機株式会社
軸部材の外観検査装置
1か月前
日本特殊陶業株式会社
ガスセンサ
17日前
大和製衡株式会社
組合せ計量装置
1か月前
大和製衡株式会社
組合せ計量装置
1か月前
トヨタ自動車株式会社
測定システム
1か月前
株式会社タイガーカワシマ
揚穀装置
1日前
日本特殊陶業株式会社
センサ
1か月前
株式会社不二越
X線測定装置
22日前
株式会社デンソー
電流センサ
1か月前
日本特殊陶業株式会社
センサ
3日前
個人
液位検視及び品質監視システム
17日前
キーコム株式会社
画像作成システム
9日前
続きを見る
他の特許を見る