TOP
|
特許
|
意匠
|
商標
特許ウォッチ
Twitter
他の特許を見る
公開番号
2025157723
公報種別
公開特許公報(A)
公開日
2025-10-16
出願番号
2024059914
出願日
2024-04-03
発明の名称
X線測定システム
出願人
株式会社不二越
代理人
個人
,
個人
主分類
G01N
23/2055 20180101AFI20251008BHJP(測定;試験)
要約
【課題】被測定物の形状にばらつきがある場合にも容易に測定できるX線測定システムを提供する。
【解決手段】X線測定システム(1)は、X軸に沿って延在するレール部(30)と、レール部に移動可能に接続されZ軸方向に向かって被測定物(2)との距離を測定し、Z軸方向にX線を照射し被測定物を回折したX線を検出する測定部(40)とを備える。また、X線測定システムは、位置及び傾きが可変な、被測定物の一端を把持する把持部(11)と、被測定物の他端を把持する把持部(21)とを備える。また、X線測定システムは、2つの把持部のY軸方向に対する傾きと距離の測定結果とを取得し、取得した内容から位置及び傾きを決定する制御装置(50)を備える。また、制御装置は、決定した位置及び傾きになるように2つの把持部の動作を制御し、X線の照射及び検出を行うように測定部の動作を制御する。
【選択図】図1
特許請求の範囲
【請求項1】
第1方向に沿って延在するレール部と、
前記第1方向に移動可能に前記レール部に接続され、前記第1方向に垂直な第2方向に向かってばね状の被測定物との距離を測定する距離センサ、及び前記第2方向にX線を照射し前記被測定物を回折したX線を検出する検出部を有する測定部と、
位置及び傾きが可変であり、前記被測定物の一端を把持する第1把持部と、
位置及び傾きが可変であり、前記被測定物の他端を把持する第2把持部と、
前記第1把持部及び前記第2把持部の前記第2方向に対する傾き並びに前記距離センサの測定結果を取得し、取得した傾き及び測定結果から位置及び傾きを決定し、決定した位置及び傾きになるように前記第1把持部及び前記第2把持部の動作を制御し、X線の照射及び検出を行うように前記検出部の動作を制御する制御装置と、
を備えるX線測定システム。
続きを表示(約 520 文字)
【請求項2】
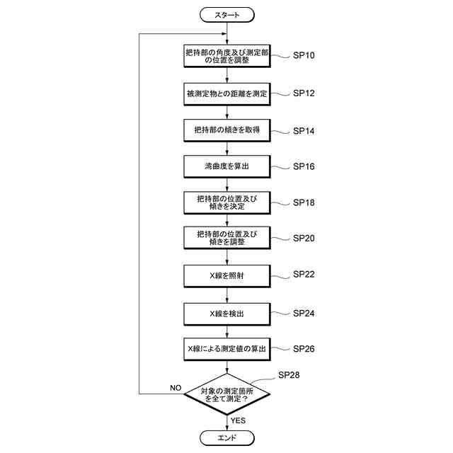
前記制御装置は、取得した傾き及び測定結果から前記被測定物の胴曲がりの程度を示す湾曲度を算出し、算出した湾曲度から前記位置及び傾きを決定する請求項1に記載のX線測定システム。
【請求項3】
前記制御装置は、前記被測定物の一端から他端までに定められている複数の測定箇所に対して、前記傾き及び前記測定結果の取得、前記位置及び前記傾きの決定、並びにX線の照射及び検出を含む測定工程を実行するように、前記第1把持部、前記第2把持部及び前記測定部の動作を制御する請求項2に記載のX線測定システム。
【請求項4】
前記制御装置は、前記測定工程において、前記被測定物の前記測定箇所が前記測定部に向かうように、把持面の法線方向を回転軸として回転させるように前記第1把持部及び前記第2把持部の動作を制御し、前記測定部の移動の動作を制御する請求項3に記載のX線測定システム。
【請求項5】
前記第1把持部は、多関節型の第1アームの先端に設けられており、
前記第2把持部は、前記第1アームと異なる多関節型の第2アームの先端に設けられている請求項1~4のいずれか一項に記載のX線測定システム。
発明の詳細な説明
【技術分野】
【0001】
本発明は、X線測定システムに関する。
続きを表示(約 1,400 文字)
【背景技術】
【0002】
従来から、X線の回折現象を利用して被測定物の残留応力や半価幅、残留オーステナイト量等を測定するX線測定システムが知られている。
【0003】
これに関し、特許文献1には、コイルばねの両端が軸上に位置するように保持する保持治具と、保持治具に保持されたコイルばねの表面形状を計測可能な非接触式変位計とを備えるばねの形状測定装置が開示されている。また、特許文献1には、ばねの形状測定装置が、非接触式変位計をコイルばねの軸方向に沿って直線移動させると共にコイルばねの前記軸周りをコイルばねに対して相対的に回転させる相対位置調整機構をさらに備えることが開示されている。
【先行技術文献】
【特許文献】
【0004】
特許第6613128号公報
【発明の概要】
【発明が解決しようとする課題】
【0005】
しかしながら、特許文献1に記載の技術では、ばね状の被測定物が曲がっている可能性を何ら考慮していなかった。したがって、特許文献1に記載の技術では、被測定物が曲がっているなど形状のばらつきがある場合、被測定物の測定に誤差がでてしまうという問題があった。
【0006】
本発明はこのような問題に鑑みてなされたものであり、その目的は、被測定物の形状にばらつきがある場合にも容易に測定できるX線測定システムを提供することにある。
【課題を解決するための手段】
【0007】
上記課題を解決するために、本発明のセンサシステムは、第1方向に沿って延在するレール部と、前記第1方向に移動可能に前記レール部に接続され、前記第1方向に垂直な第2方向に向かってばね状の被測定物との距離を測定する距離センサ、及び前記第2方向にX線を照射し前記被測定物を回折したX線を検出する検出部を有する測定部と、位置及び傾きが可変であり、前記被測定物の一端を把持する第1把持部と、位置及び傾きが可変であり、前記被測定物の他端を把持する第2把持部と、前記第1把持部及び前記第2把持部の前記第2方向に対する傾き並びに前記距離センサの測定結果を取得し、取得した傾き及び測定結果から位置及び傾きを決定し、決定した位置及び傾きになるように前記第1把持部及び前記第2把持部の動作を制御し、X線の照射及び検出を行うように前記検出部の動作を制御する制御装置と、を備える。
【0008】
また、前記制御装置は、取得した傾き及び測定結果から前記被測定物の胴曲がりの程度を示す湾曲度を算出し、算出した湾曲度から前記位置及び傾きを決定する。
【0009】
また、前記制御装置は、前記被測定物の一端から他端までに定められている複数の測定箇所に対して、前記傾き及び前記測定結果の取得、前記位置及び前記傾きの決定、並びにX線の照射及び検出を含む測定工程を実行するように、前記第1把持部、前記第2把持部及び前記測定部の動作を制御する。
【0010】
また、前記制御装置は、前記測定工程において、前記被測定物の前記測定箇所が前記測定部に向かうように、把持面の法線方向を回転軸として回転させるように前記第1把持部及び前記第2把持部の動作を制御し、前記測定部の移動の動作を制御する。
(【0011】以降は省略されています)
この特許をJ-PlatPat(特許庁公式サイト)で参照する
関連特許
株式会社不二越
硬質材料
1か月前
株式会社不二越
ロボット
18日前
株式会社不二越
ブローチ盤
1か月前
株式会社不二越
アクチュエータ
1か月前
株式会社不二越
熱処理システム
1か月前
株式会社不二越
エッジ仕上げ装置
1か月前
株式会社不二越
X線測定システム
4日前
株式会社不二越
X線測定システム
5日前
株式会社不二越
ロボット操作装置
1か月前
株式会社不二越
ノンリーク三方弁
21日前
株式会社不二越
ロボットシステム
1か月前
株式会社不二越
ロボットシステム
1か月前
株式会社不二越
スカイビング加工機
1か月前
株式会社不二越
垂直多関節ロボット
1か月前
株式会社不二越
スカイビング加工機
1か月前
株式会社不二越
複合アクチュエータ
21日前
株式会社不二越
移動ロボットシステム
21日前
株式会社不二越
斜板式ピストンポンプ
12日前
株式会社不二越
ロボットに用いる伝送路
3日前
株式会社不二越
可変容量制御ピストンポンプ
21日前
株式会社不二越
X線回折測定装置及びプログラム
21日前
株式会社不二越
センサ及びセンサを備えるロボット
1か月前
株式会社不二越
データ修復機能を有する回路システム
1か月前
株式会社不二越
マルテンサイト系ステンレス鋼焼結体
1か月前
株式会社不二越
センサシステム及びロボットシステム
3日前
株式会社不二越
歯車加工用合金鋼およびそれを用いた歯車
1か月前
個人
メジャー文具
13日前
個人
高精度同時多点測定装置
5日前
個人
アクセサリー型テスター
6日前
ユニパルス株式会社
ロードセル
12日前
日本精機株式会社
位置検出装置
19日前
日本精機株式会社
位置検出装置
19日前
日本精機株式会社
位置検出装置
19日前
大和製衡株式会社
組合せ秤
24日前
大和製衡株式会社
組合せ秤
24日前
アズビル株式会社
圧力センサ
18日前
続きを見る
他の特許を見る