TOP
|
特許
|
意匠
|
商標
特許ウォッチ
Twitter
他の特許を見る
公開番号
2025174190
公報種別
公開特許公報(A)
公開日
2025-11-28
出願番号
2024080319
出願日
2024-05-16
発明の名称
揚穀装置
出願人
株式会社タイガーカワシマ
代理人
個人
主分類
G01G
13/06 20060101AFI20251120BHJP(測定;試験)
要約
【課題】フレキシブルコンテナバッグに穀粒を正確な重量で充填することができる揚穀装置を提供する。
【解決手段】揚穀装置は、穀粒を揚穀してフレキシブルコンテナバッグの袋詰め装置へと排出するための揚穀装置である。該揚穀装置は、投入された穀粒を上方に搬送する揚穀手段と、揚穀した穀粒を袋詰め装置へと排出する排出管と、排出管に設けられた排出シャッターについて、少なくとも閉鎖動作を制御する制御部とを備える。制御部は、フレキシブルコンテナバッグへの穀粒の充填が所定量で停止するよう、穀粒の充填速度に応じたタイミングで排出シャッターを閉じる。
【選択図】図1
特許請求の範囲
【請求項1】
穀粒を揚穀してフレキシブルコンテナバッグの袋詰め装置へと排出するための揚穀装置であって、
該揚穀装置は、
投入された穀粒を上方に搬送する揚穀手段と、
前記揚穀手段が揚穀した穀粒を前記袋詰め装置へと排出する排出管と、
前記排出管に設けられた排出シャッターの、少なくとも閉鎖動作を制御する制御部と
を備え、
前記制御部は、前記フレキシブルコンテナバッグへの穀粒の充填が所定量で停止するよう、穀粒の充填速度に応じたタイミングで前記排出シャッターを閉じることを特徴とする揚穀装置。
続きを表示(約 790 文字)
【請求項2】
前記袋詰め装置は、前記フレキシブルコンテナバッグに充填される穀粒の充填量を計量し、当該充填量を表す信号を出力する計量手段を備え、
前記制御部は、前記計量手段からの充填量を表す信号に基づき前記フレキシブルコンテナバッグへの穀粒の充填速度を計算し、前記フレキシブルコンテナバッグへの穀粒の充填が所定量で停止するよう、前記充填速度に応じたタイミングで前記排出シャッターを閉じることを特徴とする、請求項1に記載の揚穀装置。
【請求項3】
前記排出シャッターは前記排出管の先端に設けられることを特徴とする、請求項1に記載の揚穀装置。
【請求項4】
該揚穀装置は、
前記排出管から分岐した副送出流路と、
前記副送出流路を経た穀粒を貯留する貯留用ホッパーと
をさらに備え、
前記制御部は、前記排出シャッターを閉じる際に、併せて前記貯留用ホッパーと揚穀筒体との間に設けられる貯留シャッターを閉じて、前記副送出流路を経た穀粒が前記貯留用ホッパー内に一時貯蔵されるよう制御することを特徴とする請求項1に記載の揚穀装置。
【請求項5】
前記排出シャッターと前記貯留シャッターとは、共通のシャッターレバーに連結され、当該シャッターレバーの操作に応じて連動して開放することを特徴とする請求項4に記載の揚穀装置。
【請求項6】
前記排出管の斜面に設けられ、前記揚穀手段により揚穀されて当該斜面を滑り落ちる穀粒の一部を斜面側方に導く整流板と、
前記排出管の内側面に設けられ、前記整流板により導かれた穀粒を取り込むサンプリング排出口と
をさらに備え、
前記サンプリング排出口に取り込まれた穀粒がオートサンプル器に供給されることを特徴とする請求項1に記載の揚穀装置。
発明の詳細な説明
【技術分野】
【0001】
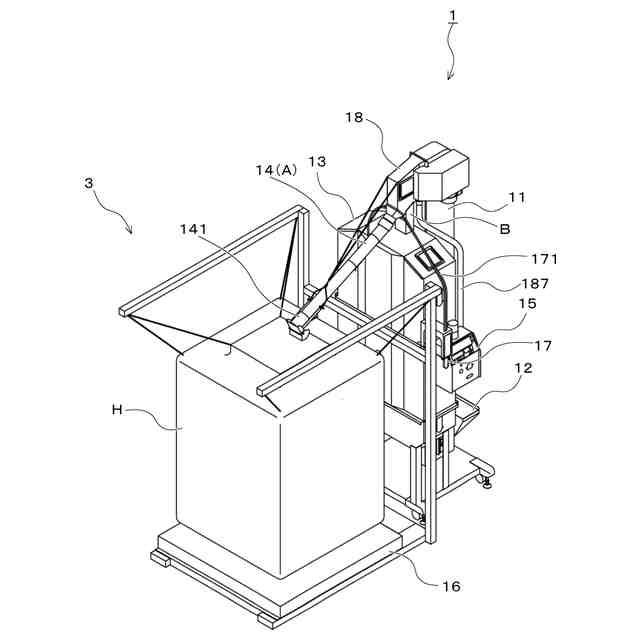
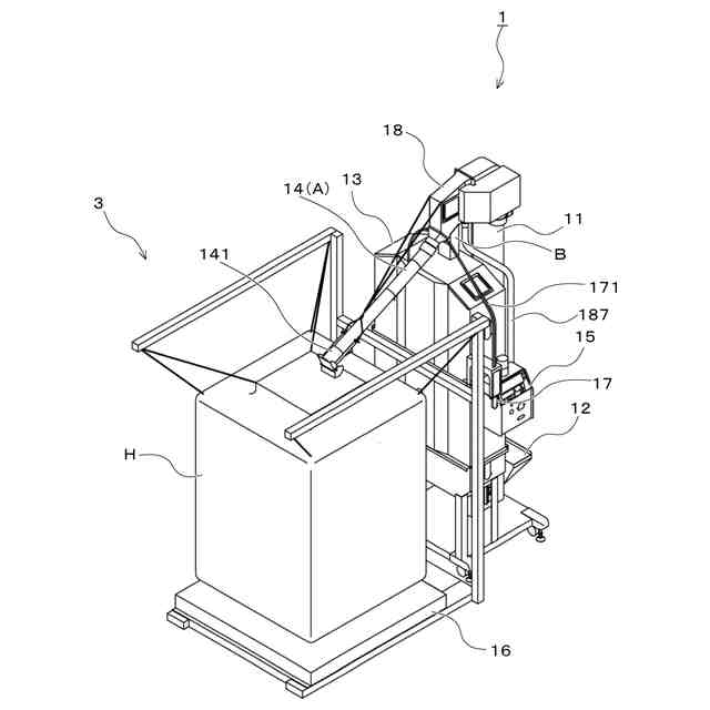
本発明は、投入される穀粒を揚穀してフレキシブルコンテナバッグの袋詰め装置へと排出するための揚穀装置に関し、特に、フレキシブルコンテナバッグに穀粒を正確な重量で充填することができる揚穀装置に関する。
続きを表示(約 2,000 文字)
【背景技術】
【0002】
従来から、穀物や土砂などの粉粒状物を梱包・輸送するためにフレキシブルコンテナバッグと呼ばれる袋状体が用いられている。穀物に限って言えば、特に、小さな農家にとっては、通常、30kgの穀物専用の梱包袋を用いるのが多いが、処理効率の観点から、収容量が1トン程度の大型のフレキシブルコンテナバッグを用いるシステムも存在していた。しかしながら、これらの大型の揚穀機においては、フレキシブルコンテナバッグの下に計量機を配置し、フレキシブルコンテナバッグの上には大型のホッパーを配置し、その上から昇降機で揚穀した穀粒を落とし入れるために、全体の高さが4m近くから5mに達する装置もあった。
【0003】
例えば、特許文献1においては、内部にバケットなどの揚穀手段を内蔵する竪型の揚穀筒体と、この揚穀筒体の背面側に位置して米穀等の穀粒を受け入れる供給ホッパーと、揚穀された穀粒を一時的に貯留するための貯留タンクと、貯留タンクの下方に設置された計量機を備えた揚穀計量機が開示されている。
【0004】
この種の揚穀計量機は、精米機や選別機等と組み合わせて用いられることが多く、例えば、選別機により選別された穀粒(整粒)を計量袋詰めする場合には、選別機で選別した穀粒(整粒)が供給ホッパーに供給され、この供給ホッパーから揚穀筒体内に供給される穀粒(整粒)を揚穀手段により上方の貯留タンクへと移送し、貯留タンク内に一時的に貯留する。そして、袋への穀粒の袋詰めは、袋を計量機上に載置し、計量機で計測した袋詰めした穀粒の重量によって貯留タンクの排出管に設けられたシャッターを開閉制御し、所定量の穀粒の計量袋詰めを行なっている。
【0005】
また、特許文献2には、1トンの籾類を計量して袋詰めすることが可能なホッパー装置が提案されている。このホッパー装置は、集積用ホッパーの落下口の下方に計量ホッパーを設け、この計量ホッパーを計量手段としてロードセルを介して吊下げ、集積用ホッパーの背面に揚穀手段としてバケットコンベアを配置している。そして、袋詰めする際、バケットコンベアの下部に設けた供給用ホッパーに籾を供給し、バケットコンベアによって集積用ホッパーへと揚穀して集積用ホッパーに一時的に貯留し、集積用ホッパーの排出管に設けられたシャッターを開閉制御し、集積用ホッパーから計量ホッパーに供給した籾の重量をロードセルで計測し、設定重量に達したときに計量ホッパーの排出管に設けたシャッターを閉じるように構成している。
【先行技術文献】
【特許文献】
【0006】
特開2000-198521号公報
特開2004-155591号公報
【発明の概要】
【発明が解決しようとする課題】
【0007】
各特許文献で開示されている装置では、計量機で計測した袋詰めした穀粒の重量が設定重量に達したときにシャッターを閉じるようにしている。しかし、シャッターが閉じた時点でシャッターを通過しており、且つ、未だ袋に入っていない落下中の穀粒は、計量機での測定値に重量が反映されておらず、最終的に袋詰めされる穀粒の重量は、設定重量よりも重くなってしまう。予め落下中の穀粒の重量を考慮して設定重量を軽くしておくことも考えられるが、落下中の穀粒の重量は穀粒の充填速度に応じて変化し、常に一定というわけではないため、フレキシブルコンテナバッグに穀粒を正確な重量で充填することは困難であった。
【0008】
そこで本発明は、上記課題に着目してなされたものであり、フレキシブルコンテナバッグに穀粒を正確な重量で充填することができる揚穀装置を提供することを目的とする。
【課題を解決するための手段】
【0009】
上記の課題を解決すべく、本発明の実施形態に係る揚穀装置は、穀粒を揚穀してフレキシブルコンテナバッグの袋詰め装置へと排出するための揚穀装置である。該揚穀装置は、投入された穀粒を上方に搬送する揚穀手段と、揚穀した穀粒を袋詰め装置へと排出する排出管と、排出管に設けられた排出シャッターについて、少なくとも閉鎖動作を制御する制御部とを備える。制御部は、フレキシブルコンテナバッグへの穀粒の充填が所定量で停止するよう、穀粒の充填速度に応じたタイミングで排出シャッターを閉じることを特徴とする。
【0010】
本発明では、袋詰め装置は、フレキシブルコンテナバッグに充填される穀粒の充填量を計量し、当該充填量を表す信号を出力する計量手段を備えるとよい。また、制御部は、計量手段からの充填量を表す信号に基づきフレキシブルコンテナバッグへの穀粒の充填速度を計算し、フレキシブルコンテナバッグへの穀粒の充填が所定量で停止するよう、充填速度に応じたタイミングで排出シャッターを閉じるとよい。
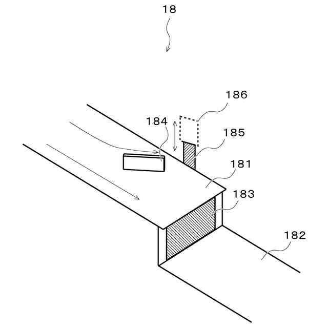
(【0011】以降は省略されています)
この特許をJ-PlatPat(特許庁公式サイト)で参照する
関連特許
日本精機株式会社
検出装置
23日前
個人
採尿及び採便具
29日前
個人
高精度同時多点測定装置
1か月前
個人
計量機能付き容器
18日前
個人
アクセサリー型テスター
1か月前
甲神電機株式会社
電流検出装置
23日前
日本精機株式会社
発光表示装置
1日前
株式会社ミツトヨ
測定器
1か月前
株式会社カクマル
境界杭
8日前
株式会社トプコン
測量装置
今日
アズビル株式会社
電磁流量計
1か月前
大成建設株式会社
風洞実験装置
18日前
ダイキン工業株式会社
監視装置
1か月前
愛知電機株式会社
軸部材の外観検査装置
1か月前
日本特殊陶業株式会社
ガスセンサ
今日
大和製衡株式会社
組合せ計量装置
1か月前
大和製衡株式会社
組合せ計量装置
1か月前
日本特殊陶業株式会社
ガスセンサ
16日前
ローム株式会社
半導体装置
1か月前
長崎県
形状計測方法
1か月前
個人
計量具及び計量機能付き容器
18日前
愛知時計電機株式会社
ガスメータ
1か月前
日本信号株式会社
距離画像センサ
21日前
双庸電子株式会社
誤配線検査装置
24日前
個人
非接触による電磁パルスの測定方法
21日前
ローム株式会社
半導体装置
1か月前
個人
システム、装置及び実験方法
1か月前
キーコム株式会社
画像作成システム
8日前
株式会社タイガーカワシマ
揚穀装置
今日
株式会社不二越
X線測定装置
21日前
中国電力株式会社
電柱管理システム
1か月前
株式会社デンソー
電流センサ
1か月前
日本特殊陶業株式会社
センサ
1か月前
日本特殊陶業株式会社
センサ
1か月前
日本特殊陶業株式会社
センサ
1か月前
個人
液位検視及び品質監視システム
16日前
続きを見る
他の特許を見る