TOP
|
特許
|
意匠
|
商標
特許ウォッチ
Twitter
他の特許を見る
10個以上の画像は省略されています。
公開番号
2025160973
公報種別
公開特許公報(A)
公開日
2025-10-24
出願番号
2024063755
出願日
2024-04-11
発明の名称
ガスメータ
出願人
愛知時計電機株式会社
代理人
個人
主分類
G01F
3/22 20060101AFI20251017BHJP(測定;試験)
要約
【課題】ガスメータでのガスの圧力損失を低減できる技術を提供する。
【解決手段】ガスメータは、計測対象となるガスが流通する管状の計測流路部と、前記計測流路部内に超音波を照射して前記計測流路部を流れる前記ガスの流量を計測する流量計測部と、前記計測流路部の入口が配置され、前記ガスを前記計測流路部の入口へと誘導するためのバッファ室と、前記バッファ室へと前記ガスを導く流路を構成する上流側流路部と、前記バッファ室を前記中心軸方向に見たときに、前記計測流路部の入口の外側の領域において、前記計測流路部の入口の周囲にある前記バッファ室の内壁面から突出しており、前記中心軸方向に直交する方向から見たときに、前記計測流路部の入口の前方の領域において前記計測流路部の入口側へと延在している部位を有する、少なくとも1つの誘導壁部と、を備える。
【選択図】図3
特許請求の範囲
【請求項1】
ガスメータであって、
計測対象となるガスが流通する管状の計測流路部と、
前記計測流路部内に超音波を照射して前記計測流路部を流れる前記ガスの流量を計測する流量計測部と、
前記計測流路部の入口が配置され、前記ガスを前記計測流路部の入口へと誘導するためのバッファ室と、
前記バッファ室へと前記ガスを導く流路を構成し、前記バッファ室を前記計測流路部の入口の中心軸方向に見たときに、前記中心軸からずれた前記バッファ室の端の領域に、前記中心軸方向に直交する方向から接続されている上流側流路部と、
前記バッファ室を前記中心軸方向に見たときに、前記計測流路部の入口の外側の領域において、前記計測流路部の入口の周囲にある前記バッファ室の内壁面から突出しており、前記中心軸方向に直交する方向から見たときに、前記計測流路部の入口の前方の領域において前記計測流路部の入口側へと延在している部位を有する、少なくとも1つの誘導壁部と、
を備える、ガスメータ。
続きを表示(約 1,600 文字)
【請求項2】
請求項1記載のガスメータであって、
前記バッファ室を前記中心軸方向に見たときに、複数の前記誘導壁部が前記計測流路部の入口の周りに形成されている、ガスメータ。
【請求項3】
請求項1記載のガスメータであっって、
前記計測流路部の入口は、前記バッファ室の内壁面から前記中心軸方向に突出した位置に配置されており、
前記誘導壁部は、前記中心軸方向に直交する方向に見たときに、前記計測流路部の入口の前方の領域から後方の領域まで延在している、ガスメータ。
【請求項4】
請求項1から請求項3のいずれか一項に記載のガスメータであって、
前記誘導壁部は、前記上流側流路部が接続された前記バッファ室の入口において、前記上流側流路部の出口に面するように突出している入口誘導壁部を含む、ガスメータ。
【請求項5】
請求項1から請求項3のいずれか一項に記載のガスメータであって、
前記バッファ室の内壁面は、前記バッファ室を前記中心軸方向に見たときに、前記上流側流路部が接続された前記バッファ室の入口から、前記上流側流路部が前記バッファ室に接続する接続方向に沿った方向へと延在し、前記計測流路部の入口の側方に位置する側方壁面を含み、
前記誘導壁部は、前記側方壁面から前記計測流路部の入口の方へと突出している側方誘導壁部を含む、ガスメータ。
【請求項6】
請求項1から請求項3のいずれか一項に記載のガスメータであって、
前記バッファ室の内壁面は、前記バッファ室を前記中心軸方向に見たときに、前記計測流路部の入口を挟んで、前記上流側流路部が接続された前記バッファ室の入口に対向する位置にある奥方壁面を含み、
前記誘導壁部は、前記奥方壁面から前記計測流路部の入口の方へと突出している奥方誘導壁部を含む、ガスメータ。
【請求項7】
請求項1から請求項3のいずれか一項に記載のガスメータであって、
前記バッファ室の内壁面は、前記バッファ室を前記中心軸方向に見たときに、前記上流側流路部が接続された前記バッファ室の入口から、前記上流側流路部が前記バッファ室に接続する接続方向に沿った方向へと延在し、前記計測流路部の入口の側方に位置する側方壁面と、前記計測流路部の入口を挟んで、前記側方壁面と対向する反対側側方壁面と、を含み、
前記誘導壁部は、前記反対側側方壁面から前記計測流路部の入口の方へと突出している反対側側方誘導壁部を含む、ガスメータ。
【請求項8】
請求項2または請求項3記載のガスメータであって、
前記バッファ室の内壁面は、前記バッファ室を前記中心軸方向に見たときに、前記バッファ室の入口から、前記上流側流路部が前記バッファ室に接続する接続方向に沿った方向へと延在し、前記計測流路部の入口の側方に位置する側方壁面と、前記計測流路部の入口を挟んで、前記バッファ室の入口に対向する位置にある奥方壁面と、を含み、
前記誘導壁部は、
前記上流側流路部が接続された前記バッファ室の入口において、前記上流側流路部の出口に面するように突出している入口誘導壁部と、
前記側方壁面から前記計測流路部の入口の方へと突出している側方誘導壁部と、
前記奥方壁面から前記計測流路部の入口の方へと突出している奥方誘導壁部と、
を備える、ガスメータ。
【請求項9】
請求項8記載のガスメータであって、
前記バッファ室の内壁面は、さらに、前記バッファ室を前記中心軸方向に見たときに、前記計測流路部の入口を挟んで、前記側方壁面と対向する反対側側方壁面を含み、
前記誘導流路は、さらに、前記反対側側方壁面から前記計測流路部の入口の方へと突出している反対側側方誘導壁部を含む、ガスメータ。
発明の詳細な説明
【技術分野】
【0001】
本開示の技術は、ガスメータに関する。
続きを表示(約 2,300 文字)
【背景技術】
【0002】
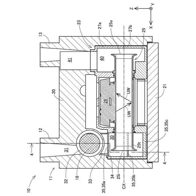
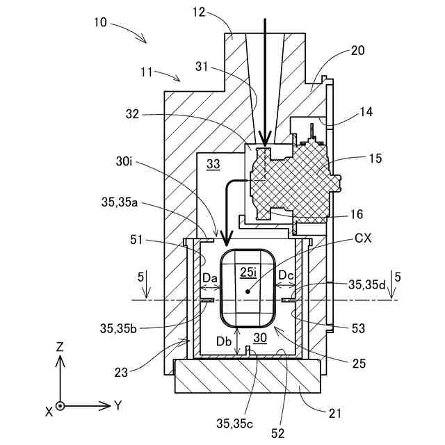
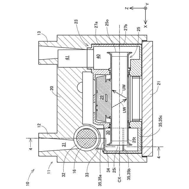
ガスメータとしては、超音波を利用してガスの流量を計測する超音波式ガスメータが知られている。以下では、単に「ガスメータ」と呼ぶときは、超音波式ガスメータを意味するものとする。ガスメータは、通常、計測対象であるガスを流通させる管状の計測流路部を有しており、ガスが流れている計測流路部内に超音波を照射して、超音波を送信してから受信するまでに要した時間を計測することにより、ガスの流量を計測する。
【0003】
従来から、ガスメータでは、内部のガス流路の構造に関して様々な工夫がなされてきた。例えば、下記の特許文献1,2では、計測精度の低下の原因となる計測流路部内でのガスの乱流の発生が抑制されるように、計測流路部の入口や出口の手前で、ガスの流れを略S字状に屈曲させて折り返させるガス流路の構成が採用されている。また、下記の特許文献3では、計測流路部の入口や出口でガスを整流できるように、計測流路部の入口と出口のそれぞれに対向する壁面に、計測流路部の方へと突出する突起部を形成している。
【先行技術文献】
【特許文献】
【0004】
特開2006-17499号公報
特開2007-10414号公報
特開2008-232942号公報
【発明の概要】
【発明が解決しようとする課題】
【0005】
しかしながら、上記の特許文献1,2の技術では、計測流路部の手前でガスの流れを略S字状に折り返させている分だけ、ガスの流路が長くなるため、ガスの圧力損失が増大する可能性があった。また、上記の特許文献3の技術では、計測流路部の入口の手前に設けた突起部が、計測流路部の入口近傍でのガスの流路を狭めたり、ガスの流れ方向を屈曲させたりして、計測流路部に流入するときのガスの圧力損失を増大させる方向に働く可能性があった。このように、従来のガスメータにおいては、計測流路部に流入するときのガスの圧力損失を低減することにより、ガスメータでのガスの圧力損失を低減することにいついて、依然として改良の余地があった。
【課題を解決するための手段】
【0006】
本開示の技術は、以下の形態として実現することが可能である。
【0007】
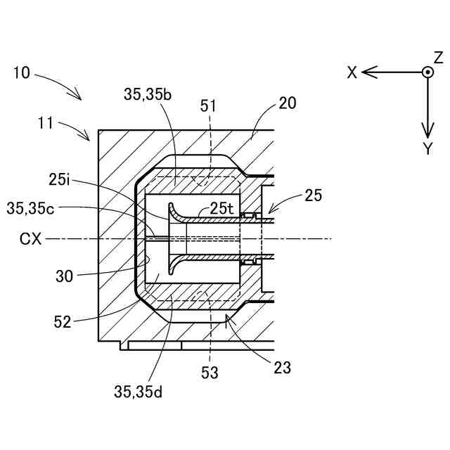
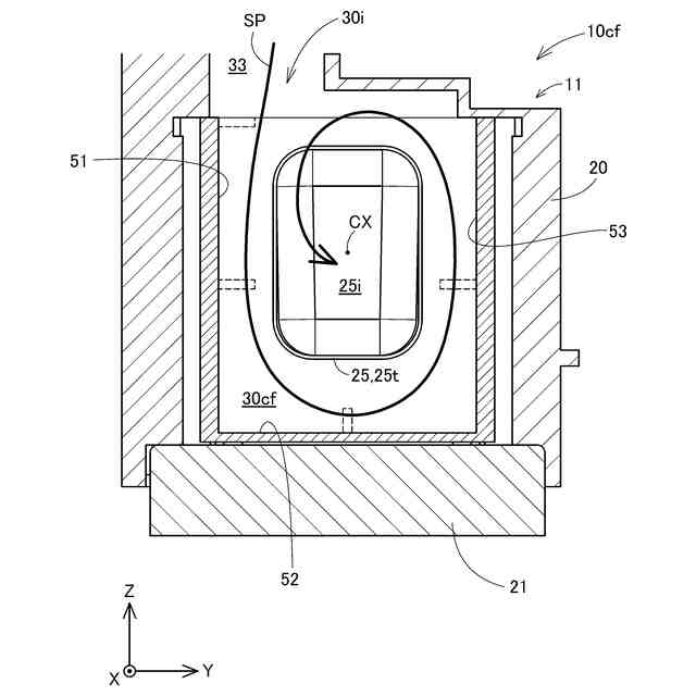
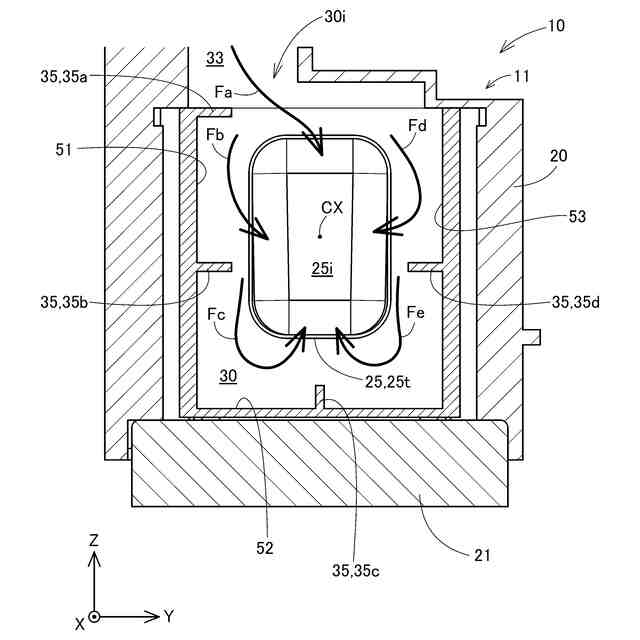
[第1形態]第1形態は、ガスメータとして提供される。第1形態のガスメータは、計測対象となるガスが流通する管状の計測流路部と、前記計測流路部内に超音波を照射して前記計測流路部を流れる前記ガスの流量を計測する流量計測部と、前記計測流路部の入口が配置され、前記ガスを前記計測流路部の入口へと誘導するためのバッファ室と、前記バッファ室へと前記ガスを導く流路を構成し、前記バッファ室を前記計測流路部の入口の中心軸方向に見たときに、前記中心軸からずれた前記バッファ室の端の領域に、前記中心軸方向に直交する方向から接続されている上流側流路部と、前記バッファ室を前記中心軸方向に見たときに、前記計測流路部の入口の外側の領域において、前記計測流路部の入口の周囲にある前記バッファ室の内壁面から突出しており、前記中心軸方向に直交する方向から見たときに、前記計測流路部の入口の手前の領域において前記計測流路部の入口側へと延在している部位を有する、少なくとも1つの誘導壁部と、を備える。
第1形態のガスメータによれば、計測流路部の入口の周りのバッファ室の内壁面に設けられた誘導壁部によって、計測流路部の入口へとガスを誘導できるため、計測流路部に流入するガスの流れを円滑化することができる。よって、計測流路部に流入するときのガスの圧力損失を低減でき、ガスメータでのガスの圧力損失を低減することができる。
【0008】
[第2形態]上記第1形態に記載のガスメータにおいて、前記バッファ室を前記中心軸方向に見たときに、複数の前記誘導壁部が前記計測流路部の入口の周りに形成されていてもよい。
第2形態のガスメータによれば、計測流路部の入口の周りの複数の誘導壁部によって、バッファ室から計測流路部の入口へとガスの経路を増加させるができ、計測流路部の入口へのガスの流入をさらに円滑化することができる。よって、ガスメータでのガスの圧力損失を、さらに低減することができる。
【0009】
[第3形態]上記第1形態、または、第2形態に記載のガスメータにおいて、前記計測流路部の入口は、前記バッファ室の内壁面から前記中心軸方向に突出した位置に配置されており、前記誘導壁部は、前記中心軸方向に直交する方向に見たときに、前記計測流路部の入口の前方の領域から後方の領域まで延在していてよい。
第3形態のガスメータによれば、誘導壁部によって、計測流路部の入口の周りのガスを計測流路部の入口へとより誘導しやすくなる。よって、ガスメータでのガスの圧力損失を、さらに低減することができる。
【0010】
[第4形態]上記第1形態、第2形態、および、第3形態のいずれか1つに記載のガスメータにおいて、前記誘導壁部は、前記上流側流路部が接続された前記バッファ室の入口において、前記上流側流路部の出口に面するように突出している入口誘導壁部を含んでいてもよい。
第4形態のガスメータによれば、入口誘導壁部によって、バッファ室の入口から計測流路部の入口の方へと向かうガスの流れを形成することができ、計測流路部の入口へと流入するガスの流れをさらに円滑にすることができる。
(【0011】以降は省略されています)
この特許をJ-PlatPat(特許庁公式サイト)で参照する
関連特許
愛知時計電機株式会社
ガスメータ
1か月前
個人
視触覚センサ
4日前
日本精機株式会社
検出装置
1か月前
個人
採尿及び採便具
1か月前
個人
計量機能付き容器
29日前
甲神電機株式会社
電流検出装置
1か月前
株式会社ミツトヨ
測定器
1か月前
日本精機株式会社
発光表示装置
12日前
愛知電機株式会社
外観検査装置
今日
愛知電機株式会社
外観検査方法
今日
株式会社カクマル
境界杭
19日前
ユニパルス株式会社
トルク変換器
4日前
株式会社トプコン
測量装置
11日前
ユニパルス株式会社
トルク変換器
4日前
ユニパルス株式会社
トルク変換器
4日前
アズビル株式会社
電磁流量計
1か月前
大成建設株式会社
風洞実験装置
29日前
日本信号株式会社
距離画像センサ
1か月前
日本特殊陶業株式会社
ガスセンサ
27日前
日本特殊陶業株式会社
ガスセンサ
5日前
愛知時計電機株式会社
ガスメータ
1か月前
個人
システム、装置及び実験方法
1か月前
日本特殊陶業株式会社
ガスセンサ
11日前
日本特殊陶業株式会社
ガスセンサ
4日前
個人
非接触による電磁パルスの測定方法
1か月前
大和製衡株式会社
組合せ計量装置
1か月前
愛知電機株式会社
軸部材の外観検査装置
1か月前
個人
計量具及び計量機能付き容器
29日前
双庸電子株式会社
誤配線検査装置
1か月前
大和製衡株式会社
組合せ計量装置
1か月前
日東精工株式会社
振動波形検査装置
1か月前
キーコム株式会社
画像作成システム
19日前
本陣水越株式会社
車載式計測標的物
6日前
個人
液位検視及び品質監視システム
27日前
日置電機株式会社
絶縁抵抗測定装置
4日前
株式会社不二越
X線測定装置
1か月前
続きを見る
他の特許を見る