TOP
|
特許
|
意匠
|
商標
特許ウォッチ
Twitter
他の特許を見る
公開番号
2025177177
公報種別
公開特許公報(A)
公開日
2025-12-05
出願番号
2024083769
出願日
2024-05-23
発明の名称
トルク変換器
出願人
ユニパルス株式会社
代理人
主分類
G01L
3/10 20060101AFI20251128BHJP(測定;試験)
要約
【課題】回転部が高速で回転した際においても、回転部と固定部との通信を安定して行うことができるトルク変換器を提供することを課題としている。
【解決手段】略円柱形の回転部3と固定部2とを有し、固定部2と回転部3とが所定の間隔にて配置されて、回転部3に作用するトルクを電気量に変換するトルク変換器1であって、固定部2は、回転部3で検出して送信したトルク値を受信する受信部10と、回転部3の回転速度を検出する回転速度検出部8と、回転部3に設けられた受電部5と対で変圧器を構成して非接触で回転部3へ電力を供給する送電部7と、を備え、回転速度検出部8は、回転部3の軸方向に送電部7と受信部10との間に配置され、送電部7は少なくとも軸方向の側面が導電性部材で囲まれている。
【選択図】図3
特許請求の範囲
【請求項1】
略円柱形の回転部と固定部とを有し、前記固定部と前記回転部とが所定の間隔にて配置されて、前記回転部に作用するトルクを電気量に変換するトルク変換器であって、
前記固定部は、
前記回転部で検出して送信したトルク値を受信する受信部と、
前記回転部の回転速度を検出する回転速度検出部と、
前記回転部に設けられた受電部と対で変圧器を構成して非接触で前記回転部へ電力を供給する送電部と、を備え、
前記回転速度検出部は、前記回転部の軸方向に前記送電部と前記受信部との間に配置され、
前記送電部は少なくとも前記軸方向の側面が導電性部材で囲まれているトルク変換器。
続きを表示(約 60 文字)
【請求項2】
前記送電部及び前記受信部は前記導電性部材上に載置されている請求項1に記載のトルク変換器。
発明の詳細な説明
【技術分野】
【0001】
本発明は、トルクを測定して電気信号に変換するトルク変換器に関するものである。
続きを表示(約 1,300 文字)
【背景技術】
【0002】
従来、高速回転する自動車の車輪等に生じるトルクを測定する測定器としては、両端に接続用のフランジ部を有し、このフランジ間に円筒状の起歪部を連結する構造のトルク変換器が公知である。このトルク変換器は、被測定物を連結して一緒に回転する回転部と、回転部からのトルク信号を受信して測定値を出力する固定部とを備える。
【先行技術文献】
【特許文献】
【0003】
特開2020ー020582号公報
【発明の概要】
【発明が解決しようとする課題】
【0004】
この回転部から固定部へのトルクの信号は無線によって送信される。したがって回転部にはトルクを検出してトルクの信号を固定部に送信するための回路が内蔵されている。すると回転部には何らかの手段で電源が供給される必要があるが、電池を回転部に内蔵すると交換や充電の必要が生じる。そこで回転部と固定部で変圧トランスを構成して非接触で送電する方法が採用されている。しかし固定部に配置される変圧器の送電コイルがノイズ源となって、高速で回転している回転部からのトルクの信号を安定して受信することに改善の余地があった。
【0005】
このような問題に鑑みて、本発明は、通信の安定性の向上を図ったトルク変換器を提供することを目的としている。
【課題を解決するための手段】
【0006】
本発明のトルク変換器は、
略円柱形の回転部と固定部とを有し、固定部と回転部とが所定の間隔にて配置されて、回転部に作用するトルクを電気量に変換するトルク変換器であって、
固定部は、
回転部で検出して送信したトルク値を受信する受信部と、
回転部の回転速度を検出する回転速度検出部と、
回転部に設けられた受電部と対で変圧器を構成して非接触で回転部へ電力を供給する送電部と、を備え、
回転速度検出部は、回転部の軸方向に送電部と受信部との間に配置され、
送電部は少なくとも軸方向の側面が導電性部材で囲まれて構成されている。
【0007】
また、送電部及び受信部は導電性部材上に載置されている。
【発明の効果】
【0008】
本発明によれば、回転部が高速で回転した際においても、回転部と固定部との通信を安定して行うことができるトルク変換器を提供することができる。
【図面の簡単な説明】
【0009】
本発明の実施形態に係るトルク変換器の斜視外観図である。
本発明の実施形態に係るトルク変換器の平面図(a)、固定部のみの平面図(b)、固定部のみの斜視図(c)である。
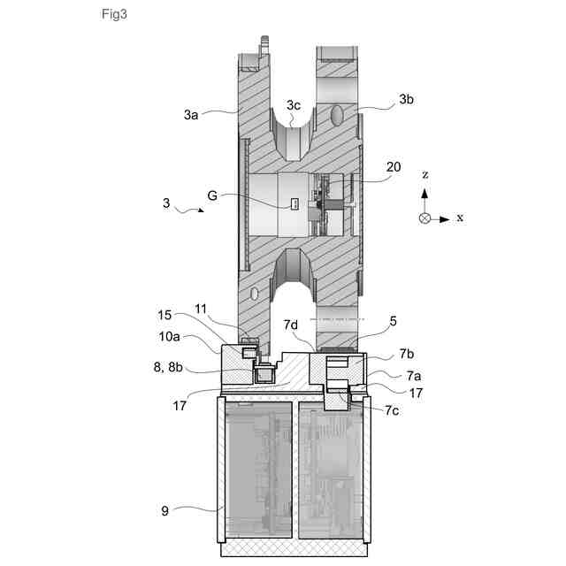
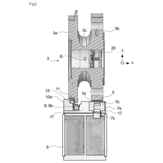
本発明の実施形態に係るトルク変換器の断面図である。
【発明を実施するための形態】
【0010】
以下、本発明の実施形態に係るトルク変換器について、図面を基に詳細な説明を行う。図1は本発明の実施形態に係るトルク変換器1の斜視外観図である。
(【0011】以降は省略されています)
この特許をJ-PlatPat(特許庁公式サイト)で参照する
関連特許
ユニパルス株式会社
トルク変換器
今日
ユニパルス株式会社
トルク変換器
今日
ユニパルス株式会社
トルク変換器
今日
ユニパルス株式会社
トルク変換器、調整部材
今日
個人
視触覚センサ
今日
日本精機株式会社
検出装置
1か月前
個人
採尿及び採便具
1か月前
個人
計量機能付き容器
25日前
甲神電機株式会社
電流検出装置
1か月前
日本精機株式会社
発光表示装置
8日前
株式会社カクマル
境界杭
15日前
株式会社ミツトヨ
測定器
1か月前
ユニパルス株式会社
トルク変換器
今日
ユニパルス株式会社
トルク変換器
今日
ユニパルス株式会社
トルク変換器
今日
株式会社トプコン
測量装置
7日前
大成建設株式会社
風洞実験装置
25日前
大和製衡株式会社
組合せ計量装置
1か月前
日本信号株式会社
距離画像センサ
28日前
日本特殊陶業株式会社
ガスセンサ
今日
愛知電機株式会社
軸部材の外観検査装置
1か月前
大和製衡株式会社
組合せ計量装置
1か月前
愛知時計電機株式会社
ガスメータ
1か月前
日本特殊陶業株式会社
ガスセンサ
23日前
双庸電子株式会社
誤配線検査装置
1か月前
日本特殊陶業株式会社
ガスセンサ
7日前
個人
非接触による電磁パルスの測定方法
28日前
個人
計量具及び計量機能付き容器
25日前
日本特殊陶業株式会社
ガスセンサ
1日前
日本特殊陶業株式会社
センサ
9日前
株式会社不二越
X線測定装置
28日前
日本特殊陶業株式会社
センサ
1か月前
本陣水越株式会社
車載式計測標的物
2日前
日置電機株式会社
絶縁抵抗測定装置
今日
日東精工株式会社
振動波形検査装置
1か月前
株式会社タイガーカワシマ
揚穀装置
7日前
続きを見る
他の特許を見る