TOP
|
特許
|
意匠
|
商標
特許ウォッチ
Twitter
他の特許を見る
公開番号
2025177175
公報種別
公開特許公報(A)
公開日
2025-12-05
出願番号
2024083767
出願日
2024-05-23
発明の名称
トルク変換器
出願人
ユニパルス株式会社
代理人
主分類
G01L
3/10 20060101AFI20251128BHJP(測定;試験)
要約
【課題】通信の安定性の向上を図ったトルク変換器を提供することを課題としている。
【解決手段】円柱形の回転部3と固定部2とを有して、回転部3に作用するトルクを電気量に変換するトルク変換器1であって、回転部3に設けられて検出したトルク値を無線で送信する送信部と、固定部2に設けられて、回転部3の送信部からトルク値を受信する受信部10と、を備え、送信部は回転部3の円柱外面全周に巻回される送信アンテナ基板11を含み、送信アンテナ基板11は少なくとも2層の導体層を有し、接続ランドが表層側のみに設けられる。
【選択図】図1
特許請求の範囲
【請求項1】
円柱形の回転部と固定部とを有して、前記回転部に作用するトルクを電気量に変換するトルク変換器であって、
前記回転部に設けられて検出したトルク値を無線で送信する送信部と、
前記固定部に設けられて、前記回転部の前記送信部から前記トルク値を受信する受信部と、を備え、
前記送信部は前記回転部の円柱外面全周に巻回される送信アンテナ基板を含み、
前記送信アンテナ基板は少なくとも2層の導体層を有し、接続ランドが表層側のみに設けられるトルク変換器。
続きを表示(約 190 文字)
【請求項2】
前記固定部は中空部を有し、前記中空部にはトルクを検出する回路基板が配置され、
前記回路基板と前記送信アンテナ基板とを繋ぐ配線ケーブルは、前記中空部から半径方向に設けられた配線通路に沿って配置され、帯状の前記送信アンテナ基板の前記接続ランドが長手方向の端部に設けられ、前記送信アンテナ基板の前記端部が前記配線通路の近傍に配置される請求項1に記載のトルク変換器。
発明の詳細な説明
【技術分野】
【0001】
本発明は、トルクを測定して電気信号に変換するトルク変換器に関するものである。
続きを表示(約 1,300 文字)
【背景技術】
【0002】
従来、高速回転する自動車の車輪等に生じるトルクを測定する測定器としては、両端に接続用のフランジ部を有し、このフランジ間に円筒状の起歪部を連結する構造のトルク変換器が公知である。このトルク変換器は、被測定物を連結して一緒に回転する回転部と、回転部からのトルク信号を受信して測定値を出力する固定部とを備える。
【先行技術文献】
【特許文献】
【0003】
特開2020ー020582号公報
【発明の概要】
【発明が解決しようとする課題】
【0004】
この回転部から固定部へのトルクの信号は無線によって送信される。例えば特許文献1に示す様に、固定部のフランジ部に中空円盤形状の円環基板として取り付けられたダイポールアンテナと、固定部に設けられた受信アンテナとによって送受信が行われる。しかしながら回転部が高速で回転すると、回転角による通信の安定性に改善の余地があった。
【0005】
このような問題に鑑みて、本発明は、通信の安定性の向上を図ったトルク変換器を提供することを目的としている。
【課題を解決するための手段】
【0006】
本発明のトルク変換器は、
円柱形の回転部と固定部とを有して、回転部に作用するトルクを電気量に変換するトルク変換器であって、
回転部に設けられて検出したトルク値を無線で送信する送信部と、
固定部に設けられて、回転部の送信部からトルク値を受信する受信部と、を備え、
送信部は回転部の円柱外面全周に巻回される送信アンテナ基板を含み、
送信アンテナ基板は少なくとも2層の導体層を有し、接続ランドが表層側のみに設けられて構成されている。
【0007】
また、固定部は中空部を有し、中空部にはトルクを検出する回路基板が配置され、
回路基板と送信アンテナ基板とを繋ぐ配線ケーブルは、中空部から半径方向に設けられた配線通路に沿って配置され、帯状の送信アンテナ基板の接続ランドが長手方向の端部に設けられ、送信アンテナ基板の端部が配線通路の近傍に配置されて構成されている。
【0008】
構成されている。
【発明の効果】
【0009】
本発明によれば、回転部が高速で回転した際においても、回転部と固定部との通信を安定して行うことができるトルク変換器を提供することができる。
【図面の簡単な説明】
【0010】
本発明の実施形態に係るトルク変換器の斜視外観図である。
本発明の実施形態に係るトルク変換器の断面図(a)と送信部の詳細断面図(b)である。
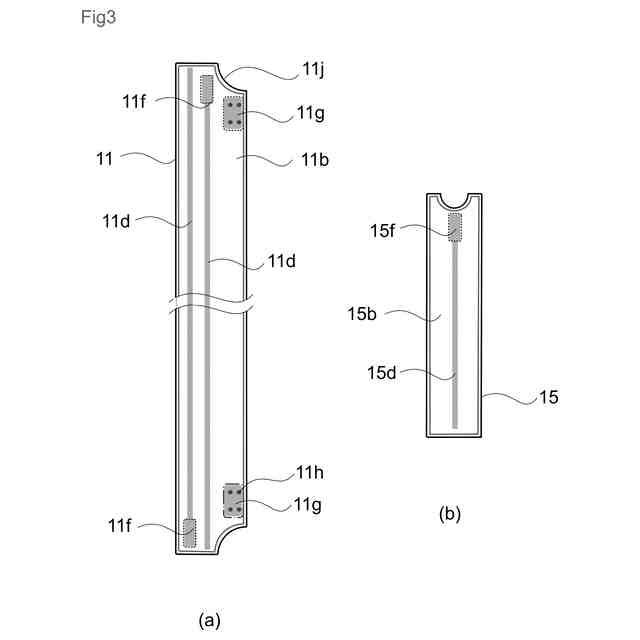
本発明の実施形態に係るトルク変換器の送信アンテナ基板の展開図(a)と受信アンテナ基板の展開図(b)である。
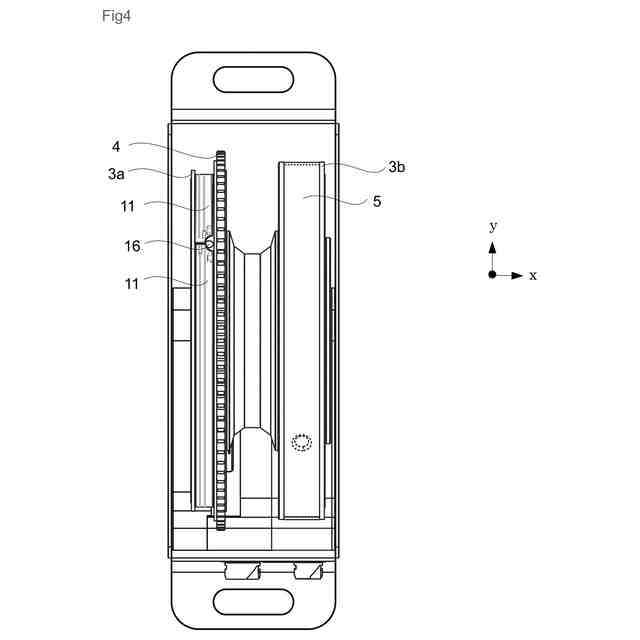
本発明の実施形態に係るトルク変換器の平面図である。
【発明を実施するための形態】
(【0011】以降は省略されています)
この特許をJ-PlatPat(特許庁公式サイト)で参照する
関連特許
ユニパルス株式会社
ロードセル
1か月前
ユニパルス株式会社
トルク変換器
今日
ユニパルス株式会社
トルク変換器
今日
ユニパルス株式会社
トルク変換器
今日
ユニパルス株式会社
トルク変換器、調整部材
今日
個人
視触覚センサ
今日
日本精機株式会社
検出装置
1か月前
個人
採尿及び採便具
1か月前
個人
アクセサリー型テスター
1か月前
個人
計量機能付き容器
25日前
個人
高精度同時多点測定装置
1か月前
株式会社ミツトヨ
測定器
1か月前
甲神電機株式会社
電流検出装置
1か月前
日本精機株式会社
発光表示装置
8日前
株式会社カクマル
境界杭
15日前
ユニパルス株式会社
トルク変換器
今日
株式会社トプコン
測量装置
7日前
ユニパルス株式会社
トルク変換器
今日
ユニパルス株式会社
トルク変換器
今日
アズビル株式会社
電磁流量計
1か月前
大成建設株式会社
風洞実験装置
25日前
日本特殊陶業株式会社
ガスセンサ
7日前
日本特殊陶業株式会社
ガスセンサ
今日
愛知時計電機株式会社
ガスメータ
1か月前
大和製衡株式会社
組合せ計量装置
1か月前
愛知電機株式会社
軸部材の外観検査装置
1か月前
個人
システム、装置及び実験方法
1か月前
大和製衡株式会社
組合せ計量装置
1か月前
双庸電子株式会社
誤配線検査装置
1か月前
ローム株式会社
半導体装置
1か月前
長崎県
形状計測方法
1か月前
個人
非接触による電磁パルスの測定方法
28日前
日本特殊陶業株式会社
ガスセンサ
23日前
ローム株式会社
半導体装置
1か月前
日本特殊陶業株式会社
ガスセンサ
1日前
日本信号株式会社
距離画像センサ
28日前
続きを見る
他の特許を見る