TOP
|
特許
|
意匠
|
商標
特許ウォッチ
Twitter
他の特許を見る
公開番号
2025159727
公報種別
公開特許公報(A)
公開日
2025-10-21
出願番号
2025073810
出願日
2025-04-28
発明の名称
システム、装置及び実験方法
出願人
個人
代理人
個人
主分類
G01N
21/27 20060101AFI20251014BHJP(測定;試験)
要約
【課題】
光線の新しい特徴を視認可能な装置を提供する。
【解決手段】
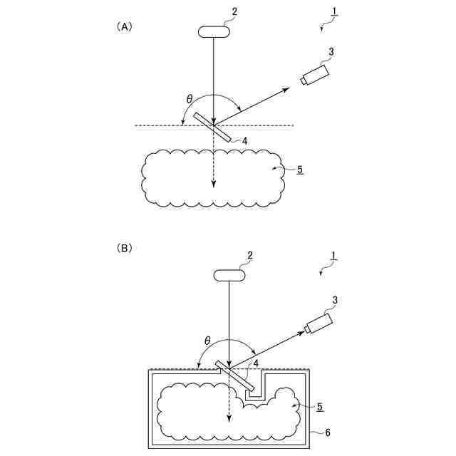
撮像部と、発光部と、可視光を透過させることが可能な被照射体と、格納部とを備えるシステムであって、前記発光部が、発した光線を前記被照射体に照射し、前記撮像部が、前記被照射体に反射した光線を撮像し、該被照射体を透過した光線が、前記格納部内部に存在する、所定の濃度の二酸化炭素を含む領域を通過するように、前記被照射体が配置され、前記被照射体が、前記格納部に接しているシステム。
【選択図】 図1
特許請求の範囲
【請求項1】
撮像部と、
発光部と、
可視光を透過させることが可能な被照射体と、
格納部と
を備えるシステムであって、
前記発光部が、発した光線を前記被照射体に照射し、
前記撮像部が、前記被照射体に反射した光線を撮像し、
該被照射体を透過した光線が、前記格納部内部に存在する、所定の濃度の二酸化炭素を含む領域を通過するように、前記被照射体が配置され、
前記被照射体が、前記格納部に接しているシステム。
続きを表示(約 640 文字)
【請求項2】
前記被照射体が、眼鏡のレンズである、請求項1に記載のシステム。
【請求項3】
前記眼鏡のレンズの前記発光部側に紫外線カットの加工が施されている、請求項2に記載のシステム。
【請求項4】
前記二酸化炭素の濃度が、70~100%である、請求項1又は2に記載のシステム。
【請求項5】
撮像部と、
発光部と、
可視光を透過させることが可能な被照射体と、
格納部と
を備える装置であって、
前記発光部が、発した光線を前記被照射体に照射し、
前記撮像部が、前記被照射体に反射した光線を撮像し、
該被照射体を透過した光線が、前記格納部内部に存在する、所定の濃度の二酸化炭素を含む領域を通過するように、前記被照射体が配置され、
前記被照射体が、前記格納部に接している装置。
【請求項6】
撮像部と、
発光部と、
可視光を透過させることが可能な被照射体と、
格納部と
を備える装置における実験方法であって、
前記発光部が、発した光線を前記被照射体に照射し、
前記撮像部が、前記被照射体に反射した光線を撮像し、
該被照射体を透過した光線が、前記格納部内部に存在する、所定の濃度の二酸化炭素を含む領域を通過するように、前記被照射体が配置され、
前記被照射体が、前記格納部に接している実験方法。
発明の詳細な説明
【技術分野】
【0001】
本発明は、システム、装置及び実験方法に関する。
続きを表示(約 1,000 文字)
【背景技術】
【0002】
従来、赤外線が二酸化炭素の分子振動を引き起こすことにより、二酸化炭素が特定波長の赤外線を吸収する性質が知られている。この性質を利用してガスを検知する非分散型赤外線吸収法(NDIR、Non-Dispersive InfraRed)という方式も知られている(特許文献1)。
【0003】
また、一般的に、光は障害物の傍を通過する際、障害物を回り込んで広がる傾向があることが知られている。このように、媒質中を波が伝わるとき、波が障害物の背後などに回り込んで伝わる現象のことを回折という。
【0004】
さらに、散乱光を用いて、眼鏡レンズやカメラレンズ等のレンズの外観を検査するレンズ外観検査装置もある(特許文献2)。特許文献2に記載の技術は、レンズに光を照射し、反射光を観察することで、レンズ表面の傷や異物付着等の有無を確認するものである。
【先行技術文献】
【特許文献】
【0005】
特開2008-132814
特開2018-54575
【発明の概要】
【発明が解決しようとする課題】
【0006】
発明者は、実験により、所定の環境において、光源から照射した光線が被照射体に反射した光線(反射光)を撮影した場合に、光線の色(波長)が変化することを発見した。
【0007】
本発明の少なくとも1つの実施の形態の目的は、光線の新しい特徴を視認可能な装置を提供することである。
【課題を解決するための手段】
【0008】
非限定的な観点によると、本発明に係るシステムは、撮像部と、発光部と、可視光を透過させることが可能な被照射体と、格納部とを備えるシステムであって、前記発光部が、発した光線を前記被照射体に照射し、前記撮像部が、前記被照射体に反射した光線を撮像し、該被照射体を透過した光線が、前記格納部内部に存在する、所定の濃度の二酸化炭素を含む領域を通過するように、前記被照射体が配置され、前記被照射体が、前記格納部に接しているシステムである。
【0009】
本発明に係るシステムは、被照射体が、眼鏡のレンズであることが好ましい。
【0010】
本発明に係るシステムは、眼鏡のレンズの前記発光部側に紫外線カットの加工が施されていることが好ましい。
(【0011】以降は省略されています)
この特許をJ-PlatPat(特許庁公式サイト)で参照する
関連特許
個人
視触覚センサ
4日前
日本精機株式会社
検出装置
1か月前
個人
計量機能付き容器
29日前
愛知電機株式会社
外観検査方法
今日
日本精機株式会社
発光表示装置
12日前
株式会社カクマル
境界杭
19日前
愛知電機株式会社
外観検査装置
今日
甲神電機株式会社
電流検出装置
1か月前
ユニパルス株式会社
トルク変換器
4日前
ユニパルス株式会社
トルク変換器
4日前
ユニパルス株式会社
トルク変換器
4日前
株式会社トプコン
測量装置
11日前
大成建設株式会社
風洞実験装置
29日前
日本信号株式会社
距離画像センサ
1か月前
日本特殊陶業株式会社
ガスセンサ
4日前
日本特殊陶業株式会社
ガスセンサ
11日前
日本特殊陶業株式会社
ガスセンサ
5日前
個人
非接触による電磁パルスの測定方法
1か月前
日本特殊陶業株式会社
ガスセンサ
27日前
個人
計量具及び計量機能付き容器
29日前
双庸電子株式会社
誤配線検査装置
1か月前
キーコム株式会社
画像作成システム
19日前
本陣水越株式会社
車載式計測標的物
6日前
日置電機株式会社
絶縁抵抗測定装置
4日前
日本特殊陶業株式会社
センサ
13日前
個人
液位検視及び品質監視システム
27日前
株式会社不二越
X線測定装置
1か月前
株式会社タイガーカワシマ
揚穀装置
11日前
日東精工株式会社
振動波形検査装置
1か月前
株式会社マグネア
磁界検出素子
1か月前
株式会社エルメックス
希釈液収容容器
29日前
ユニパルス株式会社
トルク変換器、調整部材
4日前
スズキ株式会社
タイヤ径算出システム
5日前
株式会社電巧社
試験装置及び試験方法
1か月前
理研計器株式会社
ガス検知装置
19日前
IMV株式会社
振動試験システム
1か月前
続きを見る
他の特許を見る