TOP
|
特許
|
意匠
|
商標
特許ウォッチ
Twitter
他の特許を見る
10個以上の画像は省略されています。
公開番号
2025168604
公報種別
公開特許公報(A)
公開日
2025-11-10
出願番号
2024073283
出願日
2024-04-28
発明の名称
計量機能付き容器
出願人
個人
代理人
個人
主分類
G01F
11/26 20060101AFI20251031BHJP(測定;試験)
要約
【課題】実用的な計量機能付き容器を提供すること。
【解決手段】計量機能付き容器は、貯蔵室内の内容物を排出口から容器外に排出する排出路を区画する排出路区画部と、貯蔵室と排出路とにそれぞれ流入孔と流出孔とを介して連通し、貯蔵室の底部側に配置され、貯蔵室内で内容物を計量する計量室を区画する計量室区画部とを備え、計量姿勢において、流入孔が流出孔よりも重力方向上側に位置して、計量室内の内容物が計量室外の内容物と分離され、排出姿勢において、計量姿勢で計量室の容積に計量された内容物が容器外に排出されるように設定された上限容量の内容物が貯蔵されている容器の計量姿勢における内容物の上面を含む、第1仮想平面に基づいて、貯蔵室の形状が設計されている。
【選択図】図1
特許請求の範囲
【請求項1】
容器の底部を重力方向下側にして水平面に載置された載置姿勢から前記容器を特定方向に傾けた計量姿勢において、前記容器の貯蔵室内に貯蔵されている流体又は粒体の内容物を前記貯蔵室内で計量し、前記計量姿勢から更に前記特定方向に傾けた排出姿勢において、前記計量姿勢で計量された前記内容物を前記容器外に排出する計量機能付き容器であって、
前記貯蔵室内の前記内容物を排出口から前記容器外に排出する排出路を区画する排出路区画部と、
前記排出路の前記排出口とは反対側に設けられ、前記貯蔵室と前記排出路とにそれぞれ流入孔と流出孔とを介して連通し、前記貯蔵室の前記底部側に配置され、前記貯蔵室内で前記内容物を計量する計量室を区画する計量室区画部と、を備え、
前記計量姿勢において、前記流入孔が前記流出孔よりも重力方向上側に位置して、前記計量室内の前記内容物が前記計量室外の前記内容物と分離され、前記排出姿勢において、前記計量姿勢で前記計量室の容積に計量された前記内容物が前記容器外に排出されるように設定された容量の上限である上限容量の前記内容物が貯蔵されている前記容器の前記計量姿勢における前記内容物の上面を含む、第1仮想平面に基づいて、前記貯蔵室の形状が設計されていることを特徴とする計量機能付き容器。
続きを表示(約 360 文字)
【請求項2】
前記容器は、前記貯蔵室のうち前記上限容量の前記内容物が貯蔵されている前記容器の前記載置姿勢における前記内容物の上面を含む第2仮想平面に基づいて、前記貯蔵室の形状が設定されている、請求項1に記載の計量機能付き容器。
【請求項3】
前記容器は、前記貯蔵室のうち前記計量姿勢で前記第1仮想平面よりも重力方向上側になる領域の少なくとも一部が前記第1仮想平面側に収縮する前記貯蔵室を区画する、請求項1又は2に記載の計量機能付き容器。
【請求項4】
前記容器は、前記貯蔵室のうち前記計量姿勢で前記第1仮想平面よりも重力方向上側になる領域の前記計量姿勢で重力方向上側になる上面の少なくとも一部が前記第1仮想平面に沿う前記貯蔵室を区画する、請求項1又は2に記載の計量機能付き容器。
発明の詳細な説明
【技術分野】
【0001】
本開示は、計量機能付き容器に関する。
続きを表示(約 2,400 文字)
【背景技術】
【0002】
従来から、容器内の貯蔵室に貯蔵されている流体の内容物を計量室で計量し、計量された内容物を容器外に排出する計量機能付き容器が知られている。特許文献1に開示されている計量機能付き容器は、円筒状の貯蔵室を区画している。しかしながら、容器の計量機能を阻害することなく貯蔵室に貯蔵可能な内容物の上限容量等、容器の実用化に向けた検討は、十分なものであるとは言い難い。
【先行技術文献】
【特許文献】
【0003】
特開2000-346692号公報
【発明の概要】
【発明が解決しようとする課題】
【0004】
本発明は、実用的な計量機能付き容器を提供することを課題とする。
【課題を解決するための手段】
【0005】
本発明の計量機能付き容器は、容器の底部を重力方向下側にして水平面に載置された載置姿勢から前記容器を特定方向に傾けた計量姿勢において、前記容器の貯蔵室内に貯蔵されている流体又は粒体の内容物を前記貯蔵室内で計量し、前記計量姿勢から更に前記特定方向に傾けた排出姿勢において、前記計量姿勢で計量された前記内容物を前記容器外に排出するものであって、前記貯蔵室内の前記内容物を排出口から前記容器外に排出する排出路を区画する排出路区画部と、前記排出路の前記排出口とは反対側に設けられ、前記貯蔵室と前記排出路とにそれぞれ流入孔と流出孔とを介して連通し、前記貯蔵室の前記底部側に配置され、前記貯蔵室内で前記内容物を計量する計量室を区画する計量室区画部と、を備え、前記計量姿勢において、前記流入孔が前記流出孔よりも重力方向上側に位置して、前記計量室内の前記内容物が前記計量室外の前記内容物と分離され、前記排出姿勢において、前記計量姿勢で前記計量室の容積に計量された前記内容物が前記容器外に排出されるように設定された容量の上限である上限容量の前記内容物が貯蔵されている前記容器の前記計量姿勢における前記内容物の上面を含む、第1仮想平面に基づいて、前記貯蔵室の形状が設計されている。
【発明の効果】
【0006】
本発明の計量機能付き容器の貯蔵室の形状は、上限容量の内容物が貯蔵されている容器の計量姿勢における内容物の上面を考慮して設計されている。そのため、貯蔵室の容積に対する上限容量の割合を高めることができる。
【図面の簡単な説明】
【0007】
第1実施形態の計量機能付き容器の模式図である。
第1実施形態の計量機能付き容器の模式図である。
第1実施形態の計量機能付き容器の計量具の模式図である。
第1実施形態の計量具の計量室区画部の模式図である。
第1実施形態の計量機能付き容器の計量姿勢を示す模式図である。
第1実施形態の計量機能付き容器の排出姿勢を示す模式図である。
第1実施形態の計量機能付き容器の貯蔵室の形状を説明するための模式図である。
第2実施形態の計量機能付き容器の模式図である。
第1実施形態の計量機能付き容器の底面を示す模式図である。
第3実施形態の計量機能付き容器の模式図である。
第4実施形態の計量機能付き容器の模式図である。
第4実施形態の計量機能付き容器の計量姿勢を示す模式図である。
第4実施形態の計量機能付き容器の計量姿勢を示す模式図である。
第5実施形態の計量機能付き容器の模式図である。
計量機能付き容器の変形例の模式図である。
計量機能付き容器の変形例の模式図である。
計量機能付き容器の変形例の模式図である。
計量機能付き容器の変形例の模式図である。
計量機能付き容器の変形例の模式図である。
計量機能付き容器の変形例の模式図である。
【発明を実施するための形態】
【0008】
(第1実施形態)
<計量機能付き容器>
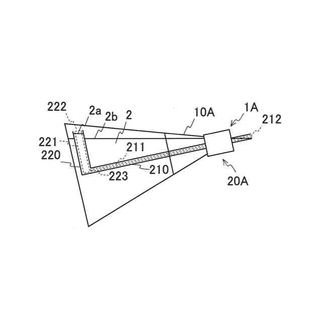
図1は、第1実施形態の計量機能付き容器1Aの模式図である。計量機能付き容器1Aは、容器10Aと計量具20Aとを備えている。計量機能付き容器1Aは、計量具20Aにより容器10A内に貯蔵されている内容物2を容器10A内で計量して、計量された所定量の内容物2を容器10A外に排出することができる。内容物2は流体や粒体である。流体の内容物2としては、水やジュース等の飲料や、ソースや酢等の調味料や、液体洗剤や、液体の薬品が考えられる。粒体の内容物2としては、砂糖や塩等の調味料や、粉末洗剤や、粉体の薬品が考えられる。
【0009】
<容器>
図2は、容器10Aの模式図である。容器10Aは貯蔵室11Aを区画する。貯蔵室11Aは内容物2を貯蔵するための空間である。
容器10Aの載置姿勢における上部には連通孔12Aが設けられている。ここで載置姿勢とは、容器10Aの底部を重力方向下側にして水平面に載置された姿勢である。連通孔12Aは、容器10Aの内外を連通させる孔である。
【0010】
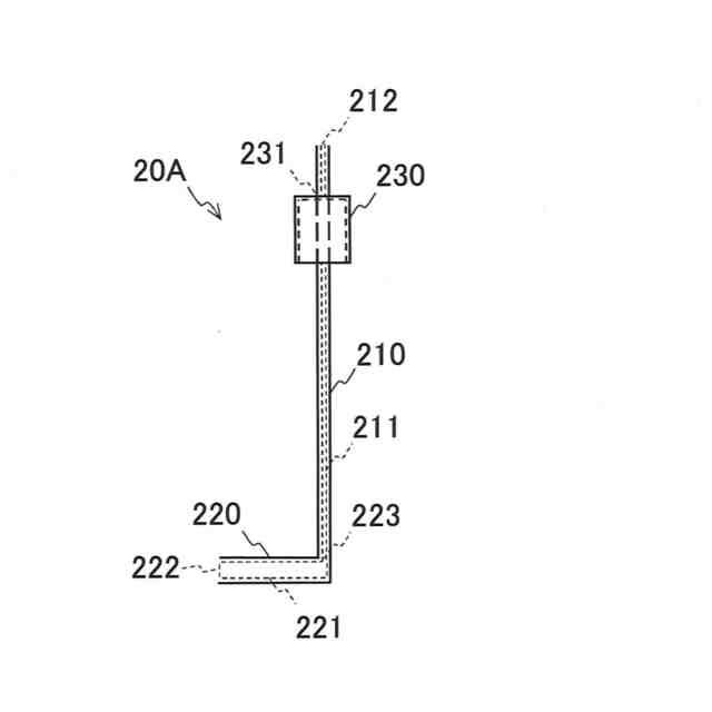
<計量具>
図3は、計量具20Aの模式図である。計量具20Aは、排出路区画部210と計量室区画部220と蓋部230とを有している。
排出路区画部210は、管状に形成され、排出路211を区画する。ここで、排出路とは内容物2を容器10A内から容器10A外に排出するための通路である。また、管状とは中空の細長い形状を意味する。排出路211の一方端は、排出口212として機能する。貯蔵室11A内の内容物2は、排出路211を流れ、排出口212から容器10A外に排出される。
(【0011】以降は省略されています)
特許ウォッチbot のツイートを見る
この特許をJ-PlatPat(特許庁公式サイト)で参照する
関連特許
日本精機株式会社
検出装置
25日前
個人
採尿及び採便具
1か月前
個人
計量機能付き容器
20日前
個人
高精度同時多点測定装置
1か月前
個人
アクセサリー型テスター
1か月前
株式会社カクマル
境界杭
10日前
日本精機株式会社
発光表示装置
3日前
甲神電機株式会社
電流検出装置
25日前
株式会社ミツトヨ
測定器
1か月前
株式会社トプコン
測量装置
2日前
アズビル株式会社
電磁流量計
1か月前
大成建設株式会社
風洞実験装置
20日前
ダイキン工業株式会社
監視装置
1か月前
トヨタ自動車株式会社
監視装置
1か月前
日本信号株式会社
距離画像センサ
23日前
大和製衡株式会社
組合せ計量装置
1か月前
双庸電子株式会社
誤配線検査装置
26日前
日本特殊陶業株式会社
ガスセンサ
18日前
日本特殊陶業株式会社
ガスセンサ
2日前
長崎県
形状計測方法
1か月前
TDK株式会社
磁気センサ
1か月前
愛知電機株式会社
軸部材の外観検査装置
1か月前
大和製衡株式会社
組合せ計量装置
1か月前
個人
システム、装置及び実験方法
1か月前
個人
計量具及び計量機能付き容器
20日前
個人
非接触による電磁パルスの測定方法
23日前
ローム株式会社
半導体装置
1か月前
愛知時計電機株式会社
ガスメータ
1か月前
ローム株式会社
半導体装置
1か月前
ダイハツ工業株式会社
移動支援装置
1か月前
日本特殊陶業株式会社
センサ
1か月前
株式会社タイガーカワシマ
揚穀装置
2日前
中国電力株式会社
電柱管理システム
1か月前
日本特殊陶業株式会社
センサ
1か月前
日本特殊陶業株式会社
センサ
1か月前
個人
液位検視及び品質監視システム
18日前
続きを見る
他の特許を見る