TOP
|
特許
|
意匠
|
商標
特許ウォッチ
Twitter
他の特許を見る
公開番号
2025151697
公報種別
公開特許公報(A)
公開日
2025-10-09
出願番号
2024053249
出願日
2024-03-28
発明の名称
移動支援装置
出願人
ダイハツ工業株式会社
代理人
個人
主分類
G01C
21/26 20060101AFI20251002BHJP(測定;試験)
要約
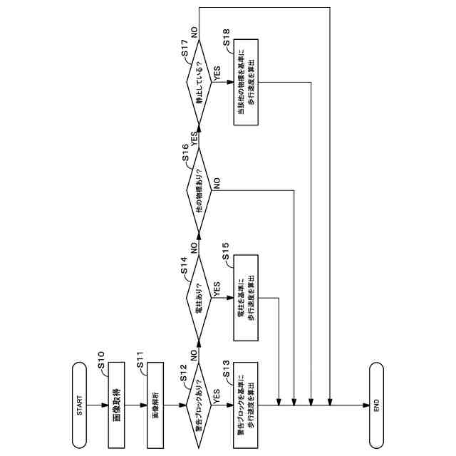
【課題】ユーザの走行速度に応じた適切なタイミングで移動支援を行うことができる移動支援装置を実現する。
【解決手段】移動支援装置1は、ユーザの両肩及び首の少なくともいずれかに装着される移動支援装置であって、
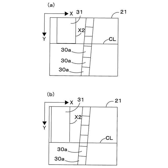
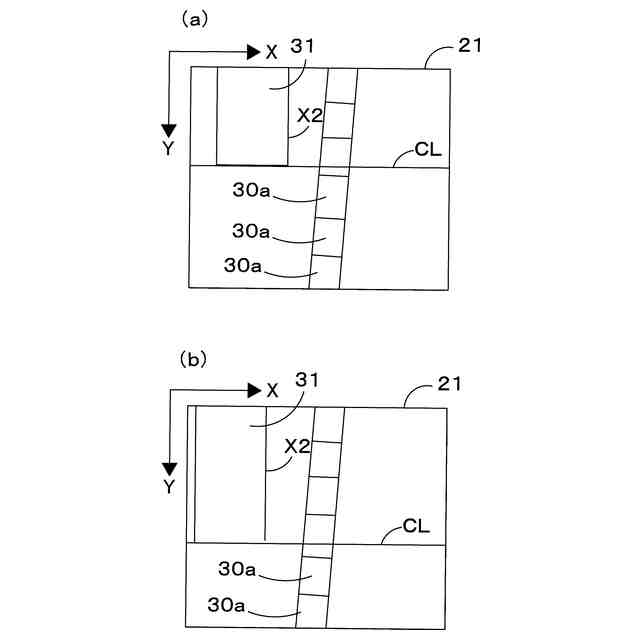
ユーザの前方側を撮像する撮像部20と、撮像部20で撮像された画像に基づいて、当該画像内にある物標を検出する物標検出部40aと、物標検出部40aが検出した物標のうちの誘導ブロック30aと、所定の静止物標(例えば、電柱31)とに基づいてユーザの歩行速度を算出する歩行速度算出部40bとを備え、歩行速度算出部40bは、画像21内において、基準となる所定の静止物標(電柱31)よりもユーザに近い位置にある誘導ブロック30aの数の単位時間当たりの変化量に基づいてユーザの歩行速度を算出することを特徴とする。
【選択図】図4
特許請求の範囲
【請求項1】
ユーザの両肩及び首の少なくともいずれかに装着される移動支援装置であって、
前記ユーザの前方側を撮像する撮像部と、
前記撮像部で撮像された画像に基づいて、当該画像内にある物標を検出する物標検出部と、
前記物標検出部が検出した前記物標のうちの誘導ブロックと、所定の静止物標とに基づいて前記ユーザの歩行速度を算出する歩行速度算出部と、を備え、
前記歩行速度算出部は、前記画像内において、基準となる前記所定の静止物標よりも前記ユーザに近い位置にある前記誘導ブロックの数の単位時間当たりの変化量に基づいて前記歩行速度を算出することを特徴とする移動支援装置。
続きを表示(約 350 文字)
【請求項2】
前記誘導ブロックの数は、前記画像内において、前記所定の静止物標の所定箇所と、前記所定の静止物標に最も近い前記誘導ブロックの特定箇所とを通る仮想直線を基準として、当該仮想直線よりも前記ユーザに近い位置にある前記誘導ブロックの数とすることを特徴とする請求項1に記載の移動支援装置。
【請求項3】
前記物標検出部において障害物が検出された場合に、当該障害物が検出されたことを報知する報知制御を含む移動支援制御を実行する移動支援制御部を備え、
前記移動支援制御部は、前記歩行速度算出部が算出した前記歩行速度が、所定値よりも速い場合は、前記所定値よりも遅い場合よりも早いタイミングで前記報知制御を実行することを特徴とする請求項1または2に記載の移動支援装置。
発明の詳細な説明
【技術分野】
【0001】
本発明は、移動支援装置に関する。
続きを表示(約 2,000 文字)
【背景技術】
【0002】
従来、視覚障がい者の走行を支援するための移動支援装置が知られている。例えば、特許文献1に記載の移動支援装置は、ユーザの前方の地面を含む画像を撮像し、当該画像に係るデータを解析(画像処理)することで、画像内にある点字ブロック情報を抽出する。点字ブロック情報は、点字ブロックの位置および大きさの少なくとも一方を含む。ここで、移動支援装置は、点字ブロック情報に基づいて点字ブロックが存在する方向および距離を算出し、算出した点字ブロックの方向や距離に基づいて、障害物の距離と方向を通知する。
【先行技術文献】
【特許文献】
【0003】
特開2023-49253号公報
【発明の概要】
【発明が解決しようとする課題】
【0004】
このようなユーザへの通知は、ユーザの歩行速度に応じたタイミングで行われるのが好ましい。例えば、ユーザから障害物までの距離が所定値以下になったときに障害物の存在を通知するように構成した場合、ユーザの歩行速度が速いと、通知から障害物に到達するまでの時間が短く、ユーザに不安を与えるおそれがある。一方、ユーザの歩行速度が遅い場合は、通知から障害物に到達するまでの時間が長く、ユーザに不安を与えるおそれがある。上記した特許文献1に記載の移動支援装置では、ユーザの走行速度を考慮した通知が行われないため、改善の余地がある。
【0005】
そこで本発明は、ユーザの走行速度に応じた適切なタイミングで移動支援を行うことができる移動支援装置を実現することを目的とする。
【課題を解決するための手段】
【0006】
(1)上述した課題を解決すべく提供される本発明の移動支援装置は、ユーザの両肩及び首の少なくともいずれかに装着される移動支援装置であって、前記ユーザの前方側を撮像する撮像部と、前記撮像部で撮像された画像に基づいて、当該画像内にある物標を検出する物標検出部と、前記物標検出部が検出した前記物標のうちの誘導ブロックと、所定の静止物標とに基づいて前記ユーザの歩行速度を算出する歩行速度算出部と、を備え、前記歩行速度算出部は、前記画像内において、基準となる前記所定の静止物標よりも前記ユーザに近い位置にある前記誘導ブロックの数の単位時間当たりの変化量に基づいて前記歩行速度を算出することを特徴としている。
【0007】
上記した移動支援装置は、撮像部で撮像された画像に基づいて、当該画像内にある物標を検出する。歩行速度算出部は、撮像部が撮像した画像内において、基準となる所定の静止物標よりもユーザに近い位置にある誘導ブロックの数の単位時間当たりの変化量に基づいて歩行速度を算出する。このようにすることで、本発明の移動支援装置は、撮像部で撮像された画像に基づいてユーザの歩行速度を算出することができる。したがって、本発明の移動支援装置は、点字ブロックに関する通知等の移動支援を行う場合に、ユーザの走行速度に応じたタイミングで行うことができる。また、本発明の移動支援装置は、撮像部が撮像した画像を利用してユーザの歩行速度を算出するため、歩行速度を求めるためのセンサーなどを別途設ける必要がない。したがって、本発明の移動支援装置は、安価な構成で実現できる。また、ユーザの歩行速度は、路面の状況(傾斜等)に応じて変化するが、本発明の移動支援装置は、このようなユーザの歩行速度が変化した場合であっても、適切なタイミングで移動支援を行うことができる。
【0008】
(2)前記誘導ブロックの数は、前記画像内において、前記所定の静止物標の所定箇所と、前記所定の静止物標に最も近い前記誘導ブロックの特定箇所とを通る仮想直線を基準として、当該仮想直線よりも前記ユーザに近い位置にある前記誘導ブロックの数とするとよい。
【0009】
このようにすることで、本発明の移動支援装置は、基準となる所定の静止物標と、誘導ブロックとが離間して配置されている場合であっても、仮想直線に基づいて容易に誘導ブロックの数(所定の静止物標よりもユーザに近い位置にある誘導ブロックの数)を求めることができる。すなわち、本発明の移動支援装置は、基準となる所定の静止物標と、誘導ブロックとが離間して配置されている場合であっても、当該仮想直線に基づいて容易にユーザの歩行速度を算出することができる。
【0010】
(3)前記物標検出部において障害物が検出された場合に、当該障害物が検出されたことを報知する報知制御を含む移動支援制御を実行する移動支援制御部を備え、前記移動支援制御部は、前記歩行速度算出部が算出した前記歩行速度が、所定値よりも速い場合は、前記所定値よりも遅い場合よりも早いタイミングで前記報知制御を実行するとよい。
(【0011】以降は省略されています)
この特許をJ-PlatPat(特許庁公式サイト)で参照する
関連特許
日本精機株式会社
検出装置
18日前
個人
採尿及び採便具
24日前
個人
計量機能付き容器
13日前
個人
高精度同時多点測定装置
1か月前
株式会社カクマル
境界杭
3日前
株式会社ミツトヨ
測定器
1か月前
甲神電機株式会社
電流検出装置
18日前
アズビル株式会社
電磁流量計
1か月前
大成建設株式会社
風洞実験装置
13日前
ローム株式会社
半導体装置
1か月前
ローム株式会社
半導体装置
1か月前
大和製衡株式会社
組合せ計量装置
27日前
大和製衡株式会社
組合せ計量装置
27日前
日本信号株式会社
距離画像センサ
16日前
個人
計量具及び計量機能付き容器
13日前
個人
システム、装置及び実験方法
1か月前
愛知電機株式会社
軸部材の外観検査装置
27日前
愛知時計電機株式会社
ガスメータ
1か月前
日本特殊陶業株式会社
ガスセンサ
11日前
個人
非接触による電磁パルスの測定方法
16日前
双庸電子株式会社
誤配線検査装置
19日前
株式会社不二越
X線測定装置
16日前
トヨタ自動車株式会社
測定システム
1か月前
キーコム株式会社
画像作成システム
3日前
株式会社デンソー
電流センサ
1か月前
個人
液位検視及び品質監視システム
11日前
日東精工株式会社
振動波形検査装置
19日前
日本特殊陶業株式会社
センサ
1か月前
株式会社マグネア
磁界検出素子
16日前
アンリツ株式会社
X線検査装置
1か月前
株式会社エルメックス
希釈液収容容器
13日前
理研計器株式会社
ガス検知装置
3日前
株式会社電巧社
試験装置及び試験方法
19日前
住友化学株式会社
電気化学センサ
24日前
日本特殊陶業株式会社
化学センサ
18日前
株式会社不二越
X線測定システム
1か月前
続きを見る
他の特許を見る