TOP
|
特許
|
意匠
|
商標
特許ウォッチ
Twitter
他の特許を見る
公開番号
2025169108
公報種別
公開特許公報(A)
公開日
2025-11-12
出願番号
2024074139
出願日
2024-04-30
発明の名称
液位検視及び品質監視システム
出願人
個人
代理人
個人
主分類
G01F
23/02 20060101AFI20251105BHJP(測定;試験)
要約
【課題】液位及び液体の重量(密度)を同時に観測する液位検視及び品質監視システムを提供する。
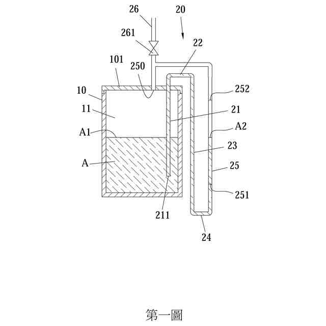
【解決手段】液位検視及び品質監視システムは容器10及び管体20を備える。容器内には収容空間11を形成する。収容空間内には液体Aを収容する。収容空間内の液体の高さは第1の液位A1である。管体は第1の段部21、第1の折り曲げ部22、第2の段部23、第2の折り曲げ部24及び透視可能な第3の段部25を含む。第1の段部は一端に第1の開口部211を設け、他端に第1の折り曲げ部を接続させる。第1の折り曲げ部の他端は第2の段部の一端に接続させる。第2の段部の他端は第2の折り曲げ部に接続させる。第2の折り曲げ部の他端は第3の段部の一端に接続させる。第3の段部の他端には第2の開口部250を設ける。液体は、第1の開口部を介して第3の段部まで流れ、第2の液位A2により、容器内の液体の液面高さを判断する。
【選択図】図2
特許請求の範囲
【請求項1】
容器及び管体を備えた、液位検視及び品質監視システムであって、
前記容器内には、収容空間を形成し、前記収容空間内には、液体を収容し、前記収容空間内の液体の高さは、第1の液位であり、
前記管体は、第1の段部、第1の折り曲げ部、第2の段部、第2の折り曲げ部及び透視可能な第3の段部を含み、前記第1の段部は、一端に第1の開口部を設け、他端に前記第1の折り曲げ部を接続させ、前記第1の折り曲げ部の他端は、前記第2の段部の一端に接続させ、前記第2の段部の他端は、前記第2の折り曲げ部に接続させ、前記第2の折り曲げ部の他端は、前記第3の段部の一端に接続させ、前記第3の段部の他端には、第2の開口部を設け、液体は、前記第1の開口部を介して前記第3の段部まで流れ、前記第3の段部に形成された前記第1の液位と同じ高さで揃った第2の液位により、前記容器内の液体の液面高さを判断することを特徴とする、液位検視及び品質監視システム。
続きを表示(約 1,500 文字)
【請求項2】
前記容器は、頂部に蓋体を設けるか、一体式で閉塞型の容器に成形し、前記蓋体により前記容器を閉塞し、前記容器内に所定の気圧を生じさせ、前記第2の開口部を前記蓋体に形成するか前記容器の頂部に形成し、前記第3の段部には、延伸段部及び弁体を接続し、前記弁体を前記延伸段部と前記第3の段部との間に配設し、前記弁体を選択的に開くか閉じると、前記延伸段部と前記第3の段部とが連通しているため、所定の気圧と外部の気圧とのバランスがとれ、前記第2の液位の高さと前記第1の液位の高さとが等しくなることを特徴とする請求項1に記載の液位検視及び品質監視システム。
【請求項3】
重量計上には、容器を配設し、
前記重量計には、第1の基準重量値及び第2の基準重量値を設定し、前記第2の基準重量値は、前記第1の基準重量値より大きく、前記容器中に液体を注入し、液体の重量が前記第1の基準重量値に等しい場合、液体の前記第2の液位は、前記第3の段部上に設けた低目盛線に位置し、液体の重量が前記第2の基準重量値に等しい場合、液体の前記第2の液位は、前記第3の段部上に設けた高目盛線に位置することを特徴とする請求項1に記載の液位検視及び品質監視システム。
【請求項4】
容器及び重量計を備えた、液位検視及び品質監視システムであって、
前記容器内には、収容空間を形成し、
前記重量計は、ディスプレイを含み、前記重量計上には、前記容器を配設し、前記重量計は、分散制御システムに接続させるとともに、第1の基準重量値及び第2の基準重量値を設定し、前記第2の基準重量値は、前記第1の基準重量値より大きく、前記容器中に液体を注入し、液体の重量が前記第1の基準重量値に等しい場合、液体の第1の液位の位置が低位線に位置し、液体の重量が前記第2の基準重量値に等しい場合、液体の前記第1の液位は、高位線に位置し、前記分散制御システムは、前記容器の体積により液体が異なる重量であるときの第1の液面高さを算出することを特徴とする、液位検視及び品質監視システム。
【請求項5】
前記容器は、管体を有し、
前記管体は、第1の段部、第1の折り曲げ部、第2の段部、第2の折り曲げ部及び透視可能な第3の段部を含み、
前記第1の段部は、一端に第1の開口部を設け、他端に前記第1の折り曲げ部を接続させ、
前記第1の折り曲げ部の他端は、前記第2の段部の一端に接続させ、前記第2の段部の他端は、前記第2の折り曲げ部に接続させ、
前記第2の折り曲げ部の他端は、前記第3の段部の一端に接続させ、前記第3の段部の他端には、第2の開口部を設け、液体は、前記第1の開口部を介して前記第3の段部まで流れ、前記第3の段部に形成された前記第1の液位と同じ高さで揃った第2の液位により、前記容器内の液体の液面高さを判断することを特徴とする請求項4に記載の液位検視及び品質監視システム。
【請求項6】
前記容器は、頂部に蓋体を設けるか、一体式で閉塞型の容器に成形し、前記蓋体により前記容器を閉塞し、前記容器内に所定の気圧を生じさせ、前記第2の開口部を前記蓋体に形成するか前記容器の頂部に形成し、前記第3の段部には、延伸段部及び弁体を接続し、前記弁体を前記延伸段部と前記第3の段部との間に配設し、前記弁体を選択的に開くか閉じると、前記延伸段部と前記第3の段部とが連通しているため、所定の気圧と外部の気圧とのバランスがとれ、前記第2の液位の高さと前記第1の液位の高さとが等しくなることを特徴とする請求項5に記載の液位検視及び品質監視システム。
発明の詳細な説明
【技術分野】
【0001】
本発明は、監視装置に関し、特に、液位及び液体の重量(密度)を同時に観測することができる、液位検視及び品質監視システムに関する。
続きを表示(約 2,400 文字)
【背景技術】
【0002】
従来の液位監視装置は、一般に浮き又はガラス管に刻まれた目盛により、容器内の液位を表示していたが、前述した液位監視装置は、速やかに液体の重量(密度)を検出することができず、液体の品質を監視することができなかったため、従来の液位監視装置には改善が求められていた。
【0003】
そこで、本発明者は、上記課題を解決するために鋭意検討を重ねた結果、本発明に想到するに至った。本発明者は、関連分野の長年にわたる経験、知識により、様々な工夫を凝らして研究して改良し、遂に本発明を完成したものであり、本発明は全体の使用上、優れた実用的効用を奏する。
【発明の概要】
【発明が解決しようとする課題】
【0004】
従って、本発明の課題は、容器中の液体の液面高さを判断するとともに、重量又は透視可能な2組の単独のシステムを同時に利用して判断し、液位が低すぎてポンプで真空排気するか、液位が高すぎて溢れ出てしまうリスクと誤判断を避ける、液位検視及び品質監視システムを提供することにある。
【課題を解決するための手段】
【0005】
上記課題を解決するために、本発明の第1の形態によれば、容器及び管体を備えた、液位検視及び品質監視システムであって、前記容器内には、収容空間を形成し、前記収容空間内には、液体を収容し、前記収容空間内の液体の高さは、第1の液位であり、前記管体は、第1の段部、第1の折り曲げ部、第2の段部、第2の折り曲げ部及び透視可能な第3の段部を含み、前記第1の段部は、一端に第1の開口部を設け、他端に前記第1の折り曲げ部を接続させ、前記第1の折り曲げ部の他端は、前記第2の段部の一端に接続させ、前記第2の段部の他端は、前記第2の折り曲げ部に接続させ、前記第2の折り曲げ部の他端は、前記第3の段部の一端に接続させ、前記第3の段部の他端には、第2の開口部を設け、液体は、前記第1の開口部を介して前記第3の段部まで流れ、前記第3の段部に形成された前記第1の液位と同じ高さで揃った第2の液位により、前記容器内の液体の液面高さを判断することを特徴とする、液位検視及び品質監視システムが提供される。
【0006】
前記容器は、頂部に蓋体を設けるか、一体式で閉塞型の容器に成形し、前記蓋体により前記容器を閉塞し、前記容器内に所定の気圧を生じさせ、前記第2の開口部を前記蓋体に形成するか前記容器の頂部に形成し、前記第3の段部には、延伸段部及び弁体を接続し、前記弁体を前記延伸段部と前記第3の段部との間に配設し、前記弁体を選択的に開くか閉じると、前記延伸段部と前記第3の段部とが連通しているため、所定の気圧と外部の気圧とのバランスがとれ、前記第2の液位の高さと前記第1の液位の高さとが等しくなることが好ましい。
【0007】
重量計上には、容器を配設し、前記重量計には、第1の基準重量値及び第2の基準重量値を設定し、前記第2の基準重量値は、前記第1の基準重量値より大きく、前記容器中に液体を注入し、液体の重量が前記第1の基準重量値に等しい場合、液体の前記第2の液位は、前記第3の段部上に設けた低目盛線に位置し、液体の重量が前記第2の基準重量値に等しい場合、液体の前記第2の液位は、前記第3の段部上に設けた高目盛線に位置することが好ましい。
【0008】
上記課題を解決するために、本発明の第2の形態によれば、容器及び重量計を備えた、液位検視及び品質監視システムであって、前記容器内には、収容空間を形成し、前記重量計は、ディスプレイを含み、前記重量計上には、前記容器を配設し、前記重量計は、分散制御システムに接続させるとともに、第1の基準重量値及び第2の基準重量値を設定し、前記第2の基準重量値は、前記第1の基準重量値より大きく、前記容器中に液体を注入し、液体の重量が前記第1の基準重量値に等しい場合、液体の第1の液位の位置が低位線(0%)に位置し、液体の重量が前記第2の基準重量値に等しい場合、液体の前記第1の液位は、高位線(100%)に位置し、前記分散制御システムは、前記容器の体積により液体が異なる重量であるときの第1の液面高さを算出することを特徴とする、液位検視及び品質監視システムが提供される。
【0009】
前記容器は、管体を有し、前記管体は、第1の段部、第1の折り曲げ部、第2の段部、第2の折り曲げ部及び透視可能な第3の段部を含み、前記第1の段部は、一端に第1の開口部を設け、他端に前記第1の折り曲げ部を接続させ、前記第1の折り曲げ部の他端は、前記第2の段部の一端に接続させ、前記第2の段部の他端は、前記第2の折り曲げ部に接続させ、前記第2の折り曲げ部の他端は、前記第3の段部の一端に接続させ、前記第3の段部の他端には、第2の開口部を設け、液体は、前記第1の開口部を介して前記第3の段部まで流れ、前記第3の段部に形成された前記第1の液位と同じ高さで揃った第2の液位により、前記容器内の液体の液面高さを判断することが好ましい。
【0010】
前記容器は、頂部に蓋体を設けるか、一体式で閉塞型の容器に成形し、前記蓋体により前記容器を閉塞し、前記容器内に所定の気圧を生じさせ、前記第2の開口部を前記蓋体に形成するか前記容器の頂部に形成し、前記第3の段部には、延伸段部及び弁体を接続し、前記弁体を前記延伸段部と前記第3の段部との間に配設し、前記弁体を選択的に開くか閉じると、前記延伸段部と前記第3の段部とが連通しているため、所定の気圧と外部の気圧とのバランスがとれ、前記第2の液位の高さと前記第1の液位の高さとが等しくなることが好ましい。
【発明の効果】
(【0011】以降は省略されています)
この特許をJ-PlatPat(特許庁公式サイト)で参照する
関連特許
個人
採尿及び採便具
1か月前
日本精機株式会社
検出装置
29日前
個人
計量機能付き容器
24日前
甲神電機株式会社
電流検出装置
29日前
株式会社カクマル
境界杭
14日前
株式会社ミツトヨ
測定器
1か月前
日本精機株式会社
発光表示装置
7日前
株式会社トプコン
測量装置
6日前
アズビル株式会社
電磁流量計
1か月前
大成建設株式会社
風洞実験装置
24日前
日本特殊陶業株式会社
ガスセンサ
今日
個人
システム、装置及び実験方法
1か月前
双庸電子株式会社
誤配線検査装置
1か月前
個人
非接触による電磁パルスの測定方法
27日前
個人
計量具及び計量機能付き容器
24日前
日本信号株式会社
距離画像センサ
27日前
日本特殊陶業株式会社
ガスセンサ
6日前
日本特殊陶業株式会社
ガスセンサ
22日前
大和製衡株式会社
組合せ計量装置
1か月前
大和製衡株式会社
組合せ計量装置
1か月前
愛知電機株式会社
軸部材の外観検査装置
1か月前
愛知時計電機株式会社
ガスメータ
1か月前
株式会社タイガーカワシマ
揚穀装置
6日前
日東精工株式会社
振動波形検査装置
1か月前
日本特殊陶業株式会社
センサ
1か月前
トヨタ自動車株式会社
測定システム
1か月前
株式会社不二越
X線測定装置
27日前
個人
液位検視及び品質監視システム
22日前
本陣水越株式会社
車載式計測標的物
1日前
日本特殊陶業株式会社
センサ
8日前
キーコム株式会社
画像作成システム
14日前
株式会社電巧社
試験装置及び試験方法
1か月前
株式会社マグネア
磁界検出素子
27日前
スズキ株式会社
タイヤ径算出システム
今日
株式会社エルメックス
希釈液収容容器
24日前
理研計器株式会社
ガス検知装置
14日前
続きを見る
他の特許を見る