TOP
|
特許
|
意匠
|
商標
特許ウォッチ
Twitter
他の特許を見る
10個以上の画像は省略されています。
公開番号
2025165355
公報種別
公開特許公報(A)
公開日
2025-11-04
出願番号
2024106469
出願日
2024-07-01
発明の名称
試験装置及び試験方法
出願人
株式会社電巧社
代理人
個人
主分類
G01N
19/04 20060101AFI20251027BHJP(測定;試験)
要約
【課題】接着目的物を被着体に接着した接着剤の接着強度の経年変化を測定する試験装置を提供する。
【解決手段】試験装置1は、所定の接着目的物を被着体に接着した接着条件と同一の接着条件で前記被着体の前記接着目的物の近傍に接着される所定の試験片を所定の方向に引っ張る引張手段11と、前記試験片が引っ張られることにより、前記試験片と前記被着体との間の接着面に生じる応力を測定する応力測定手段12,34と、測定した前記応力を出力する応力出力手段36と、を有する。
【選択図】図1
特許請求の範囲
【請求項1】
所定の接着目的物を被着体に接着した接着条件と同一の接着条件で前記被着体の前記接着目的物の近傍に接着される所定の試験片を所定の方向に引っ張る引張手段と、
前記試験片が引っ張られることにより、前記試験片と前記被着体との間の接着面に生じる応力を測定する応力測定手段と、
測定した前記応力を出力する応力出力手段と、
を有する試験装置。
続きを表示(約 450 文字)
【請求項2】
前記引張手段は、試験実施のタイミングに応じて前記接着目的物の近傍に同一の接着条件で接着された複数の前記試験片のうち、選択された一つの前記試験片を引っ張る、
請求項1に記載の試験装置。
【請求項3】
測定した前記応力が所定の試験合格応力に達したことを報知する報知手段を有する、
請求項1に記載の試験装置。
【請求項4】
前記報知手段は、測定した前記応力が前記試験合格応力に達している時間が所定の試験合格時間以上経過したことを報知する、
請求項3に記載の試験装置。
【請求項5】
所定の接着目的物を被着体に接着した接着条件と同一の接着条件で前記被着体の前記接着目的物の近傍に接着した所定の試験片を所定の方向に引っ張るステップと、
前記試験片が引っ張られることにより、前記試験片と前記被着体との間の接着面に生じる応力を測定するステップと、
測定した前記応力を出力するステップと、
を含む試験方法。
発明の詳細な説明
【技術分野】
【0001】
本発明は、試験装置及び試験方法に関する。
続きを表示(約 1,800 文字)
【背景技術】
【0002】
被塗装物への塗装膜の付着力を評価するための引張応力試験方法として、引張作用を受ける引張板と、塗装膜に接着される接着板との間に、引張試験合格基準を満たす所定の引張強度に相当する粘着力を有する両面粘着シートを介装する粘着過程と、引張板と粘着シート、及び、接着板と粘着シートとを圧着させる圧着過程と、接着板を塗装膜へ粘着シートの粘着力よりも高い接着力を有する接着剤にて接着させる接着過程と、引張板を、塗装膜から離れる方向に引っ張る引張過程とから成る引張応力試験方法が提案されている(特許文献1参照)。
【先行技術文献】
【特許文献】
【0003】
特許4483671号公報
【発明の概要】
【発明が解決しようとする課題】
【0004】
接着目的物を被着体に接着した接着剤の接着強度の経年変化を測定する仕組みは提案されていない。
【0005】
本発明は、このような状況に鑑みてなされたものであり、接着目的物を被着体に接着した接着剤の接着強度の経年変化を測定可能な試験装置及び試験方法を提供することを目的とする。
【課題を解決するための手段】
【0006】
上記目的を達成するため、本発明の一態様は、所定の接着目的物を被着体に接着した接着条件と同一の接着条件で前記被着体の前記接着目的物の近傍に接着した所定の試験片を所定の方向に引っ張る引張手段と、前記所定の試験片が引っ張られることにより前記所定の試験片と前記被着体との間の接着面に生じる応力を測定する応力測定手段と、測定した前記応力を出力する応力出力手段と、を有する試験装置である。
【0007】
また、本発明の他の一態様は、所定の接着目的物を被着体に接着した接着条件と同一の接着条件で前記被着体の前記接着目的物の近傍に接着した所定の試験片を所定の方向に引っ張るステップと、前記所定の試験片が引っ張られることにより前記所定の試験片と前記被着体との間の接着面に生じる応力を測定するステップと、測定した前記応力を出力するステップと、を含む試験方法である。
【発明の効果】
【0008】
本発明によれば、接着目的物を被着体に接着した接着剤の接着強度の経年変化を測定可能な試験装置及び試験方法を提供できる。
【図面の簡単な説明】
【0009】
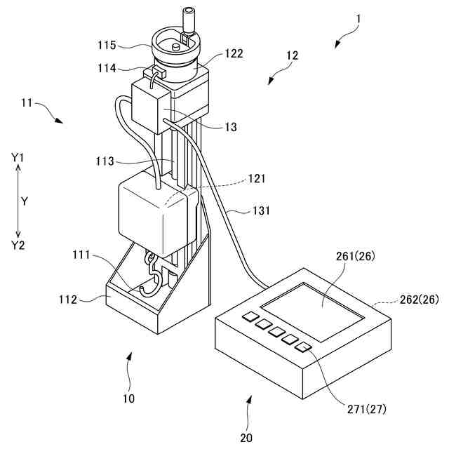
実施形態に係る試験装置1の構成を示す図である。
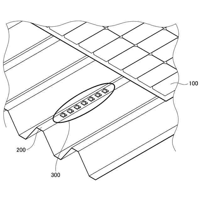
試験装置1の測定装置を被着体200に配置したときの構成を示す図である。
制御装置20のハードウェア構成の一例を示すブロック図である。
制御装置20における機能的構成の一例を示す機能ブロック図である。
測定装置10における処理の流れの一例を示すフローチャートである。
制御装置20における処理の流れの一例を示すフローチャートである。
制御装置20の出力部26のディスプレイ261に表示された演算結果のグラフの具体例を示す図である。
試験装置1が適用される試験の対象となる場所の具体例を示す図である。
荷重フックと試験片との位置合わせを正確に行うために設けられたスタンドゲージの構成の一例を示す図である。
試験装置1の他の構成を示す図である。
【発明を実施するための形態】
【0010】
以下、本発明に係る試験装置及び試験方法の一実施形態について、図面を用いて説明する。
<試験装置1の全体構成>
図1は、実施形態に係る試験装置1の全体の構成を示す図である。図2は、試験装置1の測定装置10を被着体200に配置したときの構成を示す図である。図2では、荷重フック111と試験片300の接続を分かり易くするため、押えフレーム112(図1参照)を想像線(二点鎖線)で示している。また、図2では、ロードセンサ121の内部構造を分かり易くするため、カバー124を外した状態を示している。なお、図1、図2及び図9では、図を用紙に対して横長の配置で見たときの上下(垂直)方向をY方向とする。Y方向においては、上側をY1側、下側をY2側とする。
(【0011】以降は省略されています)
この特許をJ-PlatPat(特許庁公式サイト)で参照する
関連特許
株式会社電巧社
試験装置及び試験方法
25日前
株式会社電巧社
太陽光パネル、太陽光パネル支持部材、太陽光パネル設置支援システム及び太陽光パネル設置方法
2か月前
日本精機株式会社
検出装置
24日前
個人
採尿及び採便具
1か月前
個人
アクセサリー型テスター
1か月前
個人
計量機能付き容器
19日前
個人
高精度同時多点測定装置
1か月前
甲神電機株式会社
電流検出装置
24日前
日本精機株式会社
発光表示装置
2日前
株式会社カクマル
境界杭
9日前
株式会社ミツトヨ
測定器
1か月前
株式会社トプコン
測量装置
1日前
アズビル株式会社
電磁流量計
1か月前
大成建設株式会社
風洞実験装置
19日前
個人
非接触による電磁パルスの測定方法
22日前
ローム株式会社
半導体装置
1か月前
愛知時計電機株式会社
ガスメータ
1か月前
日本特殊陶業株式会社
ガスセンサ
17日前
日本特殊陶業株式会社
ガスセンサ
1日前
個人
計量具及び計量機能付き容器
19日前
ローム株式会社
半導体装置
1か月前
個人
システム、装置及び実験方法
1か月前
大和製衡株式会社
組合せ計量装置
1か月前
大和製衡株式会社
組合せ計量装置
1か月前
双庸電子株式会社
誤配線検査装置
25日前
日本信号株式会社
距離画像センサ
22日前
愛知電機株式会社
軸部材の外観検査装置
1か月前
日本特殊陶業株式会社
センサ
3日前
個人
液位検視及び品質監視システム
17日前
株式会社タイガーカワシマ
揚穀装置
1日前
株式会社不二越
X線測定装置
22日前
株式会社デンソー
電流センサ
1か月前
日本特殊陶業株式会社
センサ
1か月前
日東精工株式会社
振動波形検査装置
25日前
トヨタ自動車株式会社
測定システム
1か月前
キーコム株式会社
画像作成システム
9日前
続きを見る
他の特許を見る