TOP
|
特許
|
意匠
|
商標
特許ウォッチ
Twitter
他の特許を見る
公開番号
2025176264
公報種別
公開特許公報(A)
公開日
2025-12-04
出願番号
2024082288
出願日
2024-05-21
発明の名称
ガスセンサ
出願人
日本特殊陶業株式会社
代理人
個人
主分類
G01N
27/409 20060101AFI20251127BHJP(測定;試験)
要約
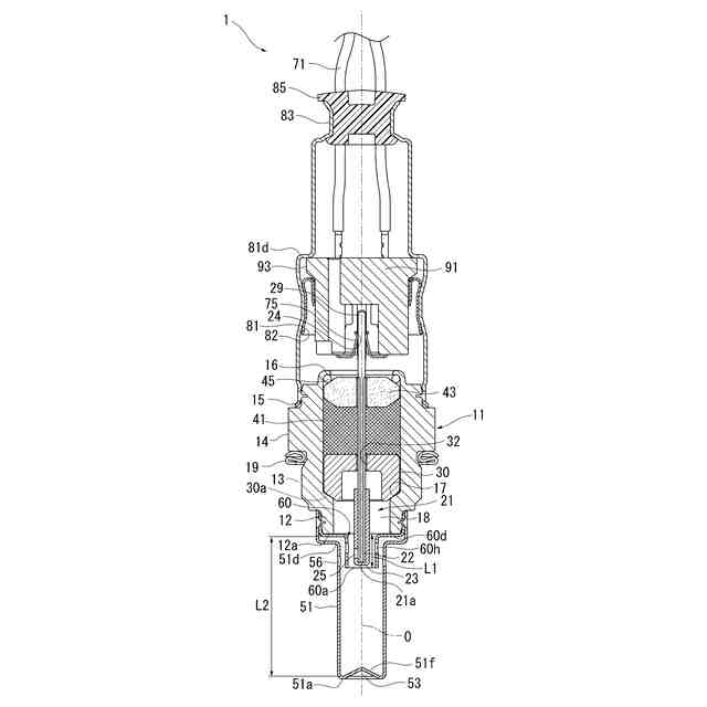
【課題】プロテクタを用いて耐被水性と応答性とをより一層向上させることができるガスセンサを提供する。
【解決手段】軸線O方向に延び、先端側に検知部が形成されたセンサ素子21と、主体金具11と、主体金具の先端側の周囲に固定されると共に、センサ素子の先端側を取り囲む有底筒状のプロテクタ51と、を備えたガスセンサ1であって、プロテクタは、側面に配置されたガス導入孔56と、ガス導入孔よりも先端側に配置されたガス排出孔53とを有し、さらに、センサ素子の先端側を取り囲むと共に、プロテクタの内側に配置された内筒60を有し、内筒の先端60aはガス導入孔よりも先端側まで延び、主体金具の先端よりも先端における、内筒の軸線方向の有効長さL1は、プロテクタの軸線方向の有効長さL2の1/2以下であり、かつ、内筒の先端とプロテクタの内面とが非接触である。
【選択図】図1
特許請求の範囲
【請求項1】
軸線方向に延び、先端側に検知部が形成されたセンサ素子と、
前記センサ素子の径方向周囲を取り囲んで保持する筒状の主体金具と、
前記主体金具の先端側の周囲に固定されると共に、前記センサ素子の前記先端側を取り囲む有底筒状のプロテクタと、
を備えたガスセンサであって、
前記プロテクタは、側面に配置されたガス導入孔と、前記ガス導入孔よりも先端側に配置されたガス排出孔とを有し、
さらに、前記センサ素子の前記先端側を取り囲むと共に、前記プロテクタの内側に配置された内筒を有し、
前記内筒の先端は前記ガス導入孔よりも先端側まで延び、
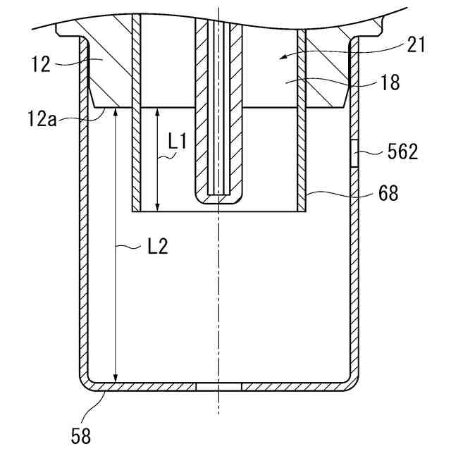
前記主体金具の先端よりも先端における、前記内筒の前記軸線方向の有効長さL1は、前記プロテクタの前記軸線方向の有効長さL2の1/2以下であり、
かつ、前記内筒の前記先端と前記プロテクタの内面とが非接触であることを特徴とするガスセンサ。
続きを表示(約 470 文字)
【請求項2】
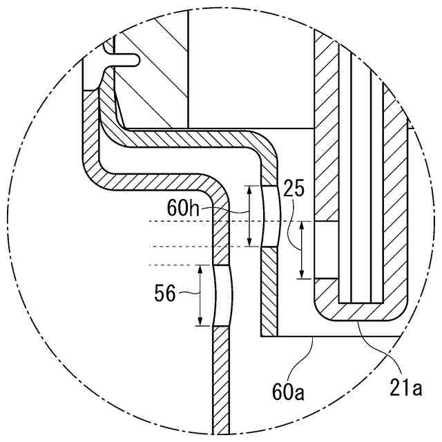
前記内筒の側面に開口部が設けられ、
前記内筒の中心から外側に向かう径方向において、前記開口部は前記ガス導入孔と重ならないことを特徴とする請求項1に記載のガスセンサ。
【請求項3】
前記開口部は前記ガス導入孔よりも後端側に位置することを特徴とする請求項2に記載のガスセンサ。
【請求項4】
前記センサ素子は、前記検知部に被検出ガスを導入するための素子導入孔を先端側に有し、
前記素子導入孔は前記開口部と前記軸線方向に重なることを特徴とする請求項1又は2記載のガスセンサ。
【請求項5】
前記内筒の前記先端は、前記センサ素子の先端よりも先端側に位置することを特徴とする請求項1又は2記載のガスセンサ。
【請求項6】
前記プロテクタが最外層であることを特徴とする請求項1又は2記載のガスセンサ。
【請求項7】
前記内筒は底面を有さず、前記内筒の前記先端が前記軸線方向に延びることを特徴とする請求項1又は2記載のガスセンサ。
発明の詳細な説明
【技術分野】
【0001】
本発明は、プロテクタを備えたガスセンサに関する。
続きを表示(約 2,200 文字)
【背景技術】
【0002】
従来から、筒状の主体金具にセンサ素子を保持し、さらに排ガスに晒されるセンサ素子の先端側を一重又は二重のプロテクタで保護するガスセンサが知られている。このプロテクタにはガス導入孔が設けられているが、排ガスに混入した凝縮水がセンサ素子に到達するのを抑制する耐被水性と、センサ素子の検知部へ速やかに排ガスを導入する応答性とを要求される。ここで、センサ素子は自身のヒータ、又は高温の排ガスによって加熱されており、このセンサ素子に凝縮水が接触すると熱衝撃が生じて素子割れが生じるおそれがある。
【0003】
そこで、プロテクタを一重として応答性を向上させると共に、プロテクタに設けた水平な段部にガス導入孔を設け、ガス導入孔を主体金具の先端側に近接させる技術が開発されている(特許文献1)。
この技術によれば、排ガスはガス導入孔から一旦、後端側の主体金具へ向かい、その後、ガス導入孔と主体金具との間の内部空間で向きを変えてプロテクタ内部を先端側へ向かう。このとき、主体金具の先端向き面に凝縮水が当たって破壊され、細かい水滴となるため、耐被水性を向上させることができる。
【先行技術文献】
【特許文献】
【0004】
特開2022-72458号公報
【発明の概要】
【発明が解決しようとする課題】
【0005】
しかしながら、ガス導入孔をプロテクタの水平段部に設ける場合、応答性を向上させる点で限界がある。
本発明は、かかる現状に鑑みてなされたものであって、プロテクタを用いて耐被水性と応答性とをより一層向上させることができるガスセンサを提供することを目的とする。
【課題を解決するための手段】
【0006】
上記課題を解決するため、本発明のガスセンサは、軸線方向に延び、先端側に検知部が形成されたセンサ素子と、前記センサ素子の径方向周囲を取り囲んで保持する筒状の主体金具と、前記主体金具の先端側の周囲に固定されると共に、前記センサ素子の前記先端側を取り囲む有底筒状のプロテクタと、を備えたガスセンサであって、前記プロテクタは、側面に配置されたガス導入孔と、前記ガス導入孔よりも先端側に配置されたガス排出孔とを有し、さらに、前記センサ素子の前記先端側を取り囲むと共に、前記プロテクタの内側に配置された内筒を有し、前記内筒の先端は前記ガス導入孔よりも先端側まで延び、前記主体金具の先端よりも先端における、前記内筒の前記軸線方向の有効長さL1は、前記プロテクタの前記軸線方向の有効長さL2の1/2以下であり、かつ、前記内筒の前記先端と前記プロテクタの内面とが非接触であることを特徴とする。
【0007】
このガスセンサによれば、プロテクタの側面(側面)にガス導入孔が配置されていることで、ガス導入孔をプロテクタの水平段部に設ける場合に比べ、排ガス等の被測定ガスがガス導入孔からプロテクタ内部に流入し易く、応答性を向上させることができる。但し、この場合、被測定ガスに含まれる凝縮水がプロテクタ内部のセンサ素子に直接当たるので、耐被水性が低下する。
そこで、プロテクタの内側に内筒を配置してセンサ素子の先端側を取り囲むことで、センサ素子への凝縮水の接触を内筒が妨げ、耐被水性を向上させることができる。
以上により、プロテクタを用いて耐被水性と応答性とをより一層向上(両立)させることができる。
【0008】
ここで、内筒の先端がガス導入孔よりも先端側まで延びることで、内筒の側面がガス導入孔と重なるので、ガス導入孔からセンサ素子への凝縮水の接触を確実に妨げる。
また、内筒の軸線方向の有効長さL1がプロテクタの軸線方向の有効長さL2の1/2以下であるので、内筒が介在しないプロテクタの実際の内部空間が増え、ガス導入孔からガス排出孔へ至る被測定ガスの排出を妨げず、応答性を確実に向上させることができる。
さらに、内筒の先端とプロテクタの内面とが非接触であるので、内筒とプロテクタの間に挟まれた空間から被測定ガスがガス排出孔へ排出され易くなり、応答性をさらに向上させることができる。
【0009】
本発明のガスセンサにおいて、前記内筒の側面に開口部が設けられ、前記内筒の中心から外側に向かう径方向において、前記開口部は前記ガス導入孔と重ならないようにしてもよい。
このガスセンサによれば、排ガス等の被測定ガスが開口部からセンサ素子に流入し易く、応答性を向上させることができる。また、開口部はガス導入孔と重ならないので、ガス導入孔からセンサ素子への凝縮水の接触を内筒の側面が妨げる機能を損なわず、耐被水性も維持できる。なお、「内筒の中心から外側に向かう径方向」とは、ガス導入孔の軸線に垂直な方向でもある。
【0010】
本発明のガスセンサにおいて、前記開口部は前記ガス導入孔よりも後端側に位置してもよい。
ガス導入孔からプロテクタの内部(プロテクタと内筒の間の空間)に流入した凝縮水は、重力の関係で先端側に落ちてゆく。そこで、開口部をガス導入孔よりも後端側に位置させれば、凝縮水が開口部に入ることを抑制でき、耐被水性を向上させることができる。
(【0011】以降は省略されています)
この特許をJ-PlatPat(特許庁公式サイト)で参照する
関連特許
日本特殊陶業株式会社
センサ
8日前
日本特殊陶業株式会社
賦形体
15日前
日本特殊陶業株式会社
反応装置
1日前
日本特殊陶業株式会社
保持装置
20日前
日本特殊陶業株式会社
ガスセンサ
22日前
日本特殊陶業株式会社
ガスセンサ
6日前
日本特殊陶業株式会社
ガスセンサ
今日
日本特殊陶業株式会社
アンテナ装置
1日前
日本特殊陶業株式会社
アンテナ装置
1日前
日本特殊陶業株式会社
アンテナ装置
1日前
日本特殊陶業株式会社
超音波トランスデューサ
6日前
日本特殊陶業株式会社
超音波トランスデューサ
6日前
日本特殊陶業株式会社
非接触給電用のコイルユニット
今日
日本特殊陶業株式会社
無線給電用コイル、および無線給電用デバイス
14日前
日本特殊陶業株式会社
多孔性担体、触媒体、および多孔性担体の製造方法
8日前
日本特殊陶業株式会社
屋内緑化システム、制御方法、および制御プログラム
7日前
日本特殊陶業株式会社
酸素発生反応用触媒、電極、および電気化学デバイス
20日前
日本精機株式会社
検出装置
29日前
個人
採尿及び採便具
1か月前
個人
高精度同時多点測定装置
1か月前
個人
計量機能付き容器
24日前
日本精機株式会社
発光表示装置
7日前
株式会社カクマル
境界杭
14日前
株式会社ミツトヨ
測定器
1か月前
甲神電機株式会社
電流検出装置
29日前
株式会社トプコン
測量装置
6日前
アズビル株式会社
電磁流量計
1か月前
大成建設株式会社
風洞実験装置
24日前
日本特殊陶業株式会社
ガスセンサ
22日前
個人
非接触による電磁パルスの測定方法
27日前
日本特殊陶業株式会社
ガスセンサ
今日
日本信号株式会社
距離画像センサ
27日前
個人
計量具及び計量機能付き容器
24日前
愛知電機株式会社
軸部材の外観検査装置
1か月前
双庸電子株式会社
誤配線検査装置
1か月前
大和製衡株式会社
組合せ計量装置
1か月前
続きを見る
他の特許を見る