TOP
|
特許
|
意匠
|
商標
特許ウォッチ
Twitter
他の特許を見る
公開番号
2025168903
公報種別
公開特許公報(A)
公開日
2025-11-12
出願番号
2024073756
出願日
2024-04-30
発明の名称
ガスセンサ
出願人
日本特殊陶業株式会社
代理人
個人
主分類
G01N
27/409 20060101AFI20251105BHJP(測定;試験)
要約
【課題】一重のプロテクタを用いて耐被水性を確実に向上させることができるガスセンサを提供する。
【解決手段】センサ素子21と、一重のプロテクタ51と、を備え、プロテクタは、先端向き面51f1を有する大径部51xと、大径部から先端側に突出し、先端向き面に連結する小径部51yと、先端向き面に形成された複数個のガス導入孔56と、を有するガスセンサ1であって、ガス導入孔の径方向内側には、後端側に向かって延びるルーバ51Lが設けられ、軸線O方向に沿ってプロテクタの重心Gを通りつつ、1つのルーバを周方向に等分する特定断面を見たとき、センサ素子の先端を通り軸線方向に垂直な仮想線Vと第1の周壁の内面との交点Pに対し、ルーバの径方向外側の面の先端Qと交点Pとを結ぶ線分をLとし、線分Lと先端向き面とのなす角度を仮想取付角度αとしたとき、ルーバの実際の取付角度Fをα未満とする。
【選択図】図2
特許請求の範囲
【請求項1】
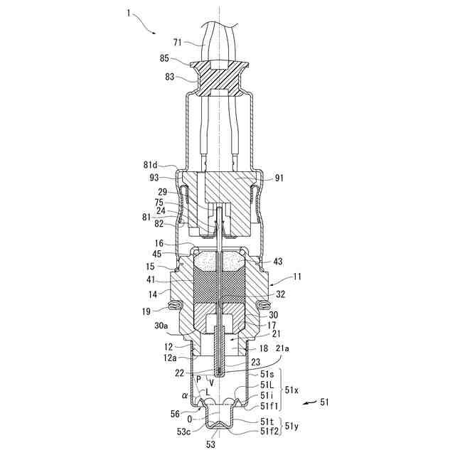
軸線方向に延び、先端側に被検出ガスを検知する検知部が形成されたセンサ素子と、
前記センサ素子の径方向周囲を取り囲んで保持する筒状の主体金具と、
前記主体金具の先端側に固定される一重のプロテクタと、
を備え、
前記プロテクタは、前記センサ素子の前記先端側を取り囲む筒状の第1の周壁およびその先端側に接続する先端向き面を有する大径部と、
前記大径部から前記軸線方向先端側に突出し、前記先端向き面に連結する筒状の第2の周壁およびその先端側に接続する底面を有する小径部と、
前記先端向き面に周方向に間隔を開けて形成された複数個のガス導入孔と、を有し、
前記第1の周壁の外径は、前記第2の周壁の外径よりも大きいガスセンサであって、
前記ガス導入孔の径方向内側には、後端側に向かって延びるルーバが設けられ、
前記軸線方向に沿って前記プロテクタの重心を通りつつ、1つの前記ルーバを周方向に等分する特定断面を見たとき、前記センサ素子の先端を通り前記軸線方向に垂直な仮想線と前記第1の周壁の内面との交点Pに対し、前記ルーバの径方向外側の面の先端Qと交点Pとを結ぶ線分をLとし、前記線分Lと前記先端向き面とのなす角度を仮想取付角度αとしたとき、
前記ルーバの実際の取付角度Fをα未満とすることを特徴とするガスセンサ。
続きを表示(約 530 文字)
【請求項2】
請求項1に記載のガスセンサであって、
前記ガスセンサの前記センサ素子と、前記主体金具と、前記ルーバの取付角度を種々変更した前記プロテクタとの3次元モデルを構築し、前記ガスセンサを排気管に取り付けて25℃の大気を流速5m/sで流したときの前記プロテクタ内のガス置換の状態を数値流体力学シミュレーションの乱流モデルにより求め、
ここで、時刻0秒で前記排気管入口からO
2
拡散係数を定義したパッシブスカラー物質を流入させ、前記センサ素子の先端の前記パッシブスカラー物質の置換割合を時刻歴で抽出する定常状態の単相流れ解析を行ったとき、
前記ルーバの取付角度が70度のときのガス置換時間Tに対し、T×1.2となるときの前記ルーバの第2仮想取付角度をβとしたとき(但し、β<α)、
前記ルーバの取付角度Fをβ以上、α未満とすることを特徴とするガスセンサ。
【請求項3】
前記ルーバの取付角度Fを58度未満とすることを特徴とする請求項1に記載のガスセンサ。
【請求項4】
前記ルーバの取付角度Fを47度以上、58度未満とすることを特徴とする請求項2に記載のガスセンサ。
発明の詳細な説明
【技術分野】
【0001】
本発明は、被検出ガス中に晒される検出素子を被水から保護するプロテクタを備えたガスセンサに関する。
続きを表示(約 2,300 文字)
【背景技術】
【0002】
従来から、筒状の主体金具にセンサ素子を保持し、さらに排ガス等の被測定ガスに晒されるセンサ素子の先端側を一重又は二重のプロテクタで保護するガスセンサが知られている。このプロテクタにはガス導入孔が設けられているが、排ガスに混入した凝縮水がセンサ素子に到達するのを抑制する耐被水性と、センサ素子の検知部へ速やかに排ガスを導入する応答性とを要求される。ここで、センサ素子は自身のヒータ、又は高温の排ガスによって加熱されており、このセンサ素子に凝縮水が接触すると熱衝撃が生じて素子割れが生じるおそれがある。
【0003】
そこで、プロテクタを一重として応答性を向上させると共に、プロテクタに設けた水平な段部にガス導入のためのルーバ状の開口を設けた技術が開発されている(特許文献1)。
この技術によれば、プロテクタの筒面(周壁)に開口を設けないので、被検出ガスの流れの方向に沿って開口がない。このため、被測定ガスは、検出素子に到達するまでにプロテクタ内でルーバに沿って流れ方向を変え、開口付近に被検出ガス中の凝縮水(水滴)がトラップされるので、凝縮水が検出素子に付着することを抑制できる。
【先行技術文献】
【特許文献】
【0004】
特開2013-257192号公報
【発明の概要】
【発明が解決しようとする課題】
【0005】
このように、一重プロテクタで問題となる耐被水性に対し、ガスを導入する開口をルーバ状にすると有効であるが、ルーバ角によっては耐被水性が低下することが判明した。
本発明は、かかる現状に鑑みてなされたものであって、一重のプロテクタを用いて耐被水性を確実に向上させることができるガスセンサを提供することを目的とする。
【課題を解決するための手段】
【0006】
上記課題を解決するため、本発明のガスセンサは、軸線方向に延び、先端側に被検出ガスを検知する検知部が形成されたセンサ素子と、前記センサ素子の径方向周囲を取り囲んで保持する筒状の主体金具と、前記主体金具の先端側に固定される一重のプロテクタと、を備え、前記プロテクタは、前記センサ素子の前記先端側を取り囲む筒状の第1の周壁およびその先端側に接続する先端向き面を有する大径部と、前記大径部から前記軸線方向先端側に突出し、前記先端向き面に連結する筒状の第2の周壁およびその先端側に接続する底面を有する小径部と、前記先端向き面に周方向に間隔を開けて形成された複数個のガス導入孔と、を有し、前記第1の周壁の外径は、前記第2の周壁の外径よりも大きいガスセンサであって、前記ガス導入孔の径方向内側には、後端側に向かって延びるルーバが設けられ、前記軸線方向に沿って前記プロテクタの重心を通りつつ、1つの前記ルーバを周方向に等分する特定断面を見たとき、前記センサ素子の先端を通り前記軸線方向に垂直な仮想線と前記第1の周壁の内面との交点Pに対し、前記ルーバの径方向外側の面の先端Qと交点Pとを結ぶ線分をLとし、前記線分Lと前記先端向き面とのなす角度を仮想取付角度αとしたとき、前記ルーバの実際の取付角度Fをα未満とすることを特徴とする。
【0007】
ルーバを仮想取付角度α以上で設けた場合、ガス導入孔からルーバの径方向外側の面(内壁)に沿って流れた被検出ガスは、第1の周壁の内面の交点Pに当たって水平方向に跳ね返ってセンサ素子に当たり、被検出ガス中の凝縮水がセンサ素子に付着する可能性がある。
そこで、F<αとすると、被検出ガス中の凝縮水が交点Pに当たって水平方向に跳ね返っても、センサ素子よりも先端側に移動するだけであるので、被検出ガス中の凝縮水がセンサ素子に付着することを確実に抑制できる。
なお、交点Pに当たった凝縮水が水平方向より上方(後端側)まで到達することは、重力の関係から想定し難い。
【0008】
本発明のガスセンサにおいて、前記ガスセンサの前記センサ素子と、前記主体金具と、前記ルーバの取付角度を種々変更した前記プロテクタとの3次元モデルを構築し、前記ガスセンサを排気管に取り付けて25℃の大気を流速5m/sで流したときの前記プロテクタ内のガス置換の状態を数値流体力学シミュレーションの乱流モデルにより求め、ここで、時刻0秒で前記排気管入口からO
2
拡散係数を定義したパッシブスカラー物質を流入させ、前記センサ素子の先端の前記パッシブスカラー物質の置換割合を時刻歴で抽出する定常状態の単相流れ解析を行ったとき、前記ルーバの取付角度が70度のときのガス置換時間Tに対し、T×1.2となるときの前記ルーバの第2仮想取付角度をβとしたとき(但し、β<α)、前記ルーバの取付角度Fをβ以上、α未満としてもよい。
【0009】
上記した流体解析の結果、取付角度Fが小さくなると、応答性が低下する傾向にあることが判明した。
そこで、上記したように耐被水性を確保できるF<αの条件下で、さらにβ≦Fとすると、耐被水性と応答性を共に向上させることができる。
【0010】
本発明のガスセンサにおいて、前記ルーバの取付角度Fを58度未満としてもよい。
また、本発明のガスセンサにおいて、前記ルーバの取付角度Fを47度以上、58度未満としてもよい。
【発明の効果】
(【0011】以降は省略されています)
この特許をJ-PlatPat(特許庁公式サイト)で参照する
関連特許
日本特殊陶業株式会社
電極
1か月前
日本特殊陶業株式会社
電極
1か月前
日本特殊陶業株式会社
電極
1か月前
日本特殊陶業株式会社
電極
1か月前
日本特殊陶業株式会社
センサ
19日前
日本特殊陶業株式会社
センサ
1か月前
日本特殊陶業株式会社
センサ
1か月前
日本特殊陶業株式会社
センサ
1か月前
日本特殊陶業株式会社
センサ
1か月前
日本特殊陶業株式会社
センサ
1か月前
日本特殊陶業株式会社
保持部材
26日前
日本特殊陶業株式会社
保持装置
5日前
日本特殊陶業株式会社
保持装置
1か月前
日本特殊陶業株式会社
保持装置
1か月前
日本特殊陶業株式会社
保持装置
1か月前
日本特殊陶業株式会社
保持装置
1か月前
日本特殊陶業株式会社
圧電素子
19日前
日本特殊陶業株式会社
保持装置
22日前
日本特殊陶業株式会社
加熱装置
26日前
日本特殊陶業株式会社
化学センサ
7日前
日本特殊陶業株式会社
圧電発音体
1か月前
日本特殊陶業株式会社
ガスセンサ
今日
日本特殊陶業株式会社
電極埋設部材
6日前
日本特殊陶業株式会社
超音波発生装置
1か月前
日本特殊陶業株式会社
スパークプラグ
26日前
日本特殊陶業株式会社
超音波発生装置
1か月前
日本特殊陶業株式会社
スパークプラグ
5日前
日本特殊陶業株式会社
セラミック部品
1か月前
日本特殊陶業株式会社
マイクロリアクタ
1か月前
日本特殊陶業株式会社
ホットモジュール
1か月前
日本特殊陶業株式会社
セラミックヒータ
1か月前
日本特殊陶業株式会社
ホットモジュール
1か月前
日本特殊陶業株式会社
セラミックヒータ
1か月前
日本特殊陶業株式会社
セラミックヒータ
1か月前
日本特殊陶業株式会社
無鉛圧電磁器組成物
19日前
日本特殊陶業株式会社
圧電セラミック積層体
1か月前
続きを見る
他の特許を見る