TOP
|
特許
|
意匠
|
商標
特許ウォッチ
Twitter
他の特許を見る
10個以上の画像は省略されています。
公開番号
2025176351
公報種別
公開特許公報(A)
公開日
2025-12-04
出願番号
2024082435
出願日
2024-05-21
発明の名称
非接触給電用のコイルユニット
出願人
日本特殊陶業株式会社
代理人
弁理士法人グランダム特許事務所
主分類
H02J
50/10 20160101AFI20251127BHJP(電力の発電,変換,配電)
要約
【課題】コイルの冷却効率を高められる。
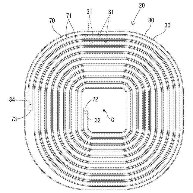
【解決手段】コイルユニット10は、導線71が平面状に巻回されてなるコイル70を含むコイル部20と、コイル部20の一面側に配置される冷却部30と、を備える。冷却部30は、冷媒を流す流路31を有している。冷却部30は、セラミックスを含む材質からなる。
【選択図】図3
特許請求の範囲
【請求項1】
導線が平面状に巻回されてなるコイルを含むコイル部と、
前記コイル部の一面側に配置される冷却部と、を備える非接触給電用のコイルユニットであって、
前記冷却部は、冷媒を流す流路を有し、
前記冷却部は、セラミックスを含む材質からなる、
非接触給電用のコイルユニット。
続きを表示(約 840 文字)
【請求項2】
前記冷却部は、溝を有する本体部と、前記本体部を覆う蓋部と、を有し、
前記溝の開口に前記蓋部が被さって前記流路が構成され、
前記本体部は、セラミックスを含む材質からなる、請求項1に記載の非接触給電用のコイルユニット。
【請求項3】
前記蓋部は、セラミックスを含む材質からなる、請求項2に記載の非接触給電用のコイルユニット。
【請求項4】
前記蓋部は、樹脂を含む材質からなる、請求項2に記載の非接触給電用のコイルユニット。
【請求項5】
前記蓋部は、樹脂のマトリックスにセラミックスの粒子が分散された材質からなり、
前記樹脂は、熱硬化性樹脂を含む、請求項2に記載の非接触給電用のコイルユニット。
【請求項6】
前記冷却部に含まれるセラミックスは、アルミナ、窒化アルミニウム、窒化ケイ素、ジルコニア、及び窒化ホウ素からなる群より選択される少なくとも1種を含む、
請求項1から請求項5のいずれか一項に記載の非接触給電用のコイルユニット。
【請求項7】
前記コイル部は、磁性体を備え、
前記コイルの端部は電極接続部とされており、
前記端部を除いた前記コイルは、前記磁性体内に埋まることで、前記磁性体に周囲を囲まれた状態とされ、
前記導線の軸と垂直な少なくとも1つの断面において、前記コイルのうち前記導線が隣合い並んだ部分における隣合う前記導線間は、前記磁性体によって充填されている、
請求項1から請求項5のいずれか一項に記載の非接触給電用のコイルユニット。
【請求項8】
前記冷却部における前記コイル部とは反対側に、磁性部材と、電磁気シールド部材と、をこの順に備え、
前記磁性部材の複素比透磁率は、前記磁性体の複素比透磁率よりも大きい、
請求項7に記載の非接触給電用のコイルユニット。
発明の詳細な説明
【技術分野】
【0001】
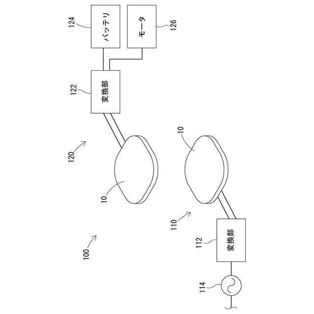
本開示は、非接触給電用のコイルユニットに関する。
続きを表示(約 1,600 文字)
【背景技術】
【0002】
非接触給電で用いられるコイルは、少なからず電気抵抗を有するため、与えられた電気エネルギーの一部が損失して熱に変わる。温度上昇はコイルの電気抵抗の上昇につながり、結果として給電効率の低下を招いてしまう。また、当然ながら発熱によりコイルだけではなく、周りの機器にも悪い影響を及ぼしてしまう。配線の電気抵抗を下げることで発熱を抑えられるが、近接効果や表皮効果等、電気抵抗が上昇してしまう要因もあり、発熱の抑制が難しかった。
【0003】
例えば、特許文献1には、車両の走行用の電力の非接触伝送に使用されるコイルユニットが開示されている。このコイルユニットは、コイルと、コイルを保持する板状のコイルホルダと、を備えている。コイルホルダには、コイルホルダの板面に沿って設けられ、コイルを構成する導体が配置されるスパイラル状の第1通路と、第1通路に沿った経路で、且つ、第1通路と少なくともコイルホルダの板面に沿った方向に異なる位置に設けられ、冷却材が配置されるスパイラル状の第2通路と、が含まれている。
【先行技術文献】
【特許文献】
【0004】
特開2018-85808号公報
【発明の概要】
【発明が解決しようとする課題】
【0005】
特許文献1のコイルユニットでは、コイルホルダが樹脂を材質として形成される構成が例示されているが、コイルの冷却効率が十分ではなかった。また、金属製の冷却配管等を用いた場合、コイルからの電磁界によって誘導起電力が発生してそれ自体が発熱するおそれがある。そこで、コイルをより一層効率良く冷却できる構成が求められている。
本開示は、上記実情に鑑みてなされたものであり、コイルの冷却効率を高められる非接触給電用のコイルユニットを提供することを目的とする。本開示は、以下の形態として実現することが可能である。
【課題を解決するための手段】
【0006】
〔1〕導線が平面状に巻回されてなるコイルを含むコイル部と、
前記コイル部の一面側に配置される冷却部と、を備える非接触給電用のコイルユニットであって、
前記冷却部は、冷媒を流す流路を有し、
前記冷却部は、セラミックスを含む材質からなる、
非接触給電用のコイルユニット。
【0007】
上記〔1〕の非接触給電用のコイルユニットによれば、冷却部は、比較的に熱伝導率の高いセラミックスを含む材質からなるため、熱伝導を高められる。また、冷却部が金属単体で構成される場合では、コイルからの電磁界によって誘導起電力が生じて発熱するおそれがあるが、このコイルユニットでは冷却部が比較的に熱伝導率及び電気抵抗の高いセラミックスを含む材質からなるため、このような発熱を抑制できる。したがって、このコイルユニットでは、コイルの冷却効率を高められる。
【0008】
〔2〕前記冷却部は、溝を有する本体部と、前記本体部を覆う蓋部と、を有し、
前記溝の開口に前記蓋部が被さって前記流路が構成され、
前記本体部は、セラミックスを含む材質からなる、〔1〕に記載の非接触給電用のコイルユニット。
【0009】
上記〔2〕の非接触給電用のコイルユニットによれば、セラミックスを含む材質からなる本体部において、孔を形成するよりも溝を形成する方が容易である。そのため、本体部に溝を形成し、蓋部を溝の開口に被せることで、流路を容易に形成できる。
【0010】
〔3〕前記蓋部は、セラミックスを含む材質からなる、〔2〕に記載の非接触給電用のコイルユニット。
(【0011】以降は省略されています)
この特許をJ-PlatPat(特許庁公式サイト)で参照する
関連特許
日本特殊陶業株式会社
センサ
8日前
日本特殊陶業株式会社
賦形体
15日前
日本特殊陶業株式会社
反応装置
1日前
日本特殊陶業株式会社
保持装置
20日前
日本特殊陶業株式会社
ガスセンサ
6日前
日本特殊陶業株式会社
ガスセンサ
22日前
日本特殊陶業株式会社
ガスセンサ
今日
日本特殊陶業株式会社
アンテナ装置
1日前
日本特殊陶業株式会社
アンテナ装置
1日前
日本特殊陶業株式会社
アンテナ装置
1日前
日本特殊陶業株式会社
スパークプラグ
27日前
日本特殊陶業株式会社
セルスタックシステム
27日前
日本特殊陶業株式会社
超音波トランスデューサ
6日前
日本特殊陶業株式会社
超音波トランスデューサ
6日前
日本特殊陶業株式会社
検知装置および検知方法
27日前
日本特殊陶業株式会社
非接触給電用のコイルユニット
今日
日本特殊陶業株式会社
無線給電用コイル、および無線給電用デバイス
14日前
日本特殊陶業株式会社
多孔性担体、触媒体、および多孔性担体の製造方法
8日前
日本特殊陶業株式会社
屋内緑化システム、制御方法、および制御プログラム
7日前
日本特殊陶業株式会社
酸素発生反応用触媒、電極、および電気化学デバイス
20日前
個人
電気を重力で発電装置
28日前
個人
高圧電気機器の開閉器
15日前
キヤノン電子株式会社
モータ
1か月前
キヤノン電子株式会社
モータ
27日前
日星電気株式会社
ケーブル組立体
1か月前
コーセル株式会社
電源装置
1か月前
株式会社アイドゥス企画
減反モータ
15日前
トヨタ自動車株式会社
モータ
27日前
株式会社デンソー
端子台
8日前
株式会社デンソー
回転機
1か月前
個人
二次電池繰返パルス放電器用印刷基板
1か月前
本田技研工業株式会社
回転電機
1日前
株式会社ミツバ
回転電機
1か月前
株式会社デンソー
電力変換装置
1か月前
ローム株式会社
半導体集積回路
6日前
株式会社デンソー
電力変換装置
1か月前
続きを見る
他の特許を見る