TOP
|
特許
|
意匠
|
商標
特許ウォッチ
Twitter
他の特許を見る
10個以上の画像は省略されています。
公開番号
2025175430
公報種別
公開特許公報(A)
公開日
2025-12-03
出願番号
2024081536
出願日
2024-05-20
発明の名称
回転電機
出願人
本田技研工業株式会社
代理人
個人
,
個人
主分類
H02K
1/276 20220101AFI20251126BHJP(電力の発電,変換,配電)
要約
【課題】ロータの強度を担保しつつ最大トルクを上昇させる。
【解決手段】回転電機のロータには、磁極中心線CL1と直交するように径方向内側および外側に延設された磁石収容孔311,314と、磁石収容孔311,314の周方向両側に設けられ、磁極中心線CL1から離れるに従い径方向外側に向かうように磁極中心線CL1に対し傾斜して延設された磁石収容孔312,313,315,316と、が設けられ、これら磁石収容孔311~316に永久磁石411~416が収容される。永久磁石412,413の幅方向の中心から厚さ方向に延在する延長線L21と磁極中心線CL1とのなす角度θ1は、永久磁石415,416の幅方向の中心から厚さ方向に延在する延長線L22と磁極中心線CL1とのなす角度θ2よりも大きい。
【選択図】図2
特許請求の範囲
【請求項1】
軸線を中心に回転するロータと、該ロータの外周面の周囲に配置され、前記ロータに対する回転磁界を生成するステータと、を備える回転電機であって、
前記ロータは、軸方向に延在する磁石収容孔が設けられたロータコアと、前記磁石収容孔に収容された永久磁石と、を有するとともに、周方向複数の磁極部によって構成され、
前記磁石収容孔は、前記周方向複数の磁極部の各々に前記軸線から放射状に延在する磁極中心線に関して対称に設けられた複数の磁石収容孔を含み、
前記複数の磁石収容孔は、
前記磁極中心線と直交するように径方向内側および径方向外側にそれぞれ延設された内側中央収容孔および外側中央収容孔と、
前記内側中央収容孔の周方向両側に設けられ、前記磁極中心線から離れるに従い径方向外側に向かうように前記磁極中心線に対し傾斜して延設された一対の内側傾斜収容孔と、
前記外側中央収容孔の周方向両側に設けられ、前記磁極中心線から離れるに従い径方向外側に向かうように前記磁極中心線に対し傾斜して延在する一対の外側傾斜収容孔と、を含み、
前記永久磁石は、前記複数の磁石収容孔に収容され、長手方向の幅と短手方向の厚さとを有する複数の永久磁石を含み、
前記複数の永久磁石は、前記内側中央収容孔に収容された内側中央永久磁石と、一対の前記内側傾斜収容孔に収容された一対の内側傾斜永久磁石と、前記外側中央収容孔に収容された外側中央永久磁石と、一対の前記外側傾斜収容孔に収容された一対の外側傾斜永久磁石と、を含み、
前記ロータコアは、前記内側中央収容孔と前記内側傾斜収容孔との間に設けられた内側リブと、前記外側中央収容孔と前記外側傾斜収容孔との間に設けられた外側リブと、を有し、
前記内側傾斜永久磁石の幅方向の中心から厚さ方向に延在する第1基準線と前記磁極中心線とのなす角度は、前記外側傾斜永久磁石の幅方向の中心から厚さ方向に延在する第2基準線と前記磁極中心線とのなす角度よりも大きいことを特徴とする回転電機。
続きを表示(約 870 文字)
【請求項2】
請求項1に記載の回転電機において、
前記内側リブは、前記内側中央収容孔と前記内側傾斜収容孔との間を、前記磁極中心線に向かう第3基準線に沿って延設され、
前記外側リブは、前記外側中央収容孔と前記外側傾斜収容孔との間を、前記磁極中心線に向かう第4基準線に沿って延設され、
前記第3基準線と前記磁極中心線とのなす角度は、前記第4基準線と前記磁極中心線とのなす角度よりも大きいことを特徴とする回転電機。
【請求項3】
請求項1に記載の回転電機において、
前記ロータコアには、前記内側リブを挟んで、前記内側中央収容孔の幅方向端部に隣接した第1フラックスバリアと、前記内側傾斜収容孔の幅方向端部に隣接した第2フラックスバリアと、がさらに設けられ、
前記内側リブが延設される方向における前記第1フラックスバリアの長さおよび前記第2フラックスバリアの長さは、前記永久磁石の厚さ以上であり、かつ、前記内側リブが延設される方向における前記第2フラックスバリアの長さは、前記第1フラックスバリアの長さよりも長いことを特徴とする回転電機。
【請求項4】
請求項1から3のいずれか1項に記載の回転電機において、
前記複数の磁石収容孔は、
前記磁極中心線と直交するように前記内側中央収容孔よりも径方向内側に延設された第3中央収容孔と、
前記第3中央収容孔の周方向両側に設けられ、前記磁極中心線から離れるに従い径方向外側に向かうように前記磁極中心線に対し傾斜して延設された一対の第3傾斜収容孔と、をさらに含み、
前記複数の永久磁石は、前記第3中央収容孔に収容された第3中央永久磁石と、一対の前記第3傾斜収容孔に収容された一対の第3傾斜永久磁石と、をさらに含み、
前記第3傾斜永久磁石の幅方向の中心から厚さ方向に延在する第5基準線と前記磁極中心線とのなす角度は、前記第1基準線と前記磁極中心線とのなす角度よりも大きいことを特徴とする回転電機。
発明の詳細な説明
【技術分野】
【0001】
本発明は、永久磁石が埋め込まれたロータを有する回転電機に関する。
続きを表示(約 2,200 文字)
【背景技術】
【0002】
従来より、ロータの周方向複数の磁極部の内周側と外周側とにそれぞれ複数の磁石を配置して構成された回転電機が知られている(例えば特許文献1参照)。特許文献1記載の回転電機では、ロータの周方向複数の磁極部における磁極中心の両側に、磁極中心に対して対称に略V字状に複数の磁石装填部が設けられ、複数の磁石装填部の各々に磁石が配置される。
【先行技術文献】
【特許文献】
【0003】
特開2020-137139号公報
【発明の概要】
【発明が解決しようとする課題】
【0004】
上記特許文献1記載の回転電機のようにロータの磁極中心の両側に磁石装填部が設けられる場合、ロータの十分な強度を確保するために、ロータの磁極中心の両側の一対の磁石装填部の間の長さを長くする必要がある。しかしながら、一対の磁石装填部間の長さを長くすると、漏れ磁束が増加し、ロータの最大トルクの低下を招く。
【課題を解決するための手段】
【0005】
本発明の一態様である回転電機は、回転軸線を中心に回転するロータと、ロータの外周面の周囲に配置され、ロータに対する回転磁界を生成するステータと、を備える。ロータは、軸方向に延在する磁石収容孔が設けられたロータコアと、磁石収容孔に収容された永久磁石と、を有するとともに、周方向複数の磁極部によって構成され、磁石収容孔は、周方向複数の磁極部の各々に回転軸線から放射状に延在する磁極中心線に関して対称に設けられた複数の磁石収容孔を含み、複数の磁石収容孔は、磁極中心線と直交するように径方向内側および径方向外側にそれぞれ延設された内側中央収容孔および外側中央収容孔と、内側中央収容孔の周方向両側に設けられ、磁極中心線から離れるに従い径方向外側に向かうように磁極中心線に対し傾斜して延設された一対の内側傾斜収容孔と、外側中央収容孔の周方向両側に設けられ、磁極中心線から離れるに従い径方向外側に向かうように磁極中心線に対し傾斜して延設された一対の外側傾斜収容孔と、を含み、永久磁石は、複数の磁石収容孔に収容され、長手方向の幅と短手方向の厚さとを有する複数の永久磁石を含み、複数の永久磁石は、内側中央収容孔に収容された内側中央永久磁石と、一対の内側傾斜収容孔に収容された一対の内側傾斜永久磁石と、外側中央収容孔に収容された外側中央永久磁石と、一対の外側傾斜収容孔に収容された一対の外側傾斜永久磁石と、を含み、ロータコアは、内側中央収容孔と内側傾斜収容孔との間に設けられた内側リブと、外側中央収容孔と外側傾斜収容孔との間に設けられた外側リブと、を有し、内側傾斜永久磁石の幅方向の中心から厚さ方向に延在する第1軸線と磁極中心線とのなす角度は、外側傾斜永久磁石の幅方向の中心から厚さ方向に延在する第2軸線と磁極中心線とのなす角度よりも大きい。
【発明の効果】
【0006】
本発明によれば、ロータの十分な強度を確保しつつ、ロータの最大トルクを上昇することができる。
【図面の簡単な説明】
【0007】
本発明の実施形態に係る回転電機の要部構成を示す、軸線に垂直な断面図。
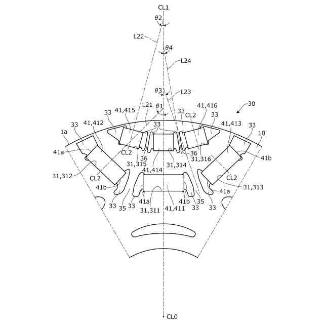
ロータの磁極部の構成を示す図1の要部拡大図。
図2の参考例を示す図。
磁極部の内側リブの近傍における本実施形態と参考例の応力解析結果の一例を示すコンタ図。
磁極部に作用する力の主たる方向を模式的に示す図。
図2の内側リブの近傍における拡大図。
磁極部の内側リブの近傍における本実施形態と他の参考例の応力解析結果の一例を示すコンタ図。
図2の変形例を示す図。
図2の他の変形例を示す図。
図2の他の参考例を示す図。
【発明を実施するための形態】
【0008】
以下、図1~図10を参照して本発明の実施形態について説明する。本発明の実施形態に係る回転電機は、ハイブリッド車両や電気自動車に搭載され、車両駆動用の電動機として用いることができ、発電機として用いることもできる。なお、回転電機は、車両以外に搭載し、種々の用途に用いることもできる。
【0009】
図1は、本発明の実施形態に係る回転電機の要部構成を示す、軸線CL0に垂直な断面図である。以下では、軸線CL0の延在する方向を軸方向、軸線CL0を中心として放射状に延在する方向を径方向、軸線CL0を中心とした円に沿った方向を周方向と定義する。図1に示すように、回転電機100は、軸線CL0を中心に回転するロータ1と、ロータ1の外周面1aを包囲するように配置されたステータ2とを備える。ロータ1の外周面1aとステータ2の内周面との間には、所定長さの隙間が全周にわたって設けられる。
【0010】
ロータ1は、軸線CL0を中心とした略円環形状のロータコア10と、ロータコア10に形成された周方向複数の磁極部30と、を有する。ロータコア10の内周面10aには、例えば回転電機100の出力軸を構成するロータシャフト101が嵌合され、ロータ1はロータシャフト101と一体に回転する。ロータ1の外周面1aはロータコア10の外周面に相当する。ロータコア10は、磁性体である金属製の複数枚の電磁鋼板を軸方向に積層して形成される。
(【0011】以降は省略されています)
この特許をJ-PlatPat(特許庁公式サイト)で参照する
関連特許
本田技研工業株式会社
車両
1か月前
本田技研工業株式会社
回転電機
今日
本田技研工業株式会社
冷却液タンク
5日前
本田技研工業株式会社
蓄電システム
7日前
本田技研工業株式会社
差圧式電解装置
1か月前
本田技研工業株式会社
回転電機用ロータ
14日前
本田技研工業株式会社
スポット溶接方法
27日前
本田技研工業株式会社
回転電機のロータ
1か月前
本田技研工業株式会社
駆動装置ユニット
1か月前
本田技研工業株式会社
電動無段変速装置
1か月前
本田技研工業株式会社
非接触電力伝送システム
7日前
本田技研工業株式会社
金属シリコンの製造方法
14日前
本田技研工業株式会社
積層体、積層体の製造方法
6日前
本田技研工業株式会社
電力変換装置、および車両
6日前
本田技研工業株式会社
制御装置、および、制御方法
27日前
本田技研工業株式会社
情報処理方法及びプログラム
26日前
本田技研工業株式会社
正極、固体電池及び固体電池の製造方法
1か月前
本田技研工業株式会社
二酸化炭素回収装置及び二酸化炭素回収方法
1か月前
本田技研工業株式会社
音声認識装置、音声認識方法、及びプログラム
今日
本田技研工業株式会社
情報処理装置、情報処理方法、およびプログラム
26日前
本田技研工業株式会社
制御装置
28日前
本田技研工業株式会社
作動装置
26日前
本田技研工業株式会社
移動体の制御装置、移動体の制御方法、およびプログラム
21日前
本田技研工業株式会社
学習装置、推定装置、学習方法、推定方法及びプログラム
1か月前
本田技研工業株式会社
車両、制御方法、プログラム、記憶媒体、及び情報処理装置
26日前
本田技研工業株式会社
電池の充電状態の補正方法、電池均等化方法、端末機器及び車両
13日前
本田技研工業株式会社
移動体支援装置および移動体システム
1か月前
本田技研工業株式会社
熱媒体組み合わせ最適化装置、熱媒体組み合わせ最適化方法、および、熱媒体組み合わせ最適化プログラム
14日前
個人
高圧電気機器の開閉器
14日前
個人
電気を重力で発電装置
27日前
キヤノン電子株式会社
モータ
1か月前
キヤノン電子株式会社
モータ
26日前
日星電気株式会社
ケーブル組立体
1か月前
コーセル株式会社
電源装置
1か月前
トヨタ自動車株式会社
モータ
26日前
株式会社アイドゥス企画
減反モータ
14日前
続きを見る
他の特許を見る