TOP
|
特許
|
意匠
|
商標
特許ウォッチ
Twitter
他の特許を見る
10個以上の画像は省略されています。
公開番号
2025168144
公報種別
公開特許公報(A)
公開日
2025-11-07
出願番号
2024101986
出願日
2024-06-25
発明の名称
情報処理装置、情報処理方法、およびプログラム
出願人
本田技研工業株式会社
代理人
個人
,
個人
,
個人
主分類
G06T
7/00 20170101AFI20251030BHJP(計算;計数)
要約
【課題】路面画像から道路区画線を検出できない場合であっても、自車両の走行車線を適切に推定すること。
【解決手段】移動体の周辺を撮像した画像データから一以上の他移動体を検出する検出部と、前記移動体を基準とする、前記移動体の横方向に関する前記他移動体の相対位置と、前記移動体の縦方向に関する前記他移動体の相対移動量とを算出する算出部と、前記横方向に関する前記他移動体の相対位置と、前記縦方向に関する前記他移動体の相対移動量とに基づいて、前記他移動体をクラスタリングするクラスタリング部と、前記クラスタリングの結果に基づいて車線領域を特定する特定部と、前記車線領域に基づいて、前記移動体が走行する車線の中央線を推定する推定部と、を備える、情報処理装置。
【選択図】図1
特許請求の範囲
【請求項1】
移動体の周辺を撮像した画像データから一以上の他移動体を検出する検出部と、
前記移動体を基準とする、前記移動体の横方向に関する前記他移動体の相対位置と、前記移動体の縦方向に関する前記他移動体の相対移動量とを算出する算出部と、
前記横方向に関する前記他移動体の相対位置と、前記縦方向に関する前記他移動体の相対移動量とに基づいて、前記他移動体をクラスタリングするクラスタリング部と、
前記クラスタリングの結果に基づいて車線領域を特定する特定部と、
前記車線領域に基づいて、前記移動体が走行する車線の中央線を推定する推定部と、を備える、
情報処理装置。
続きを表示(約 1,200 文字)
【請求項2】
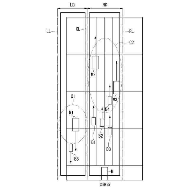
前記特定部は、前記クラスタリングの結果に基づいて、前記移動体が走行する自車線の領域を表す自車線領域と、前記移動体に対向する領域を表す対向車線領域とを特定し、
前記推定部は、前記自車線領域と前記対向車線領域の間の線として前記中央線を推定する、
請求項1に記載の情報処理装置。
【請求項3】
前記特定部は、前記クラスタリングによって得られた複数のクラスタにそれぞれ属する複数の移動体群のうち、前記移動体に接近する移動体群を特定し、特定した前記移動体群が属するクラスタを含む領域を前記対向車線領域として特定する、
請求項2に記載の情報処理装置。
【請求項4】
前記推定部は、前記車線領域のエッジから第1消失点を推定するとともに、前記移動体から最も遠方に存在する他移動体を第2消失点として推定し、前記第1消失点と前記第2消失点との距離が閾値以内である場合に、前記第1消失点又は前記第2消失点を消失点として同定する、
請求項1に記載の情報処理装置。
【請求項5】
前記推定部は、前記移動体が曲線道路を走行していると判定した場合、前記車線領域のエッジから第1消失点を推定するとともに、前記移動体から最も遠方に存在する他移動体を第2消失点として推定し、前記第1消失点と前記第2消失点との距離が閾値以内である場合に、前記第1消失点又は前記第2消失点を消失点として同定する、
請求項1に記載の情報処理装置。
【請求項6】
前記推定部は、前記中央線に分節点が存在すると判定した場合、前記移動体が曲線道路を走行していると判定する、
請求項5に記載の情報処理装置。
【請求項7】
前記クラスタリング部は、時系列にわたって撮像された複数フレーム分の前記画像データから検出された一以上の他移動体をクラスタリングする、
請求項1に記載の情報処理装置。
【請求項8】
前記クラスタリング部は、前記横方向に関する前記他移動体の相対位置と、前記縦方向に関する前記他移動体の相対移動量の移動平均に基づいて、前記他移動体をクラスタリングする、
請求項1に記載の情報処理装置。
【請求項9】
前記クラスタリング部は、四輪車である前記他移動体のみをクラスタリングする、
請求項1に記載の情報処理装置。
【請求項10】
前記検出部は、前記移動体の後方に位置する前記他移動体を検出し、
前記情報処理装置は、
前記横方向に関する前記他移動体の相対位置と、前記縦方向に関する前記他移動体の相対移動量とに基づいて前記他移動体の移動方向を推定する移動方向推定部と、
前記他移動体の推定移動方向と前記車線領域とに基づいて、前記他移動体が追い越しを行うか否かを判定する判定部と、を備える、
請求項1に記載の情報処理装置。
(【請求項11】以降は省略されています)
発明の詳細な説明
【技術分野】
【0001】
本発明は、情報処理装置、情報処理方法、およびプログラムに関する。
続きを表示(約 1,600 文字)
【背景技術】
【0002】
従来、車両が走行する車線を検出する技術が知られている。例えば、特許文献1には、路面画像から区画線の候補である候補線を抽出し、抽出された候補線の線種、線色、及び、逆光の影響の有無を判定し、抽出された候補線が多重線を構成しているか否かを判定し、これら判定結果を用いて、区画線となる候補線を選択し、選択された候補線を認識して、車線の形状を推定する技術が開示されている。
【先行技術文献】
【特許文献】
【0003】
特開2018-106259号公報
【発明の概要】
【発明が解決しようとする課題】
【0004】
特許文献1に記載の技術は、路面画像から区画線の候補である候補線を抽出することを前提とするものである。しかしながら、例えば、自車両の周辺に複数の他車両が走行している場合や、道路区画線がそもそも明瞭でない場合、自車両の走行車線を適切に推定できない場合があった。
【0005】
本発明は、このような事情を考慮してなされたものであり、路面画像から道路区画線を検出できない場合であっても、自車両の走行車線を適切に推定することができる情報処理装置、情報処理方法、およびプログラムを提供することを目的の一つとする。
【課題を解決するための手段】
【0006】
この発明に係る情報処理装置、情報処理方法、およびプログラムは、以下の構成を採用した。
(1):この発明の一態様に係る情報処理装置は、移動体の周辺を撮像した画像データから一以上の他移動体を検出する検出部と、前記移動体を基準とする、前記移動体の横方向に関する前記他移動体の相対位置と、前記移動体の縦方向に関する前記他移動体の相対移動量とを算出する算出部と、前記横方向に関する前記他移動体の相対位置と、前記縦方向に関する前記他移動体の相対移動量とに基づいて、前記他移動体をクラスタリングするクラスタリング部と、前記クラスタリングの結果に基づいて車線領域を特定する特定部と、前記車線領域に基づいて、前記移動体が走行する車線の中央線を推定する推定部と、を備えるものである。
【0007】
(2):上記(1)の態様において、前記特定部は、前記クラスタリングの結果に基づいて、前記移動体が走行する自車線の領域を表す自車線領域と、前記移動体に対向する領域を表す対向車線領域とを特定し、前記推定部は、前記自車線領域と前記対向車線領域の間の線として前記中央線を推定するものである。
【0008】
(3):上記(2)の態様において、前記特定部は、前記クラスタリングによって得られた複数のクラスタにそれぞれ属する複数の移動体群のうち、前記移動体に接近する移動体群を特定し、特定した前記移動体群が属するクラスタを含む領域を前記対向車線領域として特定するものである。
【0009】
(4):上記(1)の態様において、前記推定部は、前記車線領域のエッジから第1消失点を推定するとともに、前記移動体から最も遠方に存在する他移動体を第2消失点として推定し、前記第1消失点と前記第2消失点との距離が閾値以内である場合に、前記第1消失点又は前記第2消失点を消失点として同定するものである。
【0010】
(5):上記(1)の態様において、前記推定部は、前記移動体が曲線道路を走行していると判定した場合、前記車線領域のエッジから第1消失点を推定するとともに、前記移動体から最も遠方に存在する他移動体を第2消失点として推定し、前記第1消失点と前記第2消失点との距離が閾値以内である場合に、前記第1消失点又は前記第2消失点を消失点として同定するものである。
(【0011】以降は省略されています)
この特許をJ-PlatPat(特許庁公式サイト)で参照する
関連特許
個人
詐欺保険
1か月前
個人
縁伊達ポイン
1か月前
個人
5掛けポイント
1か月前
個人
RFタグシート
1か月前
個人
職業自動販売機
25日前
個人
QRコードの彩色
2か月前
個人
ペルソナ認証方式
1か月前
個人
情報処理装置
1か月前
個人
自動調理装置
1か月前
個人
立体グラフの利用方法
4日前
個人
農作物用途分配システム
1か月前
個人
サービス情報提供システム
27日前
個人
タッチパネル操作指代替具
1か月前
NISSHA株式会社
入力装置
5日前
個人
インターネットの利用構造
1か月前
個人
携帯端末障害問合せシステム
1か月前
個人
学習用データ生成装置
6日前
個人
スケジュール調整プログラム
1か月前
個人
エリアガイドナビAIシステム
1か月前
トヨタ自動車株式会社
通知装置
1か月前
キヤノン株式会社
情報処理装置
19日前
エッグス株式会社
情報処理装置
1か月前
キヤノン株式会社
印刷システム
1か月前
キヤノン株式会社
情報処理装置
19日前
キヤノン株式会社
画像認識装置
19日前
キヤノン株式会社
情報処理装置
1か月前
キラル株式会社
顧客体験提供システム
7日前
株式会社ワコム
電子ペン
1か月前
株式会社ワコム
電子ペン
1か月前
株式会社ケアコム
項目選択装置
1か月前
株式会社ケアコム
項目選択装置
1か月前
太陽誘電株式会社
表示装置
1か月前
株式会社アジラ
行動推定システム
19日前
キヤノン電子株式会社
情報処理システム
4日前
トヨタ自動車株式会社
車両
1か月前
個人
請求金額算出システム
11日前
続きを見る
他の特許を見る