TOP
|
特許
|
意匠
|
商標
特許ウォッチ
Twitter
他の特許を見る
10個以上の画像は省略されています。
公開番号
2025170520
公報種別
公開特許公報(A)
公開日
2025-11-19
出願番号
2024075164
出願日
2024-05-07
発明の名称
回転電機用ロータ
出願人
本田技研工業株式会社
代理人
個人
,
個人
主分類
H02K
1/276 20220101AFI20251112BHJP(電力の発電,変換,配電)
要約
【課題】回転電機に含まれる永久磁石の冷却効果を高める。
【解決手段】回転電機用ロータ1は、軸方向に磁石収容孔31が延設されたロータコア10と、磁石収容孔31に収容された永久磁石32と、ロータコア10の軸方向端面11に対向して配置されたカバー40と、を備える。カバー40の内側端面401は、ロータコア10の軸方向端面11に当接したリング部42の内側端面421と、軸方向端面11から離間した板部41の内側端面411とを有し、カバー40には、貫通孔431,432が設けられ、永久磁石32の軸方向端部は、ロータコア10の軸方向端面11から軸方向外側に突出するとともに、永久磁石32の軸方向端面32a,32bは、板部41の内側端面411よりも軸方向外側に位置する。
【選択図】図2
特許請求の範囲
【請求項1】
軸線を中心として略円筒形状に構成されるとともに、軸方向に磁石収容孔が延設されたロータコアと、
前記磁石収容孔に収容された磁石と、
前記ロータコアの軸方向端面との間に冷却媒体が流れる流路を形成するように前記ロータコアの前記軸方向端面に対向して配置された流路形成部材と、を備え、
前記流路形成部材は、軸方向内側の内側端面と、軸方向外側の外側端面と、を有し、
前記内側端面は、前記ロータコアの前記軸方向端面に当接した第1端面と、前記ロータコアの前記軸方向端面から離間した第2端面とを有し、
前記流路形成部材には、前記第2端面から前記外側端面にかけて貫通孔が設けられ、
前記磁石の軸方向端部は、前記ロータコアの前記軸方向端面から軸方向外側に突出するとともに、前記磁石の軸方向端面は、前記第2端面よりも軸方向外側に位置することを特徴とする回転電機用ロータ。
続きを表示(約 530 文字)
【請求項2】
請求項1に記載の回転電機用ロータにおいて、
前記磁石の前記軸方向端面は、前記貫通孔の内部に位置することを特徴とする回転電機用ロータ。
【請求項3】
請求項2に記載の回転電機用ロータにおいて、
前記流路形成部材は、前記磁石の前記軸方向端面の一部を覆うように形成されることを特徴とする回転電機用ロータ。
【請求項4】
請求項1から3のいずれか1項に記載の回転電機用ロータにおいて、
前記磁石収容孔は、第1磁石収容孔と、前記第1磁石収容孔よりも前記軸線を中心とした径方向の外側に設けられた第2磁石収容孔と、を含み、
前記磁石は、前記第1磁石収容孔に収容された第1磁石と、前記第2磁石収容孔に収容された第2磁石と、を有し、
前記第1磁石は、その軸方向端面に、径方向に沿って凹状に形成された凹部を有することを特徴とする回転電機用ロータ。
【請求項5】
請求項4に記載の回転電機用ロータにおいて、
前記第2磁石は、その軸方向端面に凹部と凸部とを交互に有し、前記第1磁石の前記凹部の径方向外側に、前記第2磁石の前記凸部が設けられることを特徴とする回転電機用ロータ。
発明の詳細な説明
【技術分野】
【0001】
本発明は、回転電機用ロータに関する。
続きを表示(約 1,700 文字)
【背景技術】
【0002】
従来より、回転子鉄心に軸方向に沿って収容された磁石と、回転子鉄心の軸方向の端面に接して配置された端板と、を備え、回転子鉄心の端面と端板に設けられた溝部との間を冷却媒体が流れるように構成された回転電機が知られている(例えば特許文献1参照)。特許文献1記載の回転電機では、磁石の軸方向の端面が、回転子鉄心の軸方向の端面と同一面上に配置される。
【先行技術文献】
【特許文献】
【0003】
特開2021-170877号公報
【発明の概要】
【発明が解決しようとする課題】
【0004】
しかしながら、上記特許文献1記載のように、磁石の軸方向の端面が回転子鉄心の軸方向の端面と同一面上に配置されるように構成したのでは、回転子鉄心と端板との間の冷却媒体の流れによって磁石を十分に冷却することが難しい。
【課題を解決するための手段】
【0005】
本発明の一態様である回転電機用ロータは、軸線を中心として略円筒形状に構成されるとともに、軸方向に磁石収容孔が延設されたロータコアと、磁石収容孔に収容された磁石と、ロータコアの軸方向端面との間に冷却媒体が流れる流路を形成するようにロータコアの前記軸方向端面に対向して配置された流路形成部材と、を備える。流路形成部材は、軸方向内側の内側端面と、軸方向外側の外側端面と、を有し、内側端面は、ロータコアの軸方向端面に当接した第1端面と、ロータコアの軸方向端面から離間した第2端面とを有し、流路形成部材には、第2端面から外側端面にかけて貫通孔が設けられ、磁石の軸方向端部は、ロータコアの軸方向端面から軸方向外側に突出するとともに、磁石の軸方向端面は、第2端面よりも軸方向外側に位置する。
【発明の効果】
【0006】
本発明によれば、回転電機用ロータに含まれる磁石を十分に冷却することができる。
【図面の簡単な説明】
【0007】
本発明の実施形態に係る回転電機用ロータを有する回転電機の要部構成を示す、軸線に垂直な断面図。
図1のII-II線に沿って切断したロータの断面図。
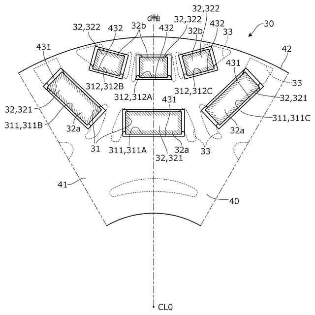
単一の磁極部の構成を示す図1の要部拡大図。
図1のカバーの単体の斜視図。
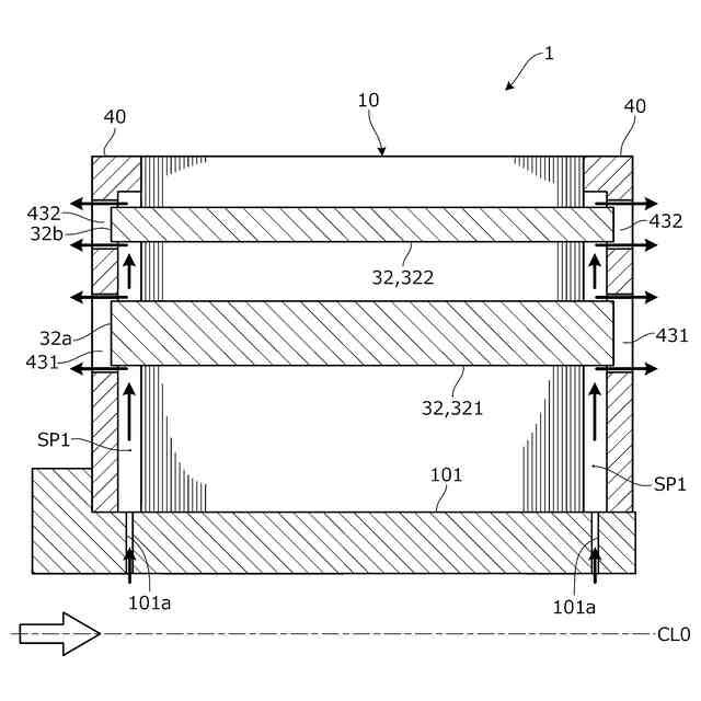
本発明の実施形態に係る回転電機用ロータの周囲の冷却媒体の流れを模式的に示す図。
図2の変形例を示す図。
図3の変形例を示す図。
端面が凹凸状に構成された内径側永久磁石の軸方向端部の斜視図。
図8の内径側永久磁石を含むロータコアの正面図。
図9の変形例を示す図。
図10のロータの斜視図。
【発明を実施するための形態】
【0008】
以下、図1~図11を参照して本発明の実施形態について説明する。本発明の実施形態に係る回転電機用ロータは、種々の回転電機に用いることができる。例えば、ハイブリッド車両や電気自動車に搭載され、車両駆動用の電動機または発電機などの回転電機として用いることができる。なお、回転電機は、車両以外に搭載し、種々の用途に用いることもできる。
【0009】
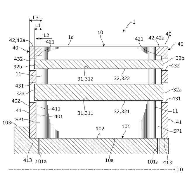
図1は、本発明の実施形態に係る回転電機用ロータを有する回転電機の要部構成を示す、軸線CL0に垂直な断面図である。図1に示すように、回転電機100は、軸線CL0を中心に回転するロータ1と、ロータ1の外周面1aを包囲するように配置されたステータ2とを備える。以下では、軸線CL0に平行な方向を軸方向、軸線CL0から放射状に延びる方向を径方向、軸線CL0を中心とした円に沿った方向を周方向と定義する。
【0010】
図2は、図1のII-II線(d軸)に沿って切断したロータ1の断面図である。図1,2に示すように、ロータ1は、軸線CL0を中心とした略円環形状のロータコア10と、ロータコア10に形成された周方向複数の磁極部30と、ロータコア10の軸方向の両端部に固定された一対のカバー40とを有する。図1では、ロータコア10のカバー40で覆われた部位が点線で示される。
(【0011】以降は省略されています)
この特許をJ-PlatPat(特許庁公式サイト)で参照する
関連特許
個人
電気を重力で発電装置
14日前
個人
高圧電気機器の開閉器
1日前
キヤノン電子株式会社
モータ
13日前
キヤノン電子株式会社
モータ
21日前
コーセル株式会社
電源装置
22日前
株式会社アイドゥス企画
減反モータ
1日前
トヨタ自動車株式会社
モータ
13日前
個人
二次電池繰返パルス放電器用印刷基板
27日前
株式会社デンソー
電力変換装置
28日前
トヨタ自動車株式会社
固定子の加熱装置
24日前
矢崎総業株式会社
電源回路
今日
日産自動車株式会社
ロータシャフト
8日前
トヨタ自動車株式会社
ステータの製造装置
14日前
日産自動車株式会社
ロータシャフト
8日前
山洋電気株式会社
モータ
27日前
ローム株式会社
モータドライバ回路
8日前
個人
非対称鏡像力を有する4層PWB電荷搬送体
8日前
株式会社アイシン
電力変換装置
13日前
株式会社マキタ
電動作業機
21日前
個人
電線盗難防止方法及び電線盗難防止装置
21日前
京商株式会社
模型用非接触電力供給システム
1日前
トヨタ紡織株式会社
ロータの製造装置
22日前
株式会社明治ゴム化成
ワイヤレス給電用部品
23日前
トヨタ自動車株式会社
可変界磁ロータ
16日前
豊田合成株式会社
車両用非接触充電装置
13日前
ルネサスエレクトロニクス株式会社
半導体装置
13日前
ニデック株式会社
回転電機
13日前
本田技研工業株式会社
回転電機用ロータ
1日前
株式会社豊田自動織機
電力供給システム
13日前
大阪瓦斯株式会社
充放電中継装置
14日前
大阪瓦斯株式会社
充放電中継装置
14日前
トヨタ自動車株式会社
車両照合システム
21日前
日動電工株式会社
壁内配線用のブランクプレート
今日
株式会社京三製作所
パルス電源装置
今日
株式会社豊田中央研究所
分散電源システム
8日前
株式会社京三製作所
パルス電源装置
今日
続きを見る
他の特許を見る