TOP
|
特許
|
意匠
|
商標
特許ウォッチ
Twitter
他の特許を見る
10個以上の画像は省略されています。
公開番号
2025179624
公報種別
公開特許公報(A)
公開日
2025-12-10
出願番号
2024086506
出願日
2024-05-28
発明の名称
充電装置
出願人
株式会社ダイヘン
代理人
個人
,
個人
主分類
H02J
7/00 20060101AFI20251203BHJP(電力の発電,変換,配電)
要約
【課題】充電ケーブルの引き出しおよび引き戻しを容易に行うことができる充電装置を提供する。
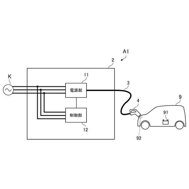
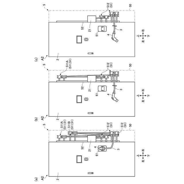
【解決手段】充電装置A1は、蓄電池の電力で電動機を駆動して移動する電気移動体の蓄電池を充電する。充電装置A1は、蓄電池の充電用の電力を出力する電源部と、電源部が収容される本体部2と、電気移動体に接続されて、電源部が出力する電力を当該電気移動体に供給する充電プラグ4と、充電プラグ4が一端に接続され、電源部が出力する電力を充電プラグ4に供給する充電ケーブル3と、充電ケーブル3が掛けられた複数のガイドローラ51を含み、充電ケーブル3を収納するケーブル収納部5と、を備える。複数のガイドローラ51は、回転軸が移動可能な移動式ローラ511を含む。ケーブル収納部5は、移動式ローラ511を移動させる駆動部52を含む。駆動部52は、移動式ローラ511を移動させることで、充電ケーブル3の送り出しおよび引き戻しを行う。
【選択図】図4
特許請求の範囲
【請求項1】
蓄電池の電力で電動機を駆動して移動する電気移動体の前記蓄電池を充電する充電装置であって、
前記蓄電池の充電用の電力を出力する電源部と、
前記電源部が収容される本体部と、
前記電気移動体に接続されて、前記電源部が出力する電力を当該電気移動体に供給する充電プラグと、
前記充電プラグが一端に接続され、前記電源部が出力する電力を前記充電プラグに供給する充電ケーブルと、
前記充電ケーブルが掛けられた複数のガイドローラを含み、前記充電ケーブルを収納するケーブル収納部と、
を備え、
前記複数のガイドローラは、回転軸が移動可能な移動式ローラを含み、
前記ケーブル収納部は、前記移動式ローラを移動させる駆動部を含み、
前記駆動部は、前記移動式ローラを移動させることで、前記充電ケーブルの送り出しおよび引き戻しを行う、充電装置。
続きを表示(約 970 文字)
【請求項2】
前記複数のガイドローラは、回転軸が固定された少なくとも1つの固定式ローラを含み、
前記ケーブル収納部は、前記移動式ローラが前記少なくとも1つの固定式ローラに近づく方向に移動することで、前記充電ケーブルを送り出し、前記移動式ローラが前記少なくとも1つの固定式ローラから遠ざかる方向に移動することで、前記充電ケーブルを引き戻す、請求項1に記載の充電装置。
【請求項3】
前記少なくとも1つの固定式ローラは、前記本体部の上下方向に直交する直交方向に離れた2つの固定式ローラを含み、
前記移動式ローラは、前記上下方向に移動可能であり、且つ、前記2つの固定式ローラよりも前記上下方向の上方に位置しており、
前記ケーブル収納部は、前記移動式ローラが前記上下方向の下方に移動することで、前記2つの固定式ローラに近づき、前記移動式ローラが前記上下方向の上方に移動することで、前記2つの固定式ローラから遠ざかる、請求項2に記載の充電装置。
【請求項4】
前記ケーブル収納部は、追加の移動式ローラを含むことで2つの移動式ローラを含み、且つ、前記本体部の外方に配置されており、
前記2つの移動式ローラは、前記本体部に近い側の内方ローラと、前記本体部から遠い側の外方ローラとを含み、
前記駆動部は、前記充電ケーブルの送り出しでは、前記外方ローラ、前記内方ローラの順に移動させ、前記充電ケーブルの引き戻しでは、前記内方ローラ、前記外方ローラの順に移動させる、請求項1ないし請求項3のいずれかに記載の充電装置。
【請求項5】
前記充電プラグを収納するプラグホルダと、前記プラグホルダから前記充電プラグが取り外されたことを検出する検出部とをさらに備え、
前記駆動部は、前記プラグホルダからの前記充電プラグの取り外しを前記検出部が検出すると、前記移動式ローラを移動させる、請求項1ないし請求項3のいずれかに記載の充電装置。
【請求項6】
前記ケーブル収納部は、前記複数のガイドローラおよび前記充電ケーブルの一部を覆う筐体を含み、
前記充電プラグは、前記筐体の外側に配置される、請求項1ないし請求項3のいずれかに記載の充電装置。
発明の詳細な説明
【技術分野】
【0001】
本開示は、充電装置に関する。
続きを表示(約 2,000 文字)
【背景技術】
【0002】
近年、電気自動車などの電気移動体の普及に伴い、電気移動体の蓄電池を充電する充電装置の整備が進んでいる。例えば、特許文献1には、従来の充電装置の一例が開示されている。特許文献1に記載の充電スタンドは、充電ケーブルを収容する充電ケーブル収容部を備え、充電ケーブル収容部には、充電ケーブルを引っ掛けるための引っ掛け部が設けられている。また、充電ケーブル収容部には、引っ掛け部の下方に、補助引っ掛け部が設けられている。充電スタンドの利用者は、充電ケーブルを引っ掛け部と補助引っ掛け部とに交互に巻き回すことで、充電ケーブルを充電ケーブル収容部に収容する。
【先行技術文献】
【特許文献】
【0003】
特開2013-150396号公報
【発明の概要】
【発明が解決しようとする課題】
【0004】
特許文献1に記載の充電スタンドの利用者は、電気自動車を充電する際、充電ケーブルの先端にある充電ガンを、電気自動車の充電ポートに接続する。この時、引っ掛け部と補助引っ掛け部とに交互に巻き付けられた充電ケーブルを引き出す必要がある。また、電気自動車の充電終了後には、引き出した充電ケーブルを、引き戻しつつ、引っ掛け部と補助引っ掛け部とに交互に巻き付ける必要がある。充電ケーブルは、太く重たいものがあるため、充電ケーブルの引き出しや巻き付けに、労力が必要である。例えば、急速充電器の充電ケーブルには、重さが1.5kg/mであるものもある。
【0005】
本開示は、上記事情に鑑みて考え出されたものであり、その目的は、充電ケーブルの引き出しおよび引き戻しを容易に行うことができる充電装置を提供することにある。
【課題を解決するための手段】
【0006】
本開示によって提供される充電装置は、蓄電池の電力で電動機を駆動して移動する電気移動体の前記蓄電池を充電する充電装置であって、前記蓄電池の充電用の電力を出力する電源部と、前記電源部が収容される本体部と、前記電気移動体に接続されて、前記電源部が出力する電力を当該電気移動体に供給する充電プラグと、前記充電プラグが一端に接続され、前記電源部が出力する電力を前記充電プラグに供給する充電ケーブルと、前記充電ケーブルが掛けられた複数のガイドローラを含み、前記充電ケーブルを収納するケーブル収納部と、を備え、前記複数のガイドローラは、回転軸が移動可能な移動式ローラを含み、前記ケーブル収納部は、前記移動式ローラを移動させる駆動部を含み、前記駆動部は、前記移動式ローラを移動させることで、前記充電ケーブルの送り出しおよび引き戻しを行う。
【0007】
前記充電装置の好ましい実施の形態において、前記複数のガイドローラは、回転軸が固定された少なくとも1つの固定式ローラを含み、前記ケーブル収納部は、前記移動式ローラが前記少なくとも1つの固定式ローラに近づく方向に移動することで、前記充電ケーブルを送り出し、前記移動式ローラが前記少なくとも1つの固定式ローラから遠ざかる方向に移動することで、前記充電ケーブルを引き戻す。
【0008】
前記充電装置の好ましい実施の形態において、前記少なくとも1つの固定式ローラは、前記本体部の上下方向に直交する直交方向に離れた2つの固定式ローラを含み、前記移動式ローラは、前記上下方向に移動可能であり、且つ、前記2つの固定式ローラよりも前記上下方向の上方に位置しており、前記ケーブル収納部は、前記移動式ローラが前記上下方向の下方に移動することで、前記2つの固定式ローラに近づき、前記移動式ローラが前記上下方向の上方に移動することで、前記2つの固定式ローラから遠ざかる。
【0009】
前記充電装置の好ましい実施の形態において、前記ケーブル収納部は、追加の移動式ローラを含むことで2つの移動式ローラを含み、且つ、前記本体部の外方に配置されており、前記2つの移動式ローラは、前記本体部に近い側の内方ローラと、前記本体部から遠い側の外方ローラとを含み、前記駆動部は、前記充電ケーブルの送り出しでは、前記外方ローラ、前記内方ローラの順に移動させ、前記充電ケーブルの引き戻しでは、前記内方ローラ、前記外方ローラの順に移動させる。
【0010】
前記充電装置の好ましい実施の形態において、前記充電プラグを収納するプラグホルダと、前記プラグホルダから前記充電プラグが取り外されたことを検出する検出部とをさらに備え、前記駆動部は、前記プラグホルダからの前記充電プラグの取り外しを前記検出部が検出すると、前記移動式ローラを移動させる。
(【0011】以降は省略されています)
この特許をJ-PlatPat(特許庁公式サイト)で参照する
関連特許
株式会社ダイヘン
充電装置
今日
株式会社ダイヘン
溶接装置
14日前
株式会社ダイヘン
制御装置
2か月前
株式会社ダイヘン
送配電装置
5日前
株式会社ダイヘン
溶接トーチ
1か月前
株式会社ダイヘン
加工システム
今日
株式会社ダイヘン
電圧調整装置
7日前
株式会社ダイヘン
研削システム
1か月前
株式会社ダイヘン
溶接電源装置
2か月前
株式会社ダイヘン
電極交換装置
1か月前
株式会社ダイヘン
変圧器組立装置
2か月前
株式会社ダイヘン
レーザ接合装置
1か月前
株式会社ダイヘン
インバータ装置
1か月前
株式会社ダイヘン
パルス電源装置
2か月前
株式会社ダイヘン
インバータ装置
2か月前
株式会社ダイヘン
熱加工用電源装置
1か月前
株式会社ダイヘン
熱加工用電源装置
1か月前
株式会社ダイヘン
積層造形システム
1か月前
株式会社ダイヘン
積層造形システム
1か月前
株式会社ダイヘン
パワーモジュール
2か月前
株式会社ダイヘン
パワーモジュール
2か月前
株式会社ダイヘン
積層造形システム
1か月前
株式会社ダイヘン
パワーモジュール
2か月前
株式会社ダイヘン
溶接ワイヤ送給機構
1か月前
株式会社ダイヘン
溶接ワイヤ送給装置
1か月前
株式会社ダイヘン
溶接ワイヤ送給機構
1か月前
株式会社ダイヘン
パルスアーク溶接制御方法
28日前
株式会社ダイヘン
パルスアーク溶接制御方法
28日前
株式会社ダイヘン
パルスアーク溶接制御方法
20日前
株式会社ダイヘン
制御装置及び研削システム
2か月前
株式会社ダイヘン
2重シールドティグ溶接方法
1日前
株式会社ダイヘン
充電装置、および、電力システム
1か月前
株式会社ダイヘン
変圧器組立方法及び変圧器組立装置
2か月前
株式会社ダイヘン
制御回路、および、三相力率改善装置
13日前
株式会社ダイヘン
サブマージアーク溶接の溶接条件設定方法
1日前
株式会社ダイヘン
溶接ワイヤ送給機構およびインレットガイド
1か月前
続きを見る
他の特許を見る