TOP
|
特許
|
意匠
|
商標
特許ウォッチ
Twitter
他の特許を見る
公開番号
2025168933
公報種別
公開特許公報(A)
公開日
2025-11-12
出願番号
2024073813
出願日
2024-04-30
発明の名称
パルスアーク溶接制御方法
出願人
株式会社ダイヘン
代理人
個人
,
個人
主分類
B23K
9/09 20060101AFI20251105BHJP(工作機械;他に分類されない金属加工)
要約
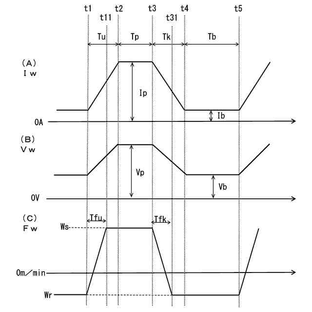
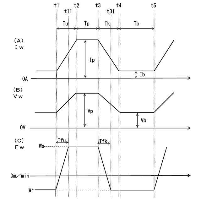
【課題】消耗電極パルスアーク溶接において、溶接状態が変動しても1パルス周期1溶滴移行状態を常に維持して良好な溶接品質を得ること。
【解決手段】溶接ワイヤを送給し、ピーク立上り期間中はベース電流の値からピーク電流の値へと上昇するピーク立上り電流を通電し、ピーク期間中はピーク電流を通電し、ピーク立下り期間中はピーク電流の値からベース電流の値へと下降するピーク立下り電流を通電し、ベース期間中はベース電流を通電し、これらの溶接電流Iwの通電を1パルス周期として繰り返して溶接するパルスアーク溶接制御方法において、溶接ワイヤの送給速度Fwは正送と逆送とを繰り返し、少なくとも時刻t4~t5のベース期間中は逆送し、時刻t1~t5のパルス周期の逆数であるパルス周波数を100Hz以上350Hz以下の範囲に設定する。
【選択図】 図2
特許請求の範囲
【請求項1】
溶接ワイヤを送給し、ピーク立上り期間中はベース電流の値からピーク電流の値へと上昇するピーク立上り電流を通電し、ピーク期間中は前記ピーク電流を通電し、ピーク立下り期間中は前記ピーク電流の値から前記ベース電流の値へと下降するピーク立下り電流を通電し、ベース期間中は前記ベース電流を通電し、これらの溶接電流の通電を1パルス周期として繰り返して溶接するパルスアーク溶接制御方法において、
前記溶接ワイヤは正送と逆送とを繰り返し、少なくとも前記ベース期間中は前記逆送し、前記パルス周期の逆数であるパルス周波数を100Hz以上350Hz以下の範囲に設定する、ことを特徴とするパルスアーク溶接制御方法。
続きを表示(約 400 文字)
【請求項2】
前記パルス周波数を前記溶接電流の平均値の数値の±15%の範囲内に設定する、ことを特徴とする請求項1に記載のパルスアーク溶接制御方法。
【請求項3】
前記溶接ワイヤの送給速度は、前記ピーク立上り期間の開始時点で逆送ピーク値から正送ピーク値への変化を開始し、前記ピーク立下り期間の開始時点で前記正送ピーク値から前記逆送ピーク値への変化を開始する、ことを特徴とする請求項1又は2に記載のパルスアーク溶接制御方法。
【請求項4】
前記正送ピーク値から前記逆送ピーク値への変化期間は前記ピーク立下り期間の40%以上90%以下の値である、ことを特徴とする請求項3に記載のパルスアーク溶接制御方法。
【請求項5】
少なくとも前記ピーク電流を変調制御することによってアーク長制御を行う、ことを特徴とする請求項3に記載のパルスアーク溶接制御方法。
発明の詳細な説明
【技術分野】
【0001】
本発明は、溶接ワイヤを送給して溶接するパルスアーク溶接制御方法に関する。
続きを表示(約 1,400 文字)
【背景技術】
【0002】
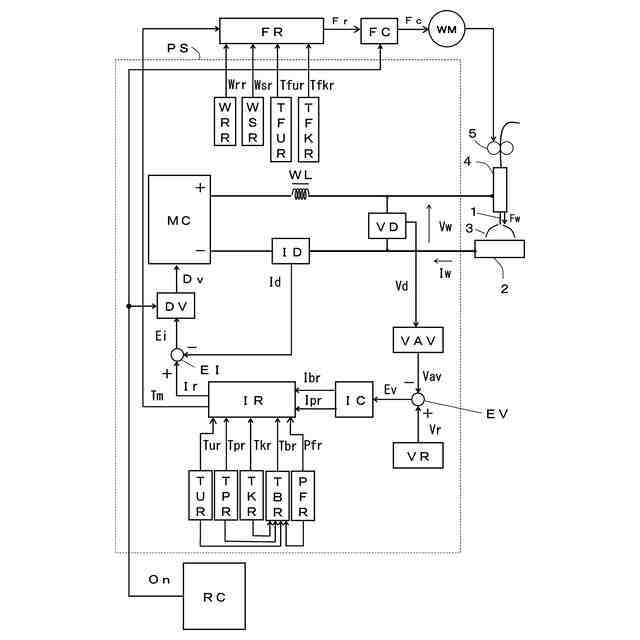
溶接ワイヤを送給して溶接するパルスアーク溶接は、鉄鋼等の溶接に使用されている。このパルスアーク溶接では、溶接ワイヤを送給し、ピーク立上り期間中はベース電流の値からピーク電流の値へと上昇するピーク立上り電流を通電し、ピーク期間中はピーク電流を通電し、ピーク立下り期間中はピーク電流の値からベース電流の値へと下降するピーク立下り電流を通電し、ベース期間中はベース電流を通電し、これらの溶接電流の通電を1パルス周期として繰り返して溶接が行われる。パルスアーク溶接では、1パルス周期1溶滴移行状態にすることによって、スパッタの発生が少なく、美しいビード外観を得ることができる。
【0003】
特許文献1の発明では、ピーク期間中の第1の時点からベース期間中の第2の時点までの所定期間の間は、溶接ワイヤの送給速度を、ピーク電流の立ち上がり時点の送給速度よりも低くする、あるいは、溶接ワイヤを溶接対象物から引き離す方向に送給する逆送としている。
【先行技術文献】
【特許文献】
【0004】
特許第6123069号公報
【発明の概要】
【発明が解決しようとする課題】
【0005】
パルスアーク溶接では良好な溶接品質を得るために1パルス周期1溶滴移行状態を常に維持することが重要である。しかし、従来技術のパルスアーク溶接では、溶接状態の変動に伴い1パルス周期1溶滴移行状態から逸脱してしまい、溶接品質が悪くなるという問題がある。
【0006】
そこで、本発明では、例えば、溶接状態が変動しても1パルス周期1溶滴移行状態を常に維持して良好な溶接品質を得ることができるパルスアーク溶接制御方法を提供することを目的とする。
【課題を解決するための手段】
【0007】
本発明の第1の側面により提供されるパルスアーク溶接制御方法は、溶接ワイヤを送給し、ピーク立上り期間中はベース電流の値からピーク電流の値へと上昇するピーク立上り電流を通電し、ピーク期間中は前記ピーク電流を通電し、ピーク立下り期間中は前記ピーク電流の値から前記ベース電流の値へと下降するピーク立下り電流を通電し、ベース期間中は前記ベース電流を通電し、これらの溶接電流の通電を1パルス周期として繰り返して溶接するパルスアーク溶接制御方法において、前記溶接ワイヤは正送と逆送とを繰り返し、少なくとも前記ベース期間中は前記逆送し、前記パルス周期の逆数であるパルス周波数を100Hz以上350Hz以下の範囲に設定する、ことを特徴とする。
【0008】
一例として、本発明のパルスアーク溶接制御方法は、前記パルス周波数を前記溶接電流の平均値の数値の±15%の範囲内に設定する、ことを特徴とする。
【0009】
一例として、前記溶接ワイヤの送給速度は、前記ピーク立上り期間の開始時点で逆送ピーク値から正送ピーク値への変化を開始し、前記ピーク立下り期間の開始時点で前記正送ピーク値から前記逆送ピーク値への変化を開始する、ことを特徴とする。
【0010】
一例として、前記正送ピーク値から前記逆送ピーク値への変化期間は前記ピーク立下り期間の40%以上90%以下の値である、ことを特徴とする。
(【0011】以降は省略されています)
この特許をJ-PlatPat(特許庁公式サイト)で参照する
関連特許
株式会社ダイヘン
溶接トーチ
14日前
株式会社ダイヘン
電極交換装置
14日前
株式会社ダイヘン
研削システム
14日前
株式会社ダイヘン
レーザ接合装置
14日前
株式会社ダイヘン
積層造形システム
19日前
株式会社ダイヘン
熱加工用電源装置
20日前
株式会社ダイヘン
積層造形システム
19日前
株式会社ダイヘン
積層造形システム
19日前
株式会社ダイヘン
熱加工用電源装置
26日前
株式会社ダイヘン
溶接ワイヤ送給機構
14日前
株式会社ダイヘン
溶接ワイヤ送給機構
14日前
株式会社ダイヘン
溶接ワイヤ送給装置
14日前
株式会社ダイヘン
パルスアーク溶接制御方法
6日前
株式会社ダイヘン
パルスアーク溶接制御方法
6日前
株式会社ダイヘン
溶接ワイヤ送給機構およびインレットガイド
14日前
株式会社ダイヘン
ティーチングチップおよびこれを装着した溶接ロボット
19日前
株式会社ダイヘン
タップ切換台
19日前
株式会社ダイヘン
搬送ロボットの教示システム、および搬送ロボットの教示方法
22日前
個人
フライス盤
2か月前
個人
加工機
6か月前
麗豊実業股フン有限公司
ラクトバチルス・パラカセイNB23菌株及びそれを筋肉量の増加や抗メタボリック症候群に用いる用途
6か月前
日東精工株式会社
ねじ締め機
2か月前
日東精工株式会社
ねじ締め機
5か月前
日東精工株式会社
ねじ締め機
1か月前
日東精工株式会社
ねじ締め機
2か月前
株式会社不二越
ドリル
6か月前
株式会社北川鉄工所
回転装置
5か月前
日東精工株式会社
ねじ締め装置
2か月前
株式会社ダイヘン
溶接電源装置
3か月前
株式会社ダイヘン
溶接電源装置
3か月前
日東精工株式会社
ねじ締め装置
4か月前
株式会社ダイヘン
溶接電源装置
3か月前
ダイニチ工業株式会社
配膳治具
14日前
キヤノン電子株式会社
加工装置
11日前
株式会社FUJI
工作機械
1か月前
個人
切削油供給装置
2か月前
続きを見る
他の特許を見る